TOP
|
特許
|
意匠
|
商標
特許ウォッチ
Twitter
他の特許を見る
10個以上の画像は省略されています。
公開番号
2025130944
公報種別
公開特許公報(A)
公開日
2025-09-09
出願番号
2024028352
出願日
2024-02-28
発明の名称
注文システム、注文装置、注文方法、及びプログラム
出願人
グローリー株式会社
代理人
個人
,
個人
主分類
G07G
1/00 20060101AFI20250902BHJP(チェック装置)
要約
【課題】注文装置が注文情報をネットワークを介して送信できない状態でも、注文情報を店員に迅速に報知できるようにする。
【解決手段】顧客から商品又はサービスの注文を受け付ける受付部と、受付部が受け付けた注文に対応する注文情報を出力する出力部と、出力部による注文情報の出力方法を切り替え可能な切替部と、を有する注文装置と、出力部が出力した注文情報をネットワークを介して受信し、注文情報を店員に報知する報知部を有する情報処理装置と、を備え、出力部は、注文情報をネットワークを介して報知部に送信する第1の出力方法と、注文情報をネットワークを介して報知部に送信することなく紙媒体に印字する又は注文装置の画面に表示する第2の出力方法とを有し、切替部は、所定の条件に応じて、出力部による注文情報の出力方法を第1の出力方法と第2の出力方法との間で切り替え可能である、注文システム。
【選択図】図3
特許請求の範囲
【請求項1】
顧客から商品又はサービスの注文を受け付ける受付部と、前記受付部が受け付けた注文に対応する注文情報を出力する出力部と、前記出力部による前記注文情報の出力方法を切り替え可能な切替部と、を有する注文装置と、
前記出力部が出力した前記注文情報をネットワークを介して受信し、前記注文情報を店員に報知する報知部を有する情報処理装置と、
を備え、
前記出力部は、前記注文情報を前記ネットワークを介して前記報知部に送信する第1の出力方法と、前記注文情報を前記ネットワークを介して前記報知部に送信することなく紙媒体に印字する又は前記注文装置の画面に表示する第2の出力方法とを有し、
前記切替部は、所定の条件に応じて、前記出力部による前記注文情報の出力方法を前記第1の出力方法と前記第2の出力方法との間で切り替え可能である、
注文システム。
続きを表示(約 1,900 文字)
【請求項2】
前記注文情報は、前記顧客が注文した前記商品又は前記サービスの識別情報及び数量を含み、前記商品又は前記サービスの料金を含まない、請求項1に記載の注文システム。
【請求項3】
前記所定の条件は、店員が前記出力部による前記注文情報の出力方法を切り替えるよう指示したかどうかであり、
前記切替部は、前記店員が所定の指示手段を用いて前記出力部による前記注文情報の出力方法を切り替えるよう指示した場合、当該指示に応じて、当該出力方法を切り替える、
請求項1に記載の注文システム。
【請求項4】
前記所定の条件は、前記出力部が前記ネットワークを介して前記注文情報を出力可能な状態かどうかであり、
前記切替部は、前記出力部が前記出力可能な状態でない場合、前記出力部による前記注文情報の出力方法を前記第1の出力方法から前記第2の出力方法に切り替える、
請求項1に記載の注文システム。
【請求項5】
前記出力部は、前記第2の出力方法において、前記紙媒体として、前記顧客が前記商品又は前記サービスを注文して決済したことを証明するために当該顧客に渡されるレシート又は当該レシートとは異なるオーダ票に、前記注文情報を印字する、請求項1から請求項4の何れか1項に記載の注文システム。
【請求項6】
前記出力部は、前記第2の出力方法において、前記紙媒体として、前記顧客が前記商品又は前記サービスを注文して決済したことを証明するために当該顧客に渡されるレシート又は当該レシートとは異なるオーダ票に、前記注文情報を含むコードを印字し、
前記コードから前記注文情報を読み取る読取部と、
前記読取部が読み取った前記注文情報を前記店員に通知する通知部と、
を更に備える、請求項1から請求項4の何れか1項に記載の注文システム。
【請求項7】
前記出力部は、前記第2の出力方法において、前記注文情報を含むコードを前記注文装置の画面に表示し、
前記コードから前記注文情報を読み取る読取部と、
前記読取部が読み取った前記注文情報を前記店員に通知する通知部と、
を更に備える、請求項1から請求項4の何れか1項に記載の注文システム。
【請求項8】
前記切替部は、前記出力部による前記注文情報の出力方法が前記第1の出力方法及び前記第2の出力方法の何れであるかに応じて、前記顧客が注文可能な商品又はサービスを切り替える、請求項1から請求項4の何れか1項に記載の注文システム。
【請求項9】
顧客から商品又はサービスの注文を受け付ける受付部と、
前記受付部が受け付けた注文に対応する注文情報を出力する出力部と、
前記出力部による前記注文情報の出力方法を切り替え可能な切替部と、
を備え、
前記出力部は、前記注文情報を店員に報知させるために、前記注文情報をネットワークを介して情報処理装置に送信する第1の出力方法と、前記注文情報を前記ネットワークを介して前記情報処理装置に送信せずに紙媒体に印字する又は自装置の画面に表示する第2の出力方法とを有し、
前記切替部は、所定の条件に応じて、前記出力部による前記注文情報の出力方法を前記第1の出力方法と前記第2の出力方法との間で切り替え可能である、
注文装置。
【請求項10】
注文装置と情報処理装置とを備える注文システムにおいて、
前記注文装置の受付部が、顧客から商品又はサービスの注文を受け付けるステップと、
前記注文装置の出力部が、前記受付部が受け付けた注文に対応する注文情報を出力するステップと、
前記注文装置の切替部が、前記出力部による前記注文情報の出力方法を切り替えるステップと、
前記情報処理装置の報知部が、前記出力部が出力した前記注文情報をネットワークを介して受信し、前記注文情報を店員に報知するステップと、
を含み、
前記出力部は、前記注文情報を前記ネットワークを介して前記報知部に送信する第1の出力方法と、前記注文情報を前記ネットワークを介して前記報知部に送信することなく紙媒体に印字する又は前記注文装置の画面に表示する第2の出力方法とを有し、
前記切替部は、所定の条件に応じて、前記出力部による前記注文情報の出力方法を前記第1の出力方法と前記第2の出力方法との間で切り替え可能である、
注文方法。
(【請求項11】以降は省略されています)
発明の詳細な説明
【技術分野】
【0001】
本発明は、注文システム、注文装置、注文方法、及びプログラムに関する。
続きを表示(約 2,900 文字)
【背景技術】
【0002】
特許文献1には、リモートメンテナンス装置に、端末装置毎に状態の監視および制御を行う監視制御手段と、障害通知手段で出力された電文を受信した時に、この電文に含まれるエラーコードから障害内容を特定し、この障害を復旧するのに必要な情報を獲得する必要情報獲得手段とを備え、必要情報獲得手段は、該当する端末装置の保守マニュアルを獲得するリモートメンテナンスシステムが記載されている。
【先行技術文献】
【特許文献】
【0003】
特開平07-210729号公報
【発明の概要】
【発明が解決しようとする課題】
【0004】
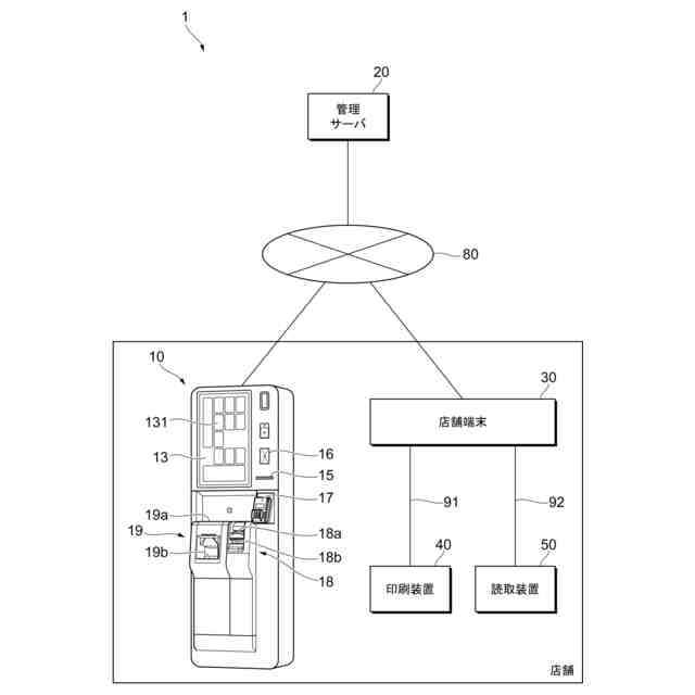
注文装置が注文情報をネットワークを介して情報処理装置へ送信し、情報処理装置が注文情報を受信して店員に報知する注文システムがある。
しかしながら、このような注文システムでは、注文装置が注文情報をネットワークを介して送信できなくなると、注文情報を店員に迅速に報知できなくなってしまう。
ここで、注文装置が注文情報をネットワークを介して送信できない状態を解消できたとしても、注文装置が注文情報をネットワークを介して送信できない状態で、注文情報を店員に迅速に報知できるようにはならない。
また、野外等、注文装置が注文情報をネットワークを介して送信できないことが前提の環境で、注文情報を店員に迅速に報知することはできない。
【0005】
本発明の目的は、注文装置が注文情報をネットワークを介して送信できない状態でも、注文情報を店員に迅速に報知できるようにすることにある。
【課題を解決するための手段】
【0006】
かかる目的のもと、本発明は、顧客から商品又はサービスの注文を受け付ける受付部と、受付部が受け付けた注文に対応する注文情報を出力する出力部と、出力部による注文情報の出力方法を切り替え可能な切替部と、を有する注文装置と、出力部が出力した注文情報をネットワークを介して受信し、注文情報を店員に報知する報知部を有する情報処理装置と、を備え、出力部は、注文情報をネットワークを介して報知部に送信する第1の出力方法と、注文情報をネットワークを介して報知部に送信することなく紙媒体に印字する又は注文装置の画面に表示する第2の出力方法とを有し、切替部は、所定の条件に応じて、出力部による注文情報の出力方法を第1の出力方法と第2の出力方法との間で切り替え可能である、注文システムを提供する。
【0007】
注文情報は、顧客が注文した商品又はサービスの識別情報及び数量を含み、商品又はサービスの料金を含まない、ものであってよい。
所定の条件は、店員が出力部による注文情報の出力方法を切り替えるよう指示したかどうかであり、切替部は、店員が所定の指示手段を用いて出力部による注文情報の出力方法を切り替えるよう指示した場合、指示に応じて、出力方法を切り替える、ものであってよい。
所定の条件は、出力部がネットワークを介して注文情報を出力可能な状態かどうかであり、切替部は、出力部が出力可能な状態でない場合、出力部による注文情報の出力方法を第1の出力方法から第2の出力方法に切り替える、ものであってよい。
出力部は、第2の出力方法において、紙媒体として、顧客が商品又はサービスを注文して決済したことを証明するために顧客に渡されるレシート又はレシートとは異なるオーダ票に、注文情報を印字する、ものであってよい。
出力部は、第2の出力方法において、紙媒体として、顧客が商品又はサービスを注文して決済したことを証明するために顧客に渡されるレシート又はレシートとは異なるオーダ票に、注文情報を含むコードを印字し、コードから注文情報を読み取る読取部と、読取部が読み取った注文情報を店員に通知する通知部と、を更に備える、ものであってよい。
出力部は、第2の出力方法において、注文情報を含むコードを注文装置の画面に表示し、コードから注文情報を読み取る読取部と、読取部が読み取った注文情報を店員に通知する通知部と、を更に備える、ものであってよい。
切替部は、出力部による注文情報の出力方法が第1の出力方法及び第2の出力方法の何れであるかに応じて、顧客が注文可能な商品又はサービスを切り替える、ものであってよい。
【0008】
また、本発明は、顧客から商品又はサービスの注文を受け付ける受付部と、受付部が受け付けた注文に対応する注文情報を出力する出力部と、出力部による注文情報の出力方法を切り替え可能な切替部と、を備え、出力部は、注文情報を店員に報知させるために、注文情報をネットワークを介して情報処理装置に送信する第1の出力方法と、注文情報をネットワークを介して情報処理装置に送信せずに紙媒体に印字する又は自装置の画面に表示する第2の出力方法とを有し、切替部は、所定の条件に応じて、出力部による注文情報の出力方法を第1の出力方法と第2の出力方法との間で切り替え可能である、注文装置も提供する。
【0009】
更に、本発明は、注文装置と情報処理装置とを備える注文システムにおいて、注文装置の受付部が、顧客から商品又はサービスの注文を受け付けるステップと、注文装置の出力部が、受付部が受け付けた注文に対応する注文情報を出力するステップと、注文装置の切替部が、出力部による注文情報の出力方法を切り替えるステップと、情報処理装置の報知部が、出力部が出力した注文情報をネットワークを介して受信し、注文情報を店員に報知するステップと、を含み、出力部は、注文情報をネットワークを介して報知部に送信する第1の出力方法と、注文情報をネットワークを介して報知部に送信することなく紙媒体に印字する又は注文装置の画面に表示する第2の出力方法とを有し、切替部は、所定の条件に応じて、出力部による注文情報の出力方法を第1の出力方法と第2の出力方法との間で切り替え可能である、注文方法も提供する。
【0010】
更にまた、本発明は、コンピュータを、顧客から商品又はサービスの注文を受け付ける受付部と、受付部が受け付けた注文に対応する注文情報を出力する出力部と、出力部による注文情報の出力方法を切り替え可能な切替部と、して機能させ、出力部は、注文情報を店員に報知させるために、注文情報をネットワークを介して情報処理装置に送信する第1の出力方法と、注文情報をネットワークを介して情報処理装置に送信せずに紙媒体に印字する又はコンピュータの画面に表示する第2の出力方法とを有し、切替部は、所定の条件に応じて、出力部による注文情報の出力方法を第1の出力方法と第2の出力方法との間で切り替え可能である、プログラムも提供する。
【発明の効果】
(【0011】以降は省略されています)
この特許をJ-PlatPat(特許庁公式サイト)で参照する
関連特許
グローリー株式会社
物品投出装置
26日前
グローリー株式会社
貨幣処理装置及び貨幣情報出力方法
16日前
グローリー株式会社
遊技管理システム、各台装置及び遊技管理方法
2日前
グローリー株式会社
情報管理システム、情報取得方法およびプログラム
3日前
グローリー株式会社
注文システム、注文装置、注文方法、及びプログラム
26日前
グローリー株式会社
金融店舗システム、及び、金融店舗システムが行う方法
3日前
グローリー株式会社
収納システム、収納システムの制御方法およびプログラム
10日前
グローリー株式会社
紙葉類処理装置、紙葉類処理システムおよび紙葉類処理方法
2日前
株式会社シンクアウト
診断装置、診断システムおよび診断方法
26日前
グローリー株式会社
見守りシステム、見守り装置、見守り方法及び見守りプログラム
1か月前
グローリー株式会社
不正検出装置、不正検出システム、不正検出方法及び不正検出プログラム
6日前
グローリー株式会社
検知装置およびプログラム
5日前
株式会社イシダ
商品処理装置
4日前
株式会社バンダイ
物品供給装置
3か月前
株式会社バンダイ
物品供給装置
2か月前
株式会社バンダイ
物品供給装置
2か月前
株式会社バンダイ
物品供給装置
2か月前
株式会社バンダイ
物品供給装置
3か月前
株式会社バンダイ
物品供給装置
3か月前
株式会社バンダイ
物品供給装置
2か月前
富士電機株式会社
通貨識別装置
2か月前
沖電気工業株式会社
媒体処理装置
1か月前
沖電気工業株式会社
紙幣処理装置
1か月前
沖電気工業株式会社
媒体処理装置
1か月前
沖電気工業株式会社
媒体処理装置
1か月前
富士電機株式会社
自動販売機
1か月前
株式会社ライト
情報処理装置
1か月前
株式会社ライト
情報処理装置
2か月前
株式会社ライト
情報処理装置
1か月前
株式会社デンソー
車載器
2日前
富士電機株式会社
金銭処理装置
2か月前
トヨタ車体株式会社
出入検知装置
3か月前
トヨタ車体株式会社
出入検知装置
3か月前
グローリー株式会社
硬貨処理装置
2か月前
グローリー株式会社
物品投出装置
26日前
日本金銭機械株式会社
硬貨処理装置
6日前
続きを見る
他の特許を見る