TOP
|
特許
|
意匠
|
商標
特許ウォッチ
Twitter
他の特許を見る
10個以上の画像は省略されています。
公開番号
2025138487
公報種別
公開特許公報(A)
公開日
2025-09-25
出願番号
2024037606
出願日
2024-03-11
発明の名称
収納システム、収納システムの制御方法およびプログラム
出願人
グローリー株式会社
代理人
個人
,
個人
主分類
G09F
19/00 20060101AFI20250917BHJP(教育;暗号方法;表示;広告;シール)
要約
【課題】ユーザが収納部の利用時に広告等の画像をより自然に参照することが可能な収納システム、収納システムの制御方法およびプログラムを提供する。
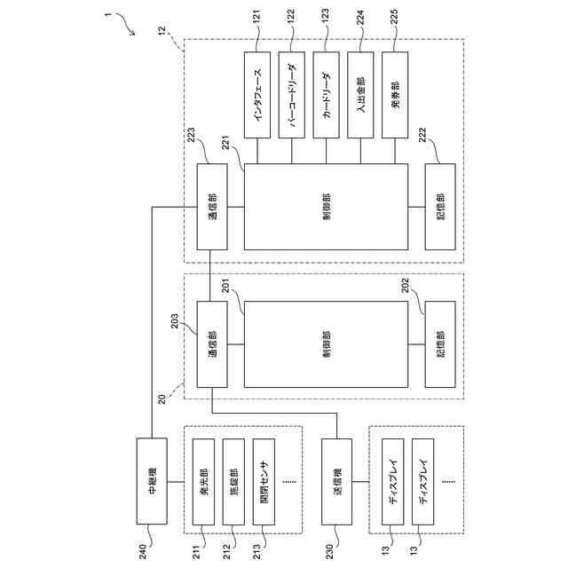
【解決手段】収納システム1は、面内方向に並んで配置され、それぞれ扉11aを有する複数の収納部11と、各々の扉11aに画像を表示させるディスプレイ13と、扉の開放に関する操作がなされた収納部11の情報を出力するインタフェース121と、前記情報により特定される収納部11の位置に応じて、画像を表示する扉11aを設定し、設定した扉11aに対してディスプレイ13に画像を表示させる制御ユニット20と、を備える。
【選択図】図1
特許請求の範囲
【請求項1】
面内方向に並んで配置され、それぞれ扉を有する複数の収納部と、
各々の前記扉に画像を表示させる表示部と、
前記扉の開放に関する操作がなされた前記収納部の情報を出力する出力部と、
前記情報により特定される前記収納部の位置に応じて、前記画像を表示する前記扉を設定し、設定した前記扉に対して前記表示部に画像を表示させる制御部と、を備える、
ことを特徴とする収納システム。
続きを表示(約 1,300 文字)
【請求項2】
請求項1に記載の収納システムにおいて、
前記扉は施錠可能に構成され、
前記扉の解錠の操作を前記収納部ごとに受け付けるインタフェースを備え、
前記インタフェースは、前記インタフェースに対して解錠の操作がなされた前記収納部を特定する情報を、前記扉の開放に関する操作がなされた前記収納部の前記情報として出力する、
ことを特徴とする収納システム。
【請求項3】
請求項2記載の収納システムにおいて、
前記制御部は、前記インタフェースに対して解錠の操作がなされてから前記扉の開放がなされるまでは、前記情報により特定される前記収納部の前記扉を前記画像の表示対象に含め、前記扉の開放後は、前記情報により特定される前記収納部の前記扉を前記画像の表示対象から外す、
ことを特徴とする収納システム。
【請求項4】
請求項1に記載の収納システムにおいて、
前記扉の開放を検出するセンサを備え、
前記センサは、前記扉の開放に応じた検出結果を、前記扉の開放に関する操作がなされた前記収納部の情報として出力する、
ことを特徴とする収納システム。
【請求項5】
請求項1に記載の収納システムにおいて、
前記制御部は、前記扉の開放に関する操作がなされた前記収納部の前記扉を、前記画像を表示する前記扉に含める、
ことを特徴とする収納システム。
【請求項6】
請求項1に記載の収納システムにおいて、
前記制御部は、前記扉の開放に関する操作がなされた前記収納部の近傍の所定の前記扉を、前記画像を表示する前記扉に含める、
ことを特徴とする収納システム。
【請求項7】
請求項6に記載の収納システムにおいて、
前記制御部は、前記扉の開放に関する操作がなされた前記収納部に隣り合う所定の前記収納部の前記扉を、前記画像を表示する前記扉に含める、
ことを特徴とする収納システム。
【請求項8】
請求項7に記載の収納システムにおいて、
前記制御部は、前記扉の開放に関する操作がなされた前記収納部に対して、前記扉の開放方向に隣り合う前記収納部の扉を、前記画像を表示する前記扉から外す、
ことを特徴とする収納システム。
【請求項9】
請求項1に記載の収納システムにおいて、
前記制御部は、前記扉の開放に関する操作がなされていない場合に、所定の前記扉に画像を表示させ、前記操作がなされていない場合の前記画像と前記操作がなされた場合の前記画像とを相違させる、
ことを特徴とする収納システム。
【請求項10】
請求項9に記載の収納システムにおいて、
前記制御部は、前記操作がなされていない場合に前記画像を表示させる前記扉の数より、前記操作がなされた場合に前記画像を表示させる前記扉の数を減少させる、
ことを特徴とする収納システム。
(【請求項11】以降は省略されています)
発明の詳細な説明
【技術分野】
【0001】
本発明は、面内方向に並んで配置された複数の収納部を有する収納システム、当該収納システムの制御方法およびプログラムに関する。
続きを表示(約 1,500 文字)
【背景技術】
【0002】
駅や商業施設では、荷物の一時預かりのためのロッカーが設置されている。通常、ロッカーには、複数の収納部が面内方向にマトリクス状に並んで配置されている。最近では、各々の収納部の空き状況や解錠および施錠が、制御ユニットによって集中管理される。ユーザは、制御ユニットに接続されたインタフェースを介して、所望の収納部を利用できる。
【0003】
以下の特許文献1には、各々の収納部の扉にディスプレイが設置されたロッカーと、ロッカーの開閉状態を制御する制御装置とを備えた収納装置が記載されている。この収納装置では、画像を扉ごとに独立して表示する独立表示モードと、複数のディスプレイ全体に一体的な画像を連携して表示する全体画面表示モードとが、制御装置により実行される。独立表示モードでは、ロッカーを使用するための使用情報(空き/使用中の情報)が提供され、全体画面表示モードでは、所定の広告が表示される。
【先行技術文献】
【特許文献】
【0004】
特開2023-137333号公報
【発明の概要】
【発明が解決しようとする課題】
【0005】
広告主にとっては、ロッカーに表示された広告が、なるべく多くの通行人によって注視されることが望ましい。しかし、通行人の多くは、ロッカーを意識せず通り過ぎる可能性が高い。また、ロッカー前の通路が混雑すると、そもそも広告自体が通行人から見えないこともある。
【0006】
このような状況下でも、ロッカーを利用するユーザであれば、広告に注目する可能性が高い。この場合、上記特許文献1のように、通行人を対象とした大きなサイズで広告が表示されると、広告のサイズに対してユーザと広告との距離が近すぎるため、ユーザは、広告の内容を円滑に把握できない。また、ユーザは、自身が利用する収納部から離れた位置に広告が表示されても、収納部の利用時に広告を自然に参照できない。したがって、収納部の利用時に、より自然にユーザが参照できるよう、各々の収納部の扉に広告を表示させる必要がある。
【0007】
かかる課題に鑑み、本発明は、ユーザが収納部の利用時に広告等の画像をより自然に参照することが可能な収納システム、収納システムの制御方法およびプログラムを提供することを目的とする。
【課題を解決するための手段】
【0008】
本発明の第1の態様は、収納システムに関する。この態様に係る収納システムは、面内方向に並んで配置され、それぞれ扉を有する複数の収納部と、各々の前記扉に画像を表示させる表示部と、前記扉の開放に関する操作がなされた前記収納部の情報を出力する出力部と、前記情報により特定される前記収納部の位置に応じて、前記画像を表示する前記扉を設定し、設定した前記扉に対して前記表示部に画像を表示させる制御部と、を備える。
【0009】
本態様に係る収納システムによれば、ユーザにより扉の開放に関する操作がなされた収納部の位置に応じて、画像を表示するための扉が設定される。よって、ユーザは、自身の収納部の利用時に、広告等の画像を自然に参照できる。
【0010】
本態様に係る収納システムにおいて、前記扉は施錠可能に構成され、前記扉の解錠の操作を前記収納部ごとに受け付けるインタフェースを備え、前記インタフェースは、前記インタフェースに対して解錠の操作がなされた前記収納部を特定する情報を、前記扉の開放に関する操作がなされた前記収納部の前記情報として出力するよう構成され得る。
(【0011】以降は省略されています)
この特許をJ-PlatPat(特許庁公式サイト)で参照する
関連特許
個人
回転式カード学習具
29日前
個人
時刻表示機能つき手帳
1か月前
日本精機株式会社
表示装置
7日前
日本精機株式会社
表示装置
1か月前
個人
計算用教具
3日前
中国電力株式会社
標示旗
13日前
日本精機株式会社
車両用表示装置
1か月前
日本精機株式会社
車両用表示装置
1か月前
日本精機株式会社
車両用表示装置
1か月前
個人
モデルで薔薇の花嫁様を描く為
24日前
日本精機株式会社
車両用センサ装置
3日前
トヨタ自動車株式会社
評価方法
2か月前
株式会社一弘社
情報表示板
1か月前
シャープ株式会社
表示装置
14日前
個人
音楽教材
1か月前
個人
口唇閉鎖の訓練具
2か月前
ニチレイマグネット株式会社
磁着式電飾装置
13日前
株式会社半導体エネルギー研究所
半導体装置
1か月前
株式会社リコー
画像投射システム
14日前
株式会社ノジマ
応対体験システム
2か月前
個人
サインポスト
2か月前
学校法人関西医科大学
腹腔鏡手術訓練装置
13日前
シチズンファインデバイス株式会社
液晶表示装置
1か月前
シチズンファインデバイス株式会社
液晶表示装置
22日前
BEST株式会社
吊り下げ表示部材
1か月前
株式会社バンダイ
情報処理装置およびプログラム
2か月前
株式会社サンゲツ
見本帳
1か月前
シャープ株式会社
表示装置
1か月前
シャープ株式会社
表示装置
1か月前
個人
ピアノの指トレーニング器具及び練習方法
2か月前
セイコーエプソン株式会社
表示方法
22日前
セイコーエプソン株式会社
表示方法
22日前
ニデックインスツルメンツ株式会社
情報処理装置
2か月前
ニプロ株式会社
シミュレータ
1か月前
TOPPANホールディングス株式会社
ラベル
3日前
キヤノン株式会社
発光装置
6日前
続きを見る
他の特許を見る