TOP
|
特許
|
意匠
|
商標
特許ウォッチ
Twitter
他の特許を見る
公開番号
2025143856
公報種別
公開特許公報(A)
公開日
2025-10-02
出願番号
2024043319
出願日
2024-03-19
発明の名称
蟻酸分解装置及び水素供給システム
出願人
飯田グループホールディングス株式会社
,
公立大学法人大阪
代理人
個人
,
個人
,
個人
主分類
B01J
31/28 20060101AFI20250925BHJP(物理的または化学的方法または装置一般)
要約
【課題】触媒担持材、該触媒担持材を用いて効率的に蟻酸を分解できる蟻酸分解装置、および蟻酸から水素をエネルギー源として安全且つ効率よく供給することができる水素供給システムを提供する。
【解決手段】触媒担持材は、ポリビニルピロリドン中に配位・分散させた白金微粒子と、陽イオン性高分子との混合物を、PVAなどの担持部材上に担持させてなる。蟻酸分解装置は、前記触媒担持材を配置した触媒塔、触媒塔に蟻酸を循環供給する循環ポンプと、発生した水素混合ガスを回収する回収経路などを備える。また、水素供給システムは、水と二酸化炭素から蟻酸を生成する電気化学セルを持つ蟻酸生成装置、蟻酸を水素と二酸化炭素に分解する前記蟻酸分解装置と、得られた水素で駆動する水素エンジンと、水素エンジンの駆動源による発電部と、を有する発電機と、を備え、蟻酸分解で得られた二酸化炭素は、蟻酸生成装置に循環させる経路をさらに備える。
【選択図】図4
特許請求の範囲
【請求項1】
蟻酸を水素と二酸化炭素に分解する触媒担持材であって、
白金微粒子を水溶性高分子であるポリビニルピロリドンにより分散した分散液と、陽イオン性高分子との混合物が、担持部材上に担持されてなることを特徴とする触媒担持材。
続きを表示(約 970 文字)
【請求項2】
前記担持部材は、高分子化合物から形成されたシート状の部材であることを特徴とする請求項1に記載の触媒担持材。
【請求項3】
前記担持部材は、高分子化合物から形成されたビーズ状の部材であることを特徴とする請求項1に記載の触媒担持材。
【請求項4】
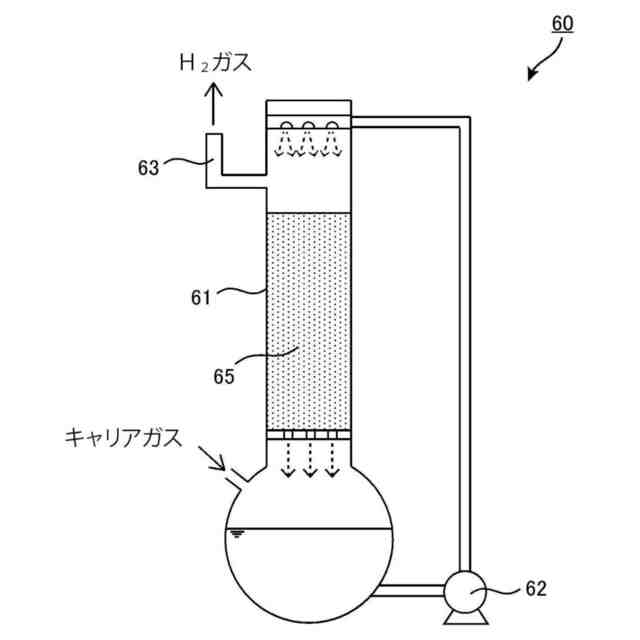
蟻酸を水素と二酸化炭素に分解するための蟻酸分解装置であって、
少なくとも、
触媒反応により蟻酸を分解する触媒塔と、
蟻酸を前記触媒塔に循環供給する循環ポンプと、
発生した水素と二酸化炭素の混合ガスを回収する回収経路と、
を備え、
前記触媒塔には、請求項1に記載の触媒担持材が配置され、前記蟻酸は該触媒担持材に接触しながら、前記触媒塔の中を通過していくことを特徴とする蟻酸分解装置。
【請求項5】
前記触媒塔に対してキャリアガスを供給する手段を備え、該キャリアガスにより前記回収経路から水素と二酸化炭素の混合ガスを回収することを特徴とする請求項4に記載の蟻酸分解装置。
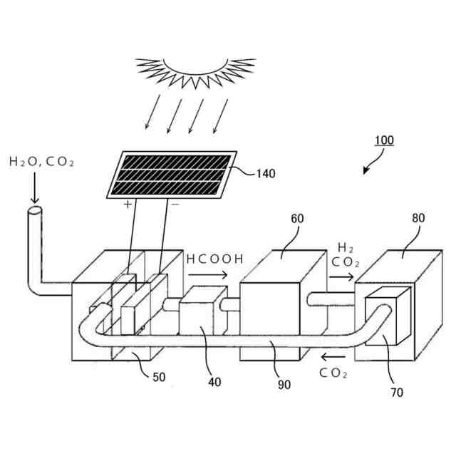
【請求項6】
水と大気中あるいは排気ガス中の二酸化炭素から電気化学セルにより蟻酸を生成する蟻酸生成装置と、
前記蟻酸生成装置により生成された蟻酸を貯蔵する蟻酸貯蔵タンクと、
前記蟻酸貯蔵タンクから供給される蟻酸を、常温・常圧の脱酸素環境下で、触媒担持材上の触媒反応により水素と二酸化炭素に分解する請求項4に記載の蟻酸分解装置と、
前記蟻酸分解装置から供給される前記水素と前記二酸化炭素のうち前記水素を燃料として駆動する水素エンジンと、前記水素エンジンを駆動源とする発電部と、を有する発電機と、
を備え、
前記蟻酸分解装置から供給された前記水素と前記二酸化炭素のうち前記発電機から未反応で排出された二酸化炭素を前記蟻酸生成装置に循環させる経路をさらに備えることを特徴とする水素供給システム。
【請求項7】
前記電気化学セルは全固体型であることを特徴とする請求項6に記載の水素供給システム。
【請求項8】
前記電気化学セルによる蟻酸生成の反応には太陽光発電を利用することを特徴とする請求項6に記載の水素供給システム。
発明の詳細な説明
【技術分野】
【0001】
本発明は、触媒担持材、蟻酸分解装置及び水素供給システムに関する。
続きを表示(約 1,400 文字)
【背景技術】
【0002】
日々の生活で利用するエネルギーとして、これまでは石炭や石油等の化石燃料が広く使用されてきたが、近年では資源の枯渇、二酸化炭素などによる地球温暖化等の問題があり、これらに代わる代替エネルギーとして水素エネルギーが注目されている。また、クリーンエネルギーの代表として太陽光エネルギーの利用が挙げられる。
【0003】
例えば、太陽光発電などで生み出した電力で水を電気分解して水素を取り出し、その水素を燃料資源とする燃料電池や水素エンジンが開発されており、自動車や家庭用発電設備など、様々な用途への応用が期待されている。
【0004】
一方で、水素は貯蔵・運搬することが難しい物質であるため、蟻酸(HCOOH)を水素源の中間物質として生成し、貯蔵する技術が研究されている。蟻酸は常温で液体であり、エネルギー密度も高いため、貯蔵物質として優れている。
【0005】
出願人らは、過去に特許文献1に記載の水素供給システム及び水素供給方法を提案している。特許文献1に記載の発明は、水と大気中あるいは排気ガス中の二酸化炭素から人工光合成により蟻酸を生成する蟻酸生成装置と、蟻酸生成装置により生成された蟻酸を貯蔵する蟻酸貯蔵タンクと、蟻酸貯蔵タンクから供給される蟻酸を、常温・常圧の脱酸素環境下で、触媒反応により水素と二酸化炭素に分解する蟻酸分解装置と、蟻酸分解装置から供給される水素を燃料として駆動する水素エンジンと、水素エンジンを駆動源とする発電部を有する発電機を備える水素供給システムである。
【0006】
特許文献1では、蟻酸生成デバイスの例として、基板の表面に酸化チタン微粒子、色素、ビオローゲン化合物の混合物が塗布されたものが記載されており、蟻酸分解装置の例として、白金微粒子を水溶性高分子であるポリビニルピロリドン(以下、単に水溶性高分子ポリビニルピロリドンと称す。)により分散させてなる触媒により、常温・常圧の脱酸素環境下で、蟻酸を水素と二酸化炭素に分解することが記載されている。
【0007】
出願人らは、特許文献1に記載の発明を提案した後も、さらなる蟻酸生成量の向上を目指して鋭意検討を行ってきた。例えば、特許文献1に記載の白金微粒子を水溶性高分子ポリビニルピロリドンにより分散させてなる触媒に関しては、複数回繰り返して使用することが難しいといった課題があった。
【先行技術文献】
【特許文献】
【0008】
特許第7133819号公報
【発明の概要】
【発明が解決しようとする課題】
【0009】
本発明は、このような状況を鑑みてなされたものであり、複数回使用することが可能で利便性に優れた触媒担持材、このような触媒担持材を用いて効率的に蟻酸を分解できる蟻酸分解装置、そして、蟻酸から水素をエネルギー源として安全且つ効率よく供給することができる水素供給システムを提供することを目的とする。
【課題を解決するための手段】
【0010】
本発明の一態様は、蟻酸を水素と二酸化炭素に分解する触媒担持材であって、白金微粒子を水溶性高分子ポリビニルピロリドンにより分散した分散液と、陽イオン性高分子との混合物が、担持部材上に担持されてなることを特徴とする。
(【0011】以降は省略されています)
この特許をJ-PlatPat(特許庁公式サイト)で参照する
関連特許
ユニチカ株式会社
複合中空糸膜
5日前
東レ株式会社
中空糸膜モジュール
4日前
株式会社ニクニ
液体処理装置
18日前
株式会社大善
濃縮脱水機
28日前
日本化薬株式会社
メタノール改質触媒
19日前
三機工業株式会社
ろ過装置
1か月前
株式会社MRT
微細バブル発生装置
8日前
株式会社カネカ
濃縮システム
1か月前
テルモ株式会社
ろ過デバイス
29日前
株式会社カネカ
製造システム
1か月前
日本ソリッド株式会社
水中懸濁物質付着素材
27日前
東京理化器械株式会社
クリップ
12日前
株式会社Tornada
気泡発生装置
1か月前
株式会社笹山工業所
濁水処理システム
8日前
個人
攪拌装置
8日前
株式会社切川物産
撹拌混合装置
1か月前
ヤマシンフィルタ株式会社
フィルタ装置
6日前
ノリタケ株式会社
ガス吸収シート
19日前
ヤマシンフィルタ株式会社
フィルタ装置
26日前
ダイハツ工業株式会社
二酸化炭素分解装置
27日前
株式会社福島県南環境衛生センター
処理装置
1か月前
浙江漢信科技有限公司
攪拌装置
1か月前
杉山重工株式会社
回転円筒型反応装置
8日前
東レ株式会社
多孔中実繊維、繊維束および浄化カラム
27日前
中外炉工業株式会社
ガス発生装置及び窒化装置
28日前
靜甲株式会社
高圧損発生ユニット並びに充填装置
26日前
本田技研工業株式会社
二酸化炭素回収装置
6日前
本田技研工業株式会社
二酸化炭素回収装置
6日前
本田技研工業株式会社
二酸化炭素回収装置
4日前
本田技研工業株式会社
分離システム
8日前
本田技研工業株式会社
二酸化炭素回収装置
6日前
個人
生分解性蓄熱マイクロカプセルおよびその製造方法
27日前
株式会社インパクト
消臭剤又は消臭紙の製造方法
11日前
セイコーエプソン株式会社
気体分離膜
8日前
個人
廃液を加速回収し浄化する蒸留機の構造
1か月前
水ing株式会社
沈降促進装置
28日前
続きを見る
他の特許を見る