TOP
|
特許
|
意匠
|
商標
特許ウォッチ
Twitter
他の特許を見る
10個以上の画像は省略されています。
公開番号
2025144044
公報種別
公開特許公報(A)
公開日
2025-10-02
出願番号
2024043617
出願日
2024-03-19
発明の名称
窓用ステー及び開き窓
出願人
株式会社LIXIL
代理人
個人
,
個人
,
個人
主分類
E05D
15/44 20060101AFI20250925BHJP(錠;鍵;窓または戸の付属品;金庫)
要約
【課題】障子を安定して開閉動作させることができる高品質の窓用ステー、及びその窓用ステーを備える開き窓を提供すること。
【解決手段】金属製のベースプレートと、ベースプレートの長さ方向に沿って摺動可能に設けられるキャリッジと、金属製の第1リンクプレートと、金属製の第2リンクプレートと、金属製の可動プレートと、を備え、障子を窓枠の内側に収容する閉鎖位置と、障子を窓枠から一方向に押し出す第1の押出位置と、障子を窓枠から第1の押出位置よりも一方向に押し出す第2の押出位置に配置する窓用ステーであって、キャリッジは、ベースプレートに摺動可能に取り付けられる樹脂製のキャリッジ本体と、キャリッジ本体に設けられる金属プレート部材と、を有し、第1リンクプレートの一端部は、金属プレート部材に揺動可能に接続される。
【選択図】図5
特許請求の範囲
【請求項1】
窓枠への取り付け部を構成する金属製のベースプレートと、
前記ベースプレートの長さ方向に沿って摺動可能に設けられるキャリッジと、
一端部において前記キャリッジに揺動可能に接続される金属製の第1リンクプレートと、
一端部において前記ベースプレートに揺動可能に接続される金属製の第2リンクプレートと、
前記窓枠に納められる障子への取り付け部を構成し、前記第1リンクプレートの他端部と前記第2リンクプレートの他端部とがそれぞれ揺動可能に接続される金属製の可動プレートと、を備え、
前記キャリッジが、前記ベースプレートの一端部に配置された状態で、前記可動プレートは、前記障子を前記窓枠の内側に収容する閉鎖位置と、前記障子を前記窓枠から一方向に押し出す第1の押出位置と、の間で揺動可能に設けられ、
前記キャリッジが、前記ベースプレートの一端部から前記ベースプレートと前記第2リンクプレートとの接続部に向けて摺動した状態で、前記可動プレートは、前記障子を前記窓枠から前記第1の押出位置よりも前記一方向に押し出す第2の押出位置に配置される窓用ステーであって、
前記キャリッジは、
前記ベースプレートに摺動可能に取り付けられる樹脂製のキャリッジ本体と、
前記キャリッジ本体に設けられる金属プレート部材と、を有し、
前記第1リンクプレートの前記一端部は、前記金属プレート部材に揺動可能に接続される、窓用ステー。
続きを表示(約 440 文字)
【請求項2】
前記金属プレート部材は、前記キャリッジ本体にねじ止めされる、請求項1に記載の窓用ステー。
【請求項3】
前記キャリッジは、前記金属プレート部材と前記キャリッジ本体との取り付け部位を覆い隠すカバー部材を有する、請求項2に記載の窓用ステー。
【請求項4】
前記金属プレート部材は、前記キャリッジ本体にインサート成形された一体成形品である、請求項1に記載の窓用ステー。
【請求項5】
前記金属プレート部材は、前記キャリッジ本体に樹脂カシメによって一体化されている、
請求項1に記載の窓用ステー。
【請求項6】
窓枠と、
前記窓枠の内側に開閉可能に納められる障子と、
請求項1~5のいずれか1項に記載の窓用ステーと、を備え、
前記窓用ステーの前記ベースプレートが、前記窓枠の見込み面に取り付けられ、前記可動プレートが、前記障子の見込み面に取り付けられる、開き窓。
発明の詳細な説明
【技術分野】
【0001】
本開示は、窓用ステー及び開き窓に関する。
続きを表示(約 2,600 文字)
【背景技術】
【0002】
従来、窓枠と障子とに亘って取り付けられ、障子を窓枠に対して室外側に向けて押し出すことによって窓を開放するように構成される開き窓に用いられる窓用ステーが知られている(例えば、特許文献1参照)。
【0003】
窓用ステーは、窓枠の見込み面に取り付けられる金属製のベースプレートに、キャリッジが摺動可能に取り付けられる。キャリッジには金属製の第1リンクプレートが揺動可能に接続され、ベースプレートには金属製の第2リンクプレートが揺動可能に接続される。第1リンクプレートと第2リンクプレートとに亘って金属製の可動プレートが揺動可能に接続される。可動プレートは、障子の見込み面に取り付けられる。窓用ステーは、キャリッジがベースプレートの一端部に配置された状態において、障子を閉鎖位置と室外側に向けて斜めに押し出す押出位置との間で移動させる。
【0004】
通常、キャリッジは、ベースプレートの一端部に保持され、解除ボタンの押下操作によって、ベースプレートと第2リンクプレートとの接続部に向けて摺動可能に構成される。窓用ステーは、キャリッジがベースプレートと第2リンクプレートとの接続部の近傍まで摺動することによって、障子をさらに室外側に向けて大きく押し出すことができる。これによって、窓枠の内側が大きく開放され、室内側から障子の室外側の面を容易に清掃することができる。
【先行技術文献】
【特許文献】
【0005】
特表2019-536927号公報
【発明の概要】
【発明が解決しようとする課題】
【0006】
キャリッジは、第1リンクプレートとの接続部を構成するとともに、ベースプレートに摺動可能に取り付けるための複雑な構造を有する。窓用ステー及び開き窓のコストを抑制する観点からは、キャリッジは樹脂製であることが望ましい。しかしながら、その場合、キャリッジと第1リンクプレートとの接続部は、樹脂と金属との接続部となり、金属同士の接続部を構成するプレート同士の接続部とは異質の接続構造を有することとなる。その結果、各プレートの接続部の品質が不均一となり、障子を長期に亘って安定して開閉動作させる観点で改善の余地がある。
【0007】
本開示は、障子を安定して開閉動作させることができる高品質の窓用ステー、及びその窓用ステーを備える開き窓を提供することを目的とする。
【課題を解決するための手段】
【0008】
本開示は、窓枠への取り付け部を構成する金属製のベースプレートと、前記ベースプレートの長さ方向に沿って摺動可能に設けられるキャリッジと、一端部において前記キャリッジに揺動可能に接続される金属製の第1リンクプレートと、一端部において前記ベースプレートに揺動可能に接続される金属製の第2リンクプレートと、前記窓枠に納められる障子への取り付け部を構成し、前記第1リンクプレートの他端部と前記第2リンクプレートの他端部とがそれぞれ揺動可能に接続される金属製の可動プレートと、を備え、前記キャリッジが、前記ベースプレートの一端部に配置された状態で、前記可動プレートは、前記障子を前記窓枠の内側に収容する閉鎖位置と、前記障子を前記窓枠から一方向に押し出す第1の押出位置と、の間で揺動可能に設けられ、前記キャリッジが、前記ベースプレートの一端部から前記ベースプレートと前記第2リンクプレートとの接続部に向けて摺動した状態で、前記可動プレートは、前記障子を前記窓枠から前記第1の押出位置よりも前記一方向に押し出す第2の押出位置に配置される窓用ステーであって、前記キャリッジは、前記ベースプレートに摺動可能に取り付けられる樹脂製のキャリッジ本体と、前記キャリッジ本体に設けられる金属プレート部材と、を有し、前記第1リンクプレートの前記一端部は、前記金属プレート部材に揺動可能に接続される、窓用ステーに関する。
【図面の簡単な説明】
【0009】
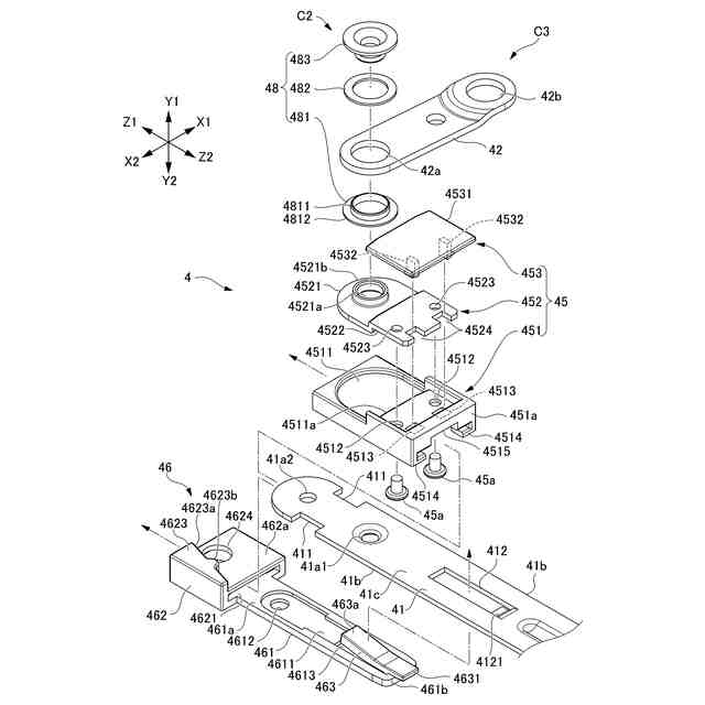
障子が第1の押出位置に配置された開き窓の斜視図である。
図1に示す開き窓の縦断面図である。
図1に示す開き窓の障子に取り付けられた窓用ステーを裏面側から見た側面図である。
図1に示す開き窓の窓用ステーのみを表面側から見た側面図である。
窓用ステーのベースプレートの一端部を分解して示す斜視図である。
窓用ステーのキャリッジを背面側から見た斜視図である。
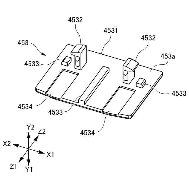
窓用ステーのキャリッジに設けられる金属プレート部材を表面側から見た斜視図である。
窓用ステーのキャリッジに取り付けられるカバー部材を裏面側から見た斜視図である。
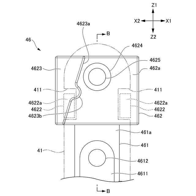
窓用ステーのストッパ部材の一部を示す図である。
図9中のB-B線に沿う断面図である。
図4中のA-A線に沿う断面図である。
解除ボタンを解除位置に配置した窓用ステーを図4中のA-A線と同じ線に沿って切断した断面図である。
ベースプレートと第2リンクプレートとの接続部位を分解して示す斜視図である。
障子が第2の押出位置に配置された開き窓の斜視図である。
キャリッジを摺動させた窓用ステーを表面側から見た側面図である。
障子が閉鎖位置に配置された開き窓の縦断面図である。
障子が閉鎖位置に配置された開き窓における窓用ステーの一部を表面側から見た側面図である。
【発明を実施するための形態】
【0010】
以下、本開示の実施形態について図面を参照して詳細に説明する。図1及び図2に示すように、開き窓1は、窓枠2と、障子3と、一対の窓用ステー4,4と、を有して構成される。本実施形態に示す開き窓1は、障子3が室外側X1に向けて下り傾斜するように、障子3の下端側を室外側X1に押し出すことによって窓開口を開放するように構成される横辷り出し窓を例示している。但し、本開示の開き窓は、横辷り出し窓に限定されず、障子の左右のいずれか一方端側を室外側X1に押し出すことによって窓開口を開放するように構成される縦辷り出し窓であってもよい。
(【0011】以降は省略されています)
この特許をJ-PlatPat(特許庁公式サイト)で参照する
関連特許
株式会社LIXIL
洗浄水タンク装置
4日前
株式会社LIXIL
可燃性ガス回収装置
4日前
株式会社LIXIL
建具および建具の改装方法
4日前
株式会社LIXIL
建具および建具の改装方法
4日前
株式会社LIXIL
建具および建具の改装方法
4日前
株式会社LIXIL
トイレ装置及びトイレシステム
4日前
株式会社LIXIL
トイレ装置、トイレシステム及び排卵推測装置
4日前
株式会社LIXIL
太陽光発電給電シート、建物およびペリカバー
4日前
株式会社LIXIL
駆逐装置、駆逐システム、駆逐方法および駆逐プログラム
4日前
株式会社LIXIL
改装サッシ
4日前
株式会社LIXIL
汚水処理装置、汚水処理システム、および汚水処理システムの施工方法
4日前
株式会社LIXIL
ホームシステム、サーバ、オーナー認証方法およびオーナー認証プログラム
4日前
株式会社LIXIL
ホームシステム、サーバ、ユーザ登録初期化方法およびユーザ登録初期化プログラム
4日前
個人
物品保管箱
1か月前
個人
防犯用ドア装置
2か月前
個人
ピンシリンダー錠。
3か月前
リョービ株式会社
ヒンジ装置
4か月前
個人
ポスト機能付き手提げ金庫
1か月前
個人
二重ロック機能付小物入れ
2か月前
個人
顔認証による入室システム
2か月前
株式会社ニシムラ
ラッチ錠
3か月前
株式会社SKB
引き戸装置
4か月前
ミサワホーム株式会社
錠受具
3か月前
三協立山株式会社
開口部装置
1か月前
リョービ株式会社
ドアクローザ
5か月前
株式会社アルファ
電気錠
2か月前
個人
無人貸金庫システム
11日前
リョービ株式会社
ドアクローザ
2か月前
リョービ株式会社
ドアクローザ
2か月前
積水ハウス株式会社
引き戸
20日前
積水ハウス株式会社
引き戸
8日前
株式会社ベスト
扉及び個室
8日前
タキゲン製造株式会社
抜差し蝶番
3か月前
株式会社ベスト
開き扉の開閉装置
1か月前
マツ六株式会社
引戸用鎌錠
4か月前
株式会社榮伸
カバン蓋の係止装置
1か月前
続きを見る
他の特許を見る