TOP
|
特許
|
意匠
|
商標
特許ウォッチ
Twitter
他の特許を見る
10個以上の画像は省略されています。
公開番号
2025144107
公報種別
公開特許公報(A)
公開日
2025-10-02
出願番号
2024043722
出願日
2024-03-19
発明の名称
情報処理装置、情報処理方法、及び、プログラム
出願人
横河電機株式会社
代理人
個人
,
個人
,
個人
,
個人
主分類
G01N
27/83 20060101AFI20250925BHJP(測定;試験)
要約
【課題】より高い精度で測定対象の周辺における物理量を検出可能にする。
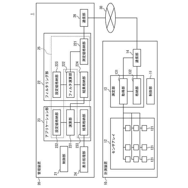
【解決手段】複数のセンサが二次元状に配列されたセンサアレイにより測定された、物理量の測定値であるアレイ測定値を取得し、取得された前記アレイ測定値からノイズを除去するフィルタリングを行って、真の物理量の推定値を取得し、取得された前記推定値に基づき、測定対象の状態に関する情報を出力する、制御部を備え、前記制御部は、互いに隣接する前記センサの間における前記測定値の差分の大きさに基づき、前記複数のセンサの個体差に基づくノイズであるセンサノイズの影響を排除して、前記フィルタリングを行う。
【選択図】図1
特許請求の範囲
【請求項1】
複数のセンサが二次元状に配列されたセンサアレイにより測定された、物理量の測定値であるアレイ測定値を取得し、
取得された前記アレイ測定値からノイズを除去するフィルタリングを行って、真の物理量の推定値を取得し、
取得された前記推定値に基づき、測定対象の状態に関する情報を出力する、
制御部を備え、
前記制御部は、
互いに隣接する前記センサの間における前記測定値の差分の大きさに基づき、前記複数のセンサの個体差に基づくノイズであるセンサノイズの影響を排除して、前記フィルタリングを行う、
情報処理装置。
続きを表示(約 1,300 文字)
【請求項2】
前記制御部は、
複数のタイミングに前記センサアレイにより測定された複数の前記アレイ測定値を取得し、
前記センサノイズに関する統計的分布を定める母数を、前記複数のアレイ測定値に基づく最尤法により取得し、
取得した前記母数を用いて、前記フィルタリングを行う、
請求項1に記載の情報処理装置。
【請求項3】
前記複数のアレイ測定値に基づいて、前記複数のセンサの各々における測定値のばらつきに基づくノイズである時間ノイズを推定し、
推定された前記時間ノイズを更に用いて前記フィルタリングを行う、
請求項2に記載の情報処理装置。
【請求項4】
前記制御部は、
前記複数のアレイ測定値の各々と、前記推定値との差分を計算して、複数の残差を取得し、
前記複数のセンサのうち、互いに隣接する前記センサの間における、前記複数の残差の値の差分の大きさに基づいて、前記母数の適切さを示す評価指標を取得し、
前記評価指標に基づき、前記母数を更新する、
請求項2に記載の情報処理装置。
【請求項5】
前記制御部は、前記評価指標として、前記複数の残差に含まれる共通成分の統計的分布を定める母数を、前記複数の残差に基づく最尤法により取得する、
請求項4に記載の情報処理装置。
【請求項6】
前記制御部は、
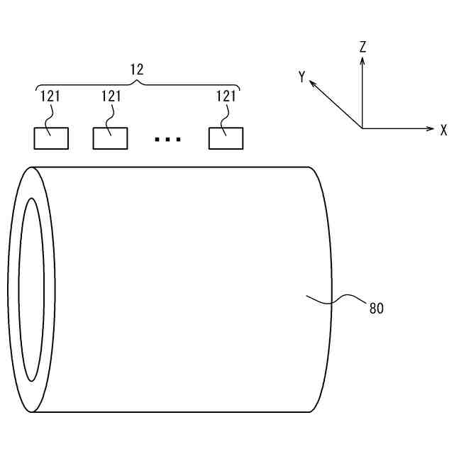
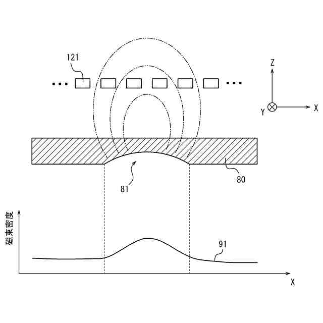
前記アレイ測定値として、磁性体である前記測定対象の周辺の磁束密度の測定値を取得し、
前記測定対象の状態に関する情報として、前記測定対象における減肉の有無及び前記減肉の深さを出力する、
請求項1から5のいずれか一項に記載の情報処理装置。
【請求項7】
制御部を備える情報処理装置の情報処理方法であって、
前記制御部が、
複数のセンサが二次元状に配列されたセンサアレイにより測定された、物理量の測定値であるアレイ測定値を取得ことと、
取得された前記アレイ測定値からノイズを除去するフィルタリングを行って、真の物理量の推定値を取得することと、
取得された前記推定値に基づき、測定対象の状態に関する情報を出力することと、
を含み、
前記制御部は、
互いに隣接する前記センサの間における前記測定値の差分の大きさに基づき、前記複数のセンサの個体差に基づくノイズであるセンサノイズの影響を排除して前記フィルタリングを行う、
情報処理方法。
【請求項8】
コンピュータに、
複数のセンサが二次元状に配列されたセンサアレイにより測定された、物理量の測定値であるアレイ測定値を取得することと、
取得された前記アレイ測定値からノイズを除去するフィルタリングを行って、真の物理量の推定値を取得することと、
取得された前記推定値に基づき、測定対象の状態に関する情報を出力することと、
を含む手順を実行させ、
互いに隣接する前記センサの間における前記測定値の差分の大きさに基づき、前記複数のセンサの個体差に基づくノイズであるセンサノイズの影響を排除して前記フィルタリングを行う、
プログラム。
発明の詳細な説明
【技術分野】
【0001】
本開示は、情報処理装置、情報処理方法、及び、プログラムに関する。
続きを表示(約 1,300 文字)
【背景技術】
【0002】
特許文献1には、強磁性体である測定対象の周辺の磁界を感知して、測定対象の減肉に基づく異常を検出することが記載されている。
【先行技術文献】
【特許文献】
【0003】
特開2021-163161号公報
【発明の概要】
【発明が解決しようとする課題】
【0004】
しかし、従来の構成は、測定対象の周辺における物理量の検出精度に改善の余地があった。
【0005】
そこで、本開示は、より高い精度で測定対象の周辺における物理量を検出可能にすることを目的とする。
【課題を解決するための手段】
【0006】
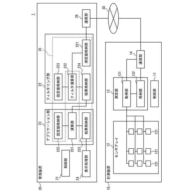
幾つかの実施形態に係る情報処理装置は、
(1)複数のセンサが二次元状に配列されたセンサアレイにより測定された、物理量の測定値であるアレイ測定値を取得し、
取得された前記アレイ測定値からノイズを除去するフィルタリングを行って、真の物理量の推定値を取得し、
取得された前記推定値に基づき、測定対象の状態に関する情報を出力する、
制御部を備え、
前記制御部は、
互いに隣接する前記センサの間における前記測定値の差分の大きさに基づき、前記複数のセンサの個体差に基づくノイズであるセンサノイズの影響を排除して、前記フィルタリングを行う、
情報処理装置。
【0007】
このように、情報処理装置は、センサノイズと推定したい真の信号とにおける、互いに隣接するセンサ間の測定値の差分の大きさの違いに基づいてフィルタリングを行う。そのため、情報処理装置によれば、センサの個体差に基づくバイアスを除去して精度の高いフィルタリングを行うことが可能である。
【0008】
一実施形態において、
(2)(1)の情報処理装置において、
前記制御部は、
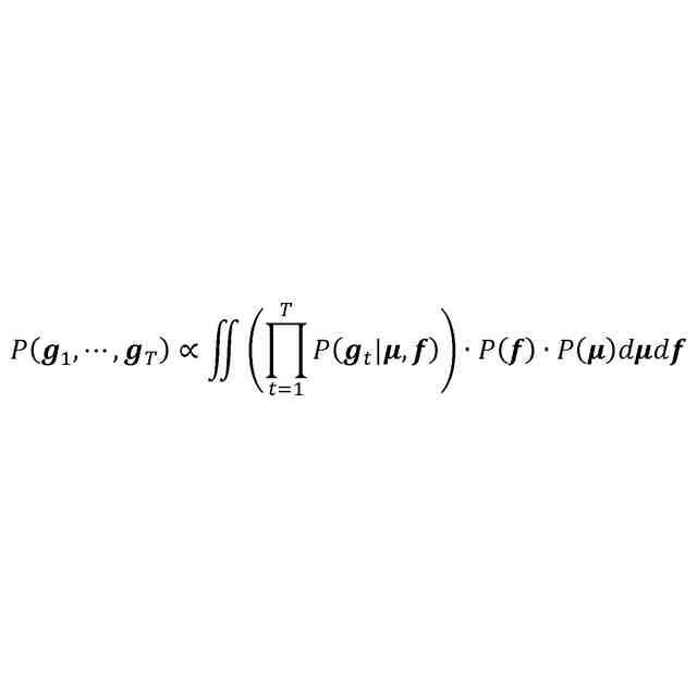
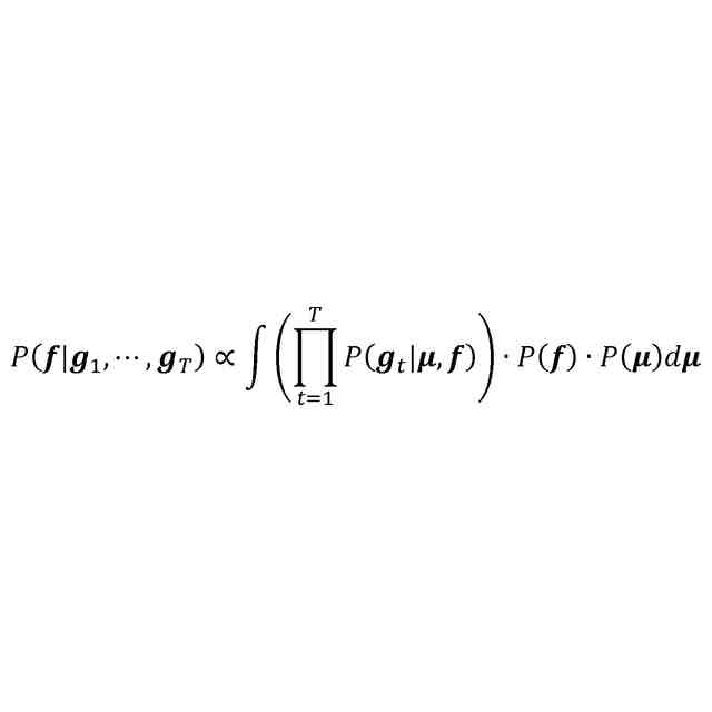
複数のタイミングに前記センサアレイにより測定された複数の前記アレイ測定値を取得し、
前記センサノイズ(μ)に関する統計的分布を定める母数(α、β、γ)を、前記複数(T個)のアレイ測定値(g
1
,...,g
T
)に基づく最尤法により取得し、
取得した前記母数(α、β、γ)を用いて、前記フィルタリングを行ってもよい。
【0009】
このように、情報処理装置は、複数のタイミングに取得されたアレイ測定値に基づき最尤法によりセンサノイズに関する統計的分布の母数を推定し、この母数を用いてフィルタリングを行う。そのため、情報処理装置によれば、複数タイミングの測定値に基づき精度の高いフィルタリングを行うことが可能である。
【0010】
一実施形態において、
(3)(2)の情報処理装置において、
前記制御部は、
前記複数のアレイ測定値に基づいて、前記複数のセンサの各々における測定値のばらつきに基づくノイズである時間ノイズを推定し、
推定された前記時間ノイズを更に用いて前記フィルタリングを行ってもよい。
(【0011】以降は省略されています)
この特許をJ-PlatPat(特許庁公式サイト)で参照する
関連特許
横河電機株式会社
測定器
6日前
横河電機株式会社
藻類培養装置
16日前
横河電機株式会社
厚さ測定装置
1か月前
横河電機株式会社
温度測定装置
6日前
横河電機株式会社
測定装置及び測定方法
3日前
横河電機株式会社
ベースマップの注釈付け
1か月前
横河電機株式会社
測定装置および測定方法
1か月前
横河電機株式会社
測定方法及び測定システム
6日前
横河電機株式会社
装置、方法及びプログラム
6日前
横河電機株式会社
研磨用治具および研磨方法
16日前
横河電機株式会社
フィールド機器及び診断方法
2日前
横河電機株式会社
装置、方法およびプログラム
26日前
横河電機株式会社
測定装置および推定システム
1か月前
横河電機株式会社
装置、方法およびプログラム
16日前
横河電機株式会社
測定装置および回転検出方法
1か月前
横河電機株式会社
装置、方法およびプログラム
17日前
横河電機株式会社
光パルス試験器及び測定方法
2日前
横河電機株式会社
装置、方法、およびプログラム
3日前
横河電機株式会社
菌体培養槽および菌体培養方法
4日前
横河電機株式会社
装置、方法、およびプログラム
16日前
横河電機株式会社
水処理システム及び水処理方法
1か月前
横河電機株式会社
情報処理装置及び情報処理方法
25日前
横河電機株式会社
分散制御ノード(DCN)冗長性
2日前
横河電機株式会社
蛍光読取装置および蛍光読取方法
4日前
横河電機株式会社
センサ装置、調整方法及び調整装置
1か月前
横河電機株式会社
メタン生成装置及びメタン生成方法
6日前
横河電機株式会社
表面散乱型濁度計及び濁度測定方法
4日前
横河電機株式会社
測定装置、測定方法、及びプログラム
9日前
横河電機株式会社
測定装置、測定方法、及びプログラム
3日前
横河電機株式会社
解析装置、訓練装置およびプログラム
4日前
横河電機株式会社
測定装置、測定方法、及びプログラム
3日前
横河電機株式会社
制御装置、制御システム及び制御方法
1か月前
横河電機株式会社
診断システム、診断装置および診断方法
16日前
横河電機株式会社
監視方法、監視プログラム、及び監視装置
1か月前
横河電機株式会社
照射装置、照射方法、および照射プログラム
16日前
横河電機株式会社
評価装置、評価方法、および評価プログラム
16日前
続きを見る
他の特許を見る