TOP
|
特許
|
意匠
|
商標
特許ウォッチ
Twitter
他の特許を見る
公開番号
2025144336
公報種別
公開特許公報(A)
公開日
2025-10-02
出願番号
2024044072
出願日
2024-03-19
発明の名称
車両用ドア操作装置の締結具
出願人
ミネベアアクセスソリューションズ株式会社
代理人
個人
,
個人
主分類
E05B
85/16 20140101AFI20250925BHJP(錠;鍵;窓または戸の付属品;金庫)
要約
【課題】美観の向上と生産性の向上とを両立する。
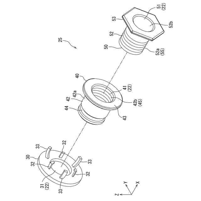
【解決手段】締結具25は、車両用のドア1を開閉するためのドア操作装置、例えばドアハンドル装置10をドア1にボルト23で固定するために使用される。締結具25は、ドアハンドル装置10に設けられた貫通穴21の一端開口21aに位置決めされる保持部材30と、保持部材30に保持され、貫通穴21内に配置される第1締結具40と、軸方向に変位可能に第1締結具40に係合する第2締結具50と、保持部材30、第1締結具40、及び第2締結具50を貫通し、ボルト23が挿通されるボルト挿通穴22と、を備える。
【選択図】図5
特許請求の範囲
【請求項1】
車両用のドアを開閉するためのドア操作装置を前記ドアにボルトで固定するために使用される締結具であって、
前記ドア操作装置に設けられた貫通穴の一端開口に位置決めされる保持部材と、
前記保持部材に保持され、前記貫通穴内に配置される第1締結具と、
軸方向に変位可能に前記第1締結具に係合する第2締結具と、
前記保持部材、前記第1締結具、及び前記第2締結具を貫通し、前記ボルトが挿通されるボルト挿通穴と、
を備える、車両用ドア操作装置の締結具。
続きを表示(約 560 文字)
【請求項2】
前記第1締結具及び前記第2締結具は、円筒状であり、
前記第1締結具の内周面に雌ねじが設けられ、前記第2締結具の外周面に前記雌ねじと螺合可能な雄ねじが設けられ、
前記第2締結具の前記第1締結具へのねじ込み量に応じて、前記第2締結具の前記第1締結具に対する位置が設定される、
請求項1に記載の車両用ドア操作装置の締結具。
【請求項3】
前記第1締結具が、その基端部の外周面に切り欠きを有し、
前記保持部材が、前記切り欠きに係止される係止爪を有する、
請求項1に記載の車両用ドア操作装置の締結具。
【請求項4】
前記第2締結具の先端に、前記ドアに支持される先端フランジが設けられている、
請求項1に記載の車両用ドア操作装置の締結具。
【請求項5】
前記保持部材は、径方向に撓み変形可能であり、前記貫通穴の内周面と前記第1締結具の外周面との間に介在する複数の弾性変形片を有し、
前記複数の弾性変形片が、周方向に間隔をあけて配置され、前記第1締結具が、前記貫通穴に対し、径方向に変位可能に前記弾性変形片を介して弾性的に支持されている、
請求項1から4のいずれか1項に記載の車両用ドア操作装置の締結具。
発明の詳細な説明
【技術分野】
【0001】
本発明は、車両用ドア操作装置の締結具に関する。
続きを表示(約 1,400 文字)
【背景技術】
【0002】
特許文献1は、ハンドル及びこれを支持する本体を備えた車両ドア用のハンドルアセンブリを開示している。このハンドルアセンブリは、美観の向上のため、ハンドルの表面がドアパネルの表面と面一となるように、ドアパネルに組み付けられる。より具体的には、ハンドルアセンブリが、ボルト及びナットのような締結具により、ドアパネルの内部に配設されたマウンティングブラケットに固定される。ボルトは、本体を貫通するボルト挿通穴に挿通され、マウティングブラケットに取り付けられたナットに螺合されるものと考えられる。
【先行技術文献】
【特許文献】
【0003】
特許第5739998号公報
【発明の概要】
【発明が解決しようとする課題】
【0004】
ハンドルアセンブリの組付誤差、ドアの組付誤差、又はその双方に起因して、ボルト挿通穴とマウティングブラケットとの相対位置関係が理想状態からずれることが想定される。この場合、ハンドルの表面とドアパネルの表面とが面一でなくなり、美観が損なわれる。その回避のために寸法精度を高くすると、ハンドルアセンブリ及び車両の生産性が低下する。
【0005】
本発明は、美観の向上と生産性の向上とを両立することを課題とする。
【課題を解決するための手段】
【0006】
本発明の一態様は、車両用のドアを開閉するためのドア操作装置を前記ドアにボルトで固定するために使用される締結具であって、前記ドア操作装置に設けられた貫通穴の一端開口に位置決めされる保持部材と、前記保持部材に保持され、前記貫通穴内に配置される第1締結具と、軸方向に変位可能に前記第1締結具に係合する第2締結具と、前記保持部材、前記第1締結具、及び前記第2締結具を貫通し、前記ボルトが挿通されるボルト挿通穴と、を備える、車両用ドア操作装置の締結具を提供する。
【0007】
上記構成において、締結具は、ボルトやナットではなく、ボルトが挿通されるボルト挿通穴を形成する。この締結具の軸寸(すなわち、ボルト挿通穴の長さ)が、第2締結具の第1締結具に対する変位によって、調整可能である。このため、ドア操作装置又はドアに組付誤差があっても、第2締結具の変位でその誤差を吸収したうえで、ドア操作装置をドアに組み付けることができる。ドア操作装置の寸法精度を高くせずとも美観が保たれる。
【発明の効果】
【0008】
本発明によれば、美観の向上と生産性の向上とを両立できる。
【図面の簡単な説明】
【0009】
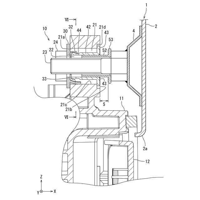
実施形態に係る締結具が適用されたドア操作装置の一例として示すドアハンドル装置の斜視図。
締結具を分解した状態で示すドアハンドル装置の斜視図。
締結具の分解斜視図。
締結具の斜視図。
締結具を適用してドア操作装置をドアに固定する場合の一例を示す断面図。
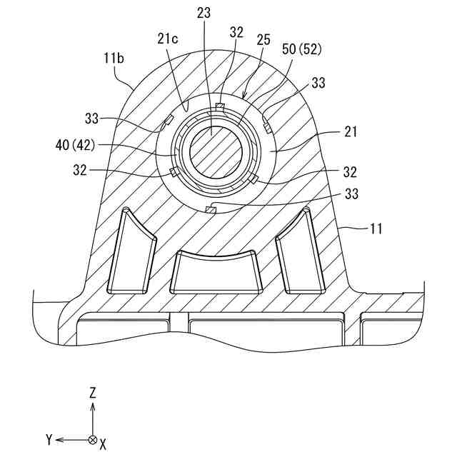
図5のVI-VI断面図。
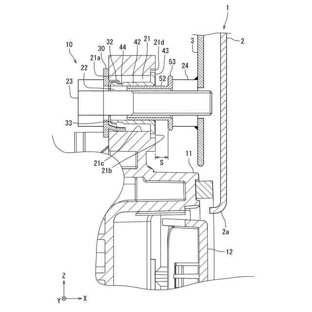
図5とは別の例を示す断面図。
【発明を実施するための形態】
【0010】
以下、図面を参照して実施形態について説明する。なお、同一の又は対応する要素には全図を通じて同一の符号を付し、詳細な説明の重複を省略する。
(【0011】以降は省略されています)
この特許をJ-PlatPat(特許庁公式サイト)で参照する
関連特許
個人
物品保管箱
1か月前
個人
防犯用ドア装置
1か月前
個人
ピンシリンダー錠。
2か月前
リョービ株式会社
ヒンジ装置
4か月前
個人
ポスト機能付き手提げ金庫
1か月前
個人
二重ロック機能付小物入れ
2か月前
個人
顔認証による入室システム
2か月前
株式会社ニシムラ
ラッチ錠
3か月前
株式会社SKB
引き戸装置
4か月前
ミサワホーム株式会社
錠受具
3か月前
三協立山株式会社
開口部装置
1か月前
個人
無人貸金庫システム
9日前
株式会社アルファ
電気錠
2か月前
リョービ株式会社
ドアクローザ
4か月前
リョービ株式会社
ドアクローザ
2か月前
リョービ株式会社
ドアクローザ
2か月前
マツ六株式会社
引戸用鎌錠
4か月前
株式会社榮伸
カバン蓋の係止装置
1か月前
積水ハウス株式会社
引き戸
18日前
美和ロック株式会社
ハンドル装置
3か月前
株式会社ベスト
開き扉の開閉装置
1か月前
有限会社シティング
引き戸
16日前
積水ハウス株式会社
引き戸
6日前
タキゲン製造株式会社
抜差し蝶番
3か月前
株式会社ベスト
扉及び個室
6日前
スズキ株式会社
車両用乗員保護装置
1か月前
株式会社ナスタ
荷物受取容器
4か月前
美和ロック株式会社
IDキー
2か月前
ミネベアショウワ株式会社
ドア装置
1か月前
ミネベアショウワ株式会社
ドア装置
1か月前
株式会社ナスタ
荷物受取容器
5か月前
株式会社LIXIL
建具
1か月前
株式会社ユニオン
ドアハンドル
10日前
神田工業株式会社
解錠システム
2か月前
株式会社アイシン
ドア支持装置
5か月前
マツ六株式会社
引戸の引手部材
4か月前
続きを見る
他の特許を見る