TOP
|
特許
|
意匠
|
商標
特許ウォッチ
Twitter
他の特許を見る
公開番号
2025146092
公報種別
公開特許公報(A)
公開日
2025-10-03
出願番号
2024046694
出願日
2024-03-22
発明の名称
ブッシュ及び液圧回転機
出願人
カヤバ株式会社
代理人
弁理士法人後藤特許事務所
主分類
F16C
33/04 20060101AFI20250926BHJP(機械要素または単位;機械または装置の効果的機能を生じ維持するための一般的手段)
要約
【課題】ブッシュの取付性を向上させる。
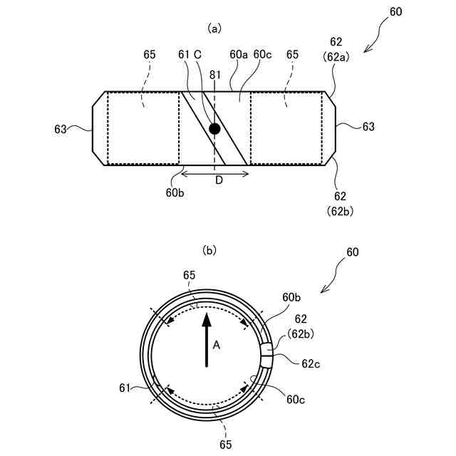
【解決手段】駆動源により回転される駆動シャフト1を支持するブッシュ60,70は、軸方向の両端面60a,60bにわたって内周面60cに形成されるとともに軸方向に対して傾斜して形成され、駆動シャフト1の外周面1aとブッシュ60,70の内周面60cとの間を潤滑する流体が導かれる溝部61と、軸方向の両端面60a,60bに形成され、軸方向に並ぶ一対の切り欠き部62と、を有し、溝部61における軸方向に延びる中心線81と切り欠き部62とは、周方向において180度離れて形成される。
【選択図】図2
特許請求の範囲
【請求項1】
駆動源により回転される回転シャフトを支持するブッシュであって、
軸方向の両端面にわたって内周面に形成されるとともに前記軸方向に対して傾斜して形成され、前記回転シャフトの外周面と前記ブッシュの前記内周面との間を潤滑する流体が導かれる溝部と、
前記軸方向の前記両端面に形成され、前記軸方向に並ぶ一対の切り欠き部と、を有し、
前記溝部における前記軸方向に延びる中心線と前記切り欠き部とは、前記周方向において180度離れて形成されることを特徴とするブッシュ。
続きを表示(約 490 文字)
【請求項2】
請求項1に記載のブッシュであって、
前記内周面には、前記周方向における前記溝部の両側に、前記回転シャフトに作用する荷重を受ける荷重受け部がそれぞれ形成されることを特徴とするブッシュ。
【請求項3】
請求項2に記載のブッシュであって、
前記荷重受け部は、それぞれ前記周方向において180度よりも小さい範囲に形成されることを特徴とするブッシュ。
【請求項4】
請求項3に記載のブッシュであって、
前記荷重受け部は、それぞれ前記周方向において90度以上の範囲に形成されることを特徴とするブッシュ。
【請求項5】
請求項1に記載のブッシュであって、
前記ブッシュは、前記周方向の一箇所に前記軸方向に延びる合わせ目が設けられる円筒状の巻きブッシュであり、
前記合わせ目は、前記一対の切り欠き部にわたって形成されることを特徴とするブッシュ。
【請求項6】
請求項1から5のいずれか一つに記載のブッシュにより支持される前記回転シャフトを備えることを特徴とする液圧回転機。
発明の詳細な説明
【技術分野】
【0001】
本発明は、ブッシュ及び液圧回転機に関するものである。
続きを表示(約 1,300 文字)
【背景技術】
【0002】
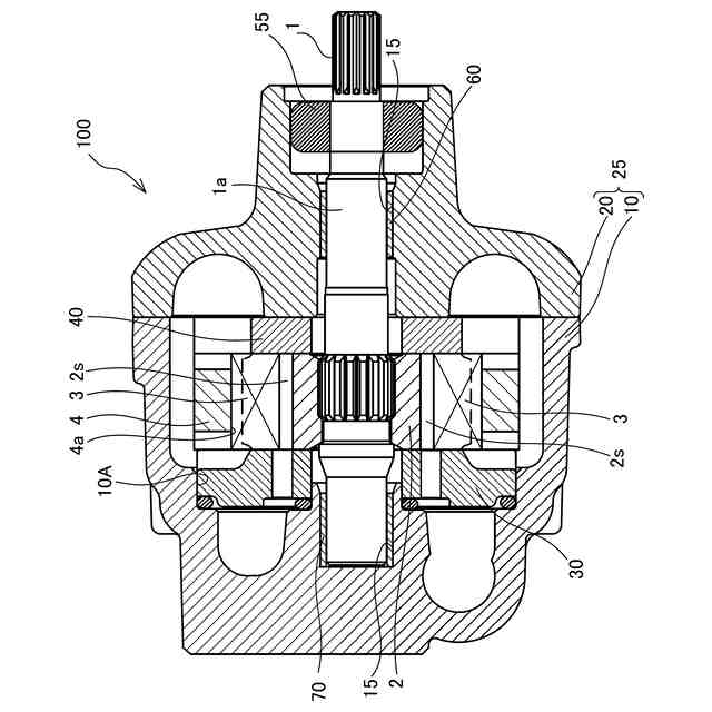
特許文献1には、ポンプケーシングと、駆動シャフトに回転駆動されるロータと、ロータの周囲に設けられ内周面にカム面を有するカムリングと、ロータに半径方向へ進退自在に設けられ先端が前記カムリングと摺接する複数のベーンと、を備えるベーンポンプが開示されている。駆動シャフトは、ポンプケーシングのポンプボディ及びポンプカバーの挿通孔にそれぞれ設けられたブッシュによって回転自在に支持される。
【先行技術文献】
【特許文献】
【0003】
特開2020-200776号公報
【発明の概要】
【発明が解決しようとする課題】
【0004】
特許文献1に記載のようなベーンポンプでは、作動時に駆動シャフトが偏荷重を受け、ブッシュが荷重を受けることがある。また、ブッシュには、駆動シャフトの外周面とブッシュの内周面との間を潤滑するために、流体が導かれる溝が形成されることがある。このような構成では、ブッシュの軸方向の一方の端部に形成された位置決め用の切り欠きに、圧入用の治具を差し込んで、周方向の特定の位置に溝が位置するようにブッシュを周方向に位置決めしつつ挿通孔に圧入する。しかしながら、この場合には、ブッシュの片側にしか治具を取り付けることができないため、挿通孔へのブッシュの取り付けに手間がかかってしまう。
【0005】
本発明は、上記の問題点に鑑みてなされたものであり、ブッシュの取付性を向上させることを目的とする。
【課題を解決するための手段】
【0006】
本発明は、駆動源により回転される回転シャフトを支持するブッシュであって、軸方向の両端面にわたって内周面に形成されるとともに軸方向に対して傾斜して形成され、回転シャフトの外周面とブッシュの内周面との間を潤滑する流体が導かれる溝部と、軸方向の両端面に形成され、軸方向に並ぶ一対の切り欠き部と、を有し、溝部における軸方向に延びる中心線と切り欠き部とは、周方向において180度離れて形成されることを特徴とする。
【0007】
この発明では、ブッシュは、軸方向の両端面に形成される一対の切り欠き部を有し、溝部と切り欠き部が周方向において180度離れて形成される。そのため、ブッシュが上下逆になっても、切り欠き部と溝部の相対位置は変わらない。よって、切り欠き部に差し込まれる圧入用の治具をブッシュの両側のいずれにも取り付けることができる。したがって、ブッシュの取付性が向上する。
【0008】
また、本発明は、内周面には、周方向における溝部の両側に、回転シャフトに作用する荷重を受ける荷重受け部がそれぞれ形成されることを特徴とする。
【0009】
この発明では、ブッシュを両方向から回転シャフトの挿入孔に圧入することができる。
【0010】
また、本発明は、荷重受け部は、それぞれ周方向において180度よりも小さい範囲に形成されることを特徴とする。
(【0011】以降は省略されています)
この特許をJ-PlatPat(特許庁公式サイト)で参照する
関連特許
カヤバ株式会社
ダンパ
3か月前
カヤバ株式会社
減圧弁
4日前
カヤバ株式会社
ダンパ
3か月前
カヤバ株式会社
緩衝器
3か月前
カヤバ株式会社
緩衝器
3か月前
カヤバ株式会社
摩擦試験機
6日前
カヤバ株式会社
電動ポンプ
2日前
カヤバ株式会社
電動ポンプ
1か月前
カヤバ株式会社
ベーンポンプ
2か月前
カヤバ株式会社
高所作業装置
2日前
カヤバ株式会社
冗長システム
1か月前
カヤバ株式会社
バルブユニット
3か月前
カヤバ株式会社
モータ制御装置
2か月前
カヤバ株式会社
チェックバルブ
6日前
カヤバ株式会社
電磁リリーフ弁
2か月前
カヤバ株式会社
流体圧制御装置
18日前
カヤバ株式会社
モータ制御装置
2か月前
カヤバ株式会社
回転機の製造方法
2日前
カヤバ株式会社
反力アクチュエータ
26日前
カヤバ株式会社
バルブおよび緩衝器
6日前
カヤバ株式会社
バルブおよび緩衝器
6日前
カヤバ株式会社
ステアバイワイヤ装置
1か月前
カヤバ株式会社
アクチュエータユニット
16日前
カヤバ株式会社
ブッシュ及び液圧回転機
2日前
カヤバ株式会社
ステアバイワイヤユニット
2日前
カヤバ株式会社
粒子検出装置及びプログラム
2か月前
カヤバ株式会社
モータ制御装置、及びプログラム
3日前
カヤバ株式会社
インレットブロック及びバルブ装置
16日前
カヤバ株式会社
データ取得システム、データ取得方法及びプログラム
3か月前
個人
流路体
8か月前
個人
鍋虫ねじ
1か月前
個人
クラッチ装置
8か月前
個人
紛体用仕切弁
1か月前
個人
回転伝達機構
2か月前
個人
ホース保持具
5か月前
個人
差動歯車用歯形
3か月前
続きを見る
他の特許を見る