TOP
|
特許
|
意匠
|
商標
特許ウォッチ
Twitter
他の特許を見る
公開番号
2025134358
公報種別
公開特許公報(A)
公開日
2025-09-17
出願番号
2024032209
出願日
2024-03-04
発明の名称
流体圧制御装置
出願人
カヤバ株式会社
代理人
弁理士法人後藤特許事務所
主分類
F15B
11/05 20060101AFI20250909BHJP(流体圧アクチュエータ;水力学または空気力学一般)
要約
【課題】流体圧制御装置の生産効率を向上させる。
【解決手段】流体圧制御装置200では、メインスプール170には、中立位置において供給ポート121と導入ポート122を連通し、切換位置において導出ポート124とアクチュエータポート125を絞りを通じて連通する第一スプール170A、または中立位置において供給ポート121と導入ポート122の連通を遮断し、切換位置において供給ポート121と導入ポート122を絞りを通じて連通するとともに、導出ポート124とアクチュエータポート125を連通する第二スプール170Bが用いられ、ハウジング10に第一スプール170Aが設けられると、ビフォアオリフィスタイプとして機能し、ハウジング10に第二スプール170Bが設けられると、アフタオリフィスタイプとして機能する。
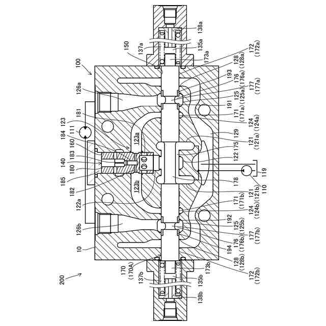
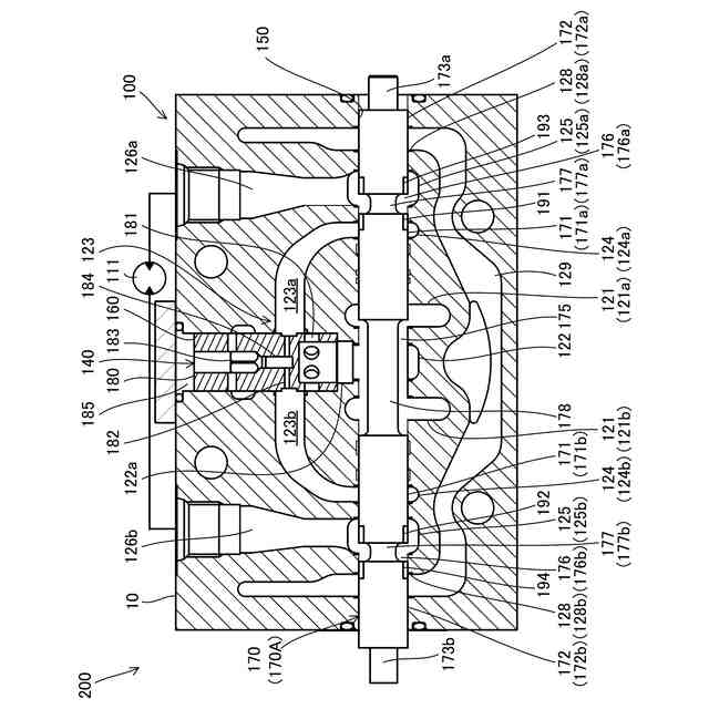
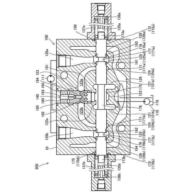
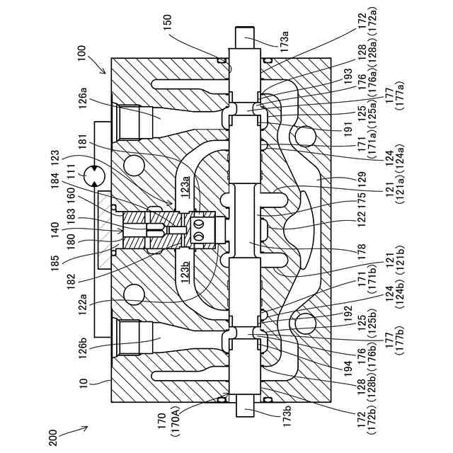
【選択図】図1
特許請求の範囲
【請求項1】
流体圧制御装置であって、
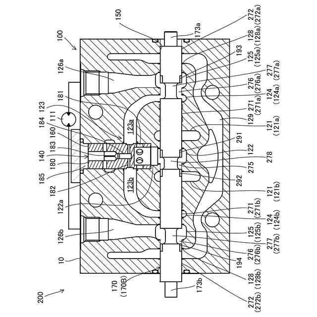
アクチュエータに対する作動油の給排を制御する制御弁と、
前記制御弁の絞りの前後差圧が一定となるように制御する圧力補償弁と、
前記制御弁及び前記圧力補償弁が組み付けられるハウジングと、を備え、
前記制御弁は、
前記ハウジングに形成された収容穴に挿入されるスプールと、を有し、
前記ハウジングの前記収容穴は、
作動流体供給源に連通する供給ポートと、
前記圧力補償弁に作動流体を導く導入ポートと、
前記圧力補償弁から排出される作動流体が導かれる導出ポートと、
前記アクチュエータに連通するアクチュエータポートと、を有し、
前記スプールには、中立位置において前記供給ポートと前記導入ポートを連通し、切換位置において前記導出ポートと前記アクチュエータポートを前記絞りを通じて連通する第一スプール、または中立位置において前記供給ポートと前記導入ポートの連通を遮断し、切換位置において前記供給ポートと前記導入ポートを前記絞りを通じて連通するとともに、前記導出ポートと前記アクチュエータポートを連通する第二スプールが用いられ、
前記ハウジングに前記第一スプールが設けられると、前記絞りの上流に前記圧力補償弁が位置するビフォアオリフィスタイプとして機能し、前記ハウジングに前記第二スプールが設けられると、前記絞りの下流に前記圧力補償弁が位置するアフタオリフィスタイプとして機能することを特徴とする流体圧制御装置。
続きを表示(約 680 文字)
【請求項2】
請求項1に記載の流体圧制御装置であって、
前記供給ポートは、前記ハウジングの前記収容穴において前記導入ポートの両側に形成されることを特徴とする流体圧制御装置。
【請求項3】
請求項1に記載の流体圧制御装置であって、
前記第一スプールは、第一ランド部と、前記第一ランド部の一端に形成され前記アクチュエータポートに臨む第一アクチュエータ側環状溝を区画する第一アクチュエータ側小径部と、前記第一ランド部の他端に形成され前記供給ポート及び前記導入ポートに臨む第一導入側環状溝を区画する第一導入側小径部と、を有し、
前記第二スプールは、第二ランド部と、前記第二ランド部の一端に形成され前記アクチュエータポートに臨む第二アクチュエータ側環状溝を区画する第二アクチュエータ側小径部と、前記第二ランド部の他端に形成され前記導入ポートに臨む第二導入側環状溝を区画する第二導入側小径部と、を有し、
前記第一スプールでは、前記絞りは、前記第一ランド部に形成され前記第一アクチュエータ側環状溝に開口する第一ノッチであり、
前記第二スプールでは、前記絞りは、前記第二ランド部に形成され前記第二導入側環状溝に開口する第二ノッチであり、
前記第一スプールは、前記切換位置において前記導出ポートと前記アクチュエータポートを前記第一ノッチを通じて連通し、
前記第二スプールは、前記切換位置において前記供給ポートと前記導入ポートを前記第二ノッチを通じて連通することを特徴とする流体圧制御装置。
発明の詳細な説明
【技術分野】
【0001】
本発明は、流体圧制御装置に関する。
続きを表示(約 2,100 文字)
【背景技術】
【0002】
特許文献1には、バルブボディに、スプールと、圧力補償弁と、が取り付けられる制御弁が開示されている。バルブボディには、ポンプから作動油が供給されるポンプポートと、圧力補償弁から作動油を導くブリッジ通路と、アクチュエータに作動油を導くアクチュエータ通路と、が形成される。圧力補償弁はポンプポートと直接連通し、スプールが連通位置にある状態では、ポンプポートから供給される作動油は、圧力補償弁、ブリッジ通路、スプールの外周面に形成されるノッチ、及びアクチュエータ通路を通じてアクチュエータに導かれる。また、圧力補償弁は、ブリッジ通路の圧力が所定の圧力よりも高くなるように補償する。これにより、複数の制御弁によって複数のアクチュエータを同時に駆動する際には、各アクチュエータの負荷圧の大小にかかわらず、スプールの移動量に応じた流量の作動油を各アクチュエータに供給することができる。
【0003】
特許文献1に記載の制御弁は、スプールの外周面のノッチ(オリフィス)の上流に圧力補償弁が位置するビフォアオリフィスタイプである。ビフォアオリフィスタイプの制御弁では、複数の制御弁によって複数のアクチュエータを同時に駆動する際にポンプの供給流量が不足した場合には、低負荷のアクチュエータに優先的に作動油が供給される。
【先行技術文献】
【特許文献】
【0004】
実開平1-150201号公報
【発明の概要】
【発明が解決しようとする課題】
【0005】
ここで、制御弁には、オリフィスの下流に圧力補償弁が位置するアフタオリフィスタイプのものもある。アフタオリフィスタイプの制御弁では、複数の制御弁によって複数のアクチュエータを同時に駆動する際にポンプの供給流量が不足した場合には、各制御弁のオリフィスの開口面積の比率により各アクチュエータに供給される作動油の流量が決まる。このように、ビフォアオリフィスタイプの制御弁とアフタオリフィスタイプの制御弁では、ポンプの供給流量が不足した場合の各アクチュエータへの作動油の供給の仕方が異なり、使用者のニーズによりどちらのタイプの制御弁とするかが選択される。
【0006】
特許文献1に記載の制御弁では、圧力補償弁がポンプポートと直接連通するため、アフタオリフィスタイプの制御弁とするには、別のハウジングを製造する必要がある。つまり、ビフォアオリフィスタイプとアフタオリフィスタイプでそれぞれ別のハウジングを製造する必要があり、制御弁の生産効率が悪い。
【0007】
本発明は、上記の問題点に鑑みてなされたものであり、流体圧制御装置の生産効率を向上させることを目的とする。
【課題を解決するための手段】
【0008】
本発明は、流体圧制御装置であって、アクチュエータに対する作動油の給排を制御する制御弁と、制御弁の絞りの前後差圧が一定となるように制御する圧力補償弁と、制御弁及び圧力補償弁が組み付けられるハウジングと、を備え、制御弁は、ハウジングに形成された収容穴に挿入されるスプールと、を有し、ハウジングの収容穴は、作動流体供給源に連通する供給ポートと、圧力補償弁に作動流体を導く導入ポートと、圧力補償弁から排出される作動流体が導かれる導出ポートと、アクチュエータに連通するアクチュエータポートと、を有し、スプールには、中立位置において供給ポートと導入ポートを連通し、切換位置において導出ポートとアクチュエータポートを絞りを通じて連通する第一スプール、または中立位置において供給ポートと導入ポートの連通を遮断し、切換位置において供給ポートと導入ポートを絞りを通じて連通するとともに、導出ポートとアクチュエータポートを連通する第二スプールが用いられ、ハウジングに第一スプールが設けられると、絞りの上流に圧力補償弁が位置するビフォアオリフィスタイプとして機能し、ハウジングに第二スプールが設けられると、絞りの下流に圧力補償弁が位置するアフタオリフィスタイプとして機能することを特徴とする流体圧制御装置。
【0009】
この発明では、流体圧制御装置は、ハウジングに第一スプールが設けられると絞りの上流に圧力補償弁が位置するビフォアオリフィスタイプとして機能し、ハウジングに第二スプールが設けられると絞りの下流に圧力補償弁が位置するアフタオリフィスタイプとして機能する。よって、スプールを変更するだけでビフォアオリフィスタイプとアフタオリフィスタイプとを変更することができるため、ビフォアオリフィスタイプとアフタオリフィスタイプとにおいてハウジングを共通化することができる。そのため、流体圧制御装置の生産効率を向上させることができる。
【0010】
本発明は、供給ポートは、前記ハウジングの前記収容穴において前記導入ポートの両側に形成されることを特徴とする。
(【0011】以降は省略されています)
この特許をJ-PlatPat(特許庁公式サイト)で参照する
関連特許
カヤバ株式会社
緩衝器
2か月前
カヤバ株式会社
緩衝器
2か月前
カヤバ株式会社
減圧弁
1日前
カヤバ株式会社
摩擦試験機
3日前
カヤバ株式会社
電動ポンプ
1か月前
カヤバ株式会社
ベーンポンプ
2か月前
カヤバ株式会社
冗長システム
29日前
カヤバ株式会社
バルブユニット
3か月前
カヤバ株式会社
チェックバルブ
3日前
カヤバ株式会社
流体圧制御装置
15日前
カヤバ株式会社
モータ制御装置
1か月前
カヤバ株式会社
モータ制御装置
1か月前
カヤバ株式会社
電磁リリーフ弁
2か月前
カヤバ株式会社
バルブおよび緩衝器
3日前
カヤバ株式会社
バルブおよび緩衝器
3日前
カヤバ株式会社
反力アクチュエータ
23日前
カヤバ株式会社
ステアバイワイヤ装置
1か月前
カヤバ株式会社
アクチュエータユニット
13日前
カヤバ株式会社
粒子検出装置及びプログラム
2か月前
カヤバ株式会社
モータ制御装置、及びプログラム
今日
カヤバ株式会社
インレットブロック及びバルブ装置
13日前
カヤバ株式会社
データ取得システム、データ取得方法及びプログラム
3か月前
豊和工業株式会社
クランプ装置
4か月前
株式会社豊田自動織機
流体圧シリンダ
27日前
株式会社SUBARU
油圧回路
7か月前
株式会社不二越
電磁切替弁
1か月前
株式会社コスメック
シリンダ装置
2か月前
川崎重工業株式会社
液圧駆動装置
7か月前
川崎重工業株式会社
液圧駆動装置
7か月前
個人
省エネ改良型油圧リバースブースター
1か月前
株式会社不二越
油圧システム
4か月前
コベルコ建機株式会社
建設機械
6か月前
日立建機株式会社
作業機械
5か月前
学校法人東海大学
流れ制御装置
5か月前
日立建機株式会社
作業機械
今日
株式会社不二越
油圧駆動システム
1か月前
続きを見る
他の特許を見る