TOP
|
特許
|
意匠
|
商標
特許ウォッチ
Twitter
他の特許を見る
公開番号
2025149422
公報種別
公開特許公報(A)
公開日
2025-10-08
出願番号
2024050067
出願日
2024-03-26
発明の名称
緩衝器
出願人
カヤバ株式会社
,
株式会社タカコ
代理人
個人
主分類
F16F
9/32 20060101AFI20251001BHJP(機械要素または単位;機械または装置の効果的機能を生じ維持するための一般的手段)
要約
【課題】異音の発生を抑制可能な緩衝器を提供する。
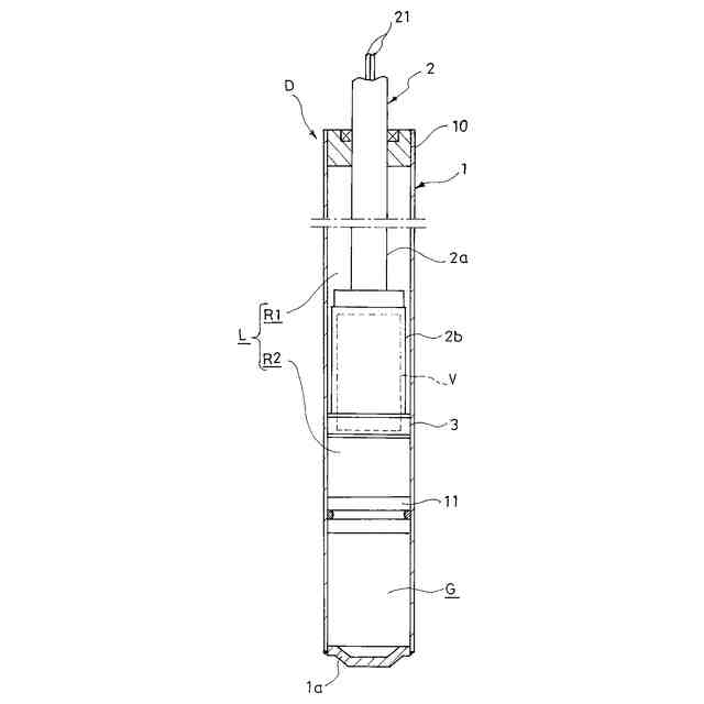
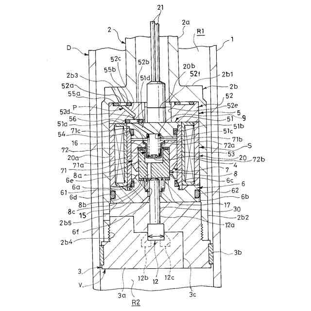
【解決手段】緩衝器Dは、アウターシェル1と、ピストンロッド2と、アウターシェル1内に軸方向へ移動可能に挿入されるピストン3と、アウターシェル1内に収容されたソレノイドバルブVとを備え、ソレノイドバルブVは、コイル4と、凹部51cを有する第1固定鉄心5と、第1固定鉄心5と間隙を空けてコイル4の下方側に配置される第2固定鉄心6と、コイル4への通電により第1固定鉄心5に吸引される第1可動鉄心7と、コイル4への通電により第2固定鉄心6に吸引される第2可動鉄心8と、凹部51cに収容されるとともに第1可動鉄心7を第2固定鉄心6側へ付勢するばね9と、第2可動鉄心8から推力を受ける弁部材12とを有し、凹部51cに通じるエア抜き通路Pを備えている。
【選択図】図2
特許請求の範囲
【請求項1】
アウターシェルと、
前記アウターシェル内に軸方向へ移動可能に挿入されるピストンロッドと、
前記ピストンロッドに連結されて前記アウターシェル内に軸方向へ移動可能に挿入されるピストンと、
前記アウターシェル内に収容されて前記アウターシェル内に設けられる2つの作動室の間に配置されるソレノイドバルブとを備え、
前記ソレノイドバルブは、
コイルと、
前記コイルの軸方向で上方側に配置されるとともにコイル側端に凹部を有する第1固定鉄心と、
前記第1固定鉄心と間隙を空けて前記コイルの軸方向の下方側に配置される第2固定鉄心と、
前記第1固定鉄心と前記第2固定鉄心との間に配置されて、前記コイルへの通電により前記第1固定鉄心に吸引される第1可動鉄心と、
前記第1固定鉄心と前記第2固定鉄心との間に配置されて、前記コイルへの通電により前記第2固定鉄心に吸引される第2可動鉄心と、
上端が前記凹部に収容されるとともに前記第1可動鉄心を前記第2固定鉄心側へ付勢するばねと、
前記第2可動鉄心から推力を受ける弁部材とを有し、
前記凹部に通じるエア抜き通路を備えた
ことを特徴とする緩衝器。
続きを表示(約 490 文字)
【請求項2】
前記ソレノイドバルブは、
上端に頂部を有する有頂筒状であって、内部に前記コイル、前記第1固定鉄心、前記第2固定鉄心、前記第1可動鉄心、前記第2可動鉄心および前記ばねを収容するハウジングを有し、
前記エア抜き通路は、
前記凹部から開口して前記ハウジングの前記頂部を貫いて前記頂部の上端へ通じており、途中にオリフィスを有する
ことを特徴とする請求項1に記載の緩衝器。
【請求項3】
前記エア抜き通路は、前記凹部の上端に連通されている
ことを特徴とする請求項1に記載の緩衝器。
【請求項4】
前記ソレノイドバルブは、
前記コイルを内包するケースを有し、
前記ケースは、
前記コイルを内包する円筒体と、
前記円筒体の上端の2箇所に跨る桁部を有して前記コイルに接続される配線を内包するブリッジとを有し、
前記円筒体の軸方向から見て前記桁部の断面の中心を通る仮想線は、前記円筒体の中心軸上からずれた位置に配置される
ことを特徴とする請求項1に記載の緩衝器。
発明の詳細な説明
【技術分野】
【0001】
本発明は、緩衝器に関する。
続きを表示(約 1,700 文字)
【背景技術】
【0002】
緩衝器は、一般に、シリンダと、シリンダ内に軸方向へ移動可能に挿入されるピストンロッドと、ピストンロッドに連結されてシリンダ内に軸方向へ移動可能に挿入されるピストンと、ピストンに設けられて伸側室と圧側室とを連通する通路に設けられる減衰バルブとを備えており、車両における車体と車輪との間に介装されて伸縮時発生する減衰力で車体の振動を減衰させる。
【0003】
このような緩衝器は、車体の振動をより効果的に減衰させて車両における乗心地を向上させるために、減衰バルブにソレノイドバルブを利用して、伸縮時発生する減衰力をソレノイドバルブへ与える電流によって調整可能なものがある(たとえば、特許文献1参照)。
【先行技術文献】
【特許文献】
【0004】
特開2023-157938号公報
【発明の概要】
【発明が解決しようとする課題】
【0005】
従来の緩衝器では、ピストンおよびピストンロッドを筒状としており、ソレノイドバルブにおけるソレノイドをピストンに収容するとともに、ピストンロッド内にソレノイドにおけるコイルへ通電する配線を収容して、ソレノイドバルブをシリンダ内に収容している。
【0006】
より詳細には、ソレノイドは有頂筒状のピストンの内部の上方に配置されており、バルブ部分がソレノイドの下方に配置されている。また、ソレノイドは、筒状のコイルと、コイルの上方側に配置される第1固定鉄心と、コイルの下方側に配置される第2固定鉄心と、コイル内であって第1固定鉄心と第2固定鉄心との間に配置される第1可動鉄心および第2可動鉄心と、第1固定鉄心と第1可動鉄心との間に介装されて第1可動鉄心を第2可動鉄心側へ向けて付勢するコイルばねとを備えており、第1固定鉄心を上方にしてピストン内に収容されている。
【0007】
また、このように構成された緩衝器では、第1可動鉄心および第2可動鉄心の動作が速すぎると減衰力が急変するため、第1可動鉄心および第2可動鉄心の動作に減衰力を与えて当該動作を緩慢とするべく、第1可動鉄心および第2可動鉄心に絞り抵抗を付与する通路を設けている。
【0008】
ところが、緩衝器の組み立て時にソレノイド内に気泡が取り残されたり、シリンダ内に生じた気泡がコイルの内方に侵入したりする場合、コイルの上端が第1固定鉄心によって閉塞されているため、そのまま気泡がコイルの内方に留まって、ソレノイドの駆動時に気泡が伸縮して第1可動鉄心および第2可動鉄心に与える減衰力が不足して、ハンチングによって第1可動鉄心および第2可動鉄心が振動して異音が発生する問題がある。
【0009】
そこで、本発明は、異音の発生を抑制可能な緩衝器の提供を目的としている。
【課題を解決するための手段】
【0010】
上記課題を解決するため、本発明の緩衝器は、アウターシェルと、アウターシェル内に軸方向へ移動可能に挿入されるピストンロッドと、ピストンロッドに連結されてアウターシェル内に軸方向へ移動可能に挿入されるピストンと、アウターシェル内に収容されてアウターシェル内に設けられる2つの作動室の間に配置されるソレノイドバルブとを備え、ソレノイドバルブは、コイルと、コイルの軸方向で上方側に配置されるとともにコイル側端に凹部を有する第1固定鉄心と、第1固定鉄心と間隙を空けてコイルの軸方向の下方側に配置される第2固定鉄心と、第1固定鉄心と第2固定鉄心との間に配置されて、コイルへの通電により第1固定鉄心に吸引される第1可動鉄心と、第1固定鉄心と第2固定鉄心との間に配置されて、コイルへの通電により第2固定鉄心に吸引される第2可動鉄心と、上端が凹部に収容されるとともに第1可動鉄心を第2固定鉄心側へ付勢するばねと、第2可動鉄心から推力を受ける弁部材とを有し、凹部に通じるエア抜き通路を備えている。
(【0011】以降は省略されています)
この特許をJ-PlatPat(特許庁公式サイト)で参照する
関連特許
カヤバ株式会社
緩衝器
3日前
カヤバ株式会社
減圧弁
10日前
カヤバ株式会社
緩衝器
3日前
カヤバ株式会社
防水構造
1日前
カヤバ株式会社
ミキサ車
1日前
カヤバ株式会社
ミキサ車
1日前
カヤバ株式会社
ミキサ車
1日前
カヤバ株式会社
展開デッキ
1日前
カヤバ株式会社
ギヤポンプ
1日前
カヤバ株式会社
ギヤポンプ
1日前
カヤバ株式会社
ギヤポンプ
1日前
カヤバ株式会社
電動ポンプ
8日前
カヤバ株式会社
摩擦試験機
12日前
カヤバ株式会社
苗木抜出装置
1日前
カヤバ株式会社
苗木植付装置
1日前
カヤバ株式会社
苗木植付装置
1日前
カヤバ株式会社
苗木植付装置
1日前
カヤバ株式会社
苗木植付装置
1日前
カヤバ株式会社
苗木植付装置
1日前
カヤバ株式会社
高所作業装置
8日前
カヤバ株式会社
チェックバルブ
12日前
カヤバ株式会社
流体圧制御装置
24日前
カヤバ株式会社
筒部材及び緩衝器
3日前
カヤバ株式会社
回転機の製造方法
8日前
カヤバ株式会社
筒部材及び緩衝器
3日前
カヤバ株式会社
筒型リニアモータ
3日前
カヤバ株式会社
ポンプの取付構造
4日前
カヤバ株式会社
筒部材及び緩衝器
3日前
カヤバ株式会社
バルブおよび緩衝器
12日前
カヤバ株式会社
バルブおよび緩衝器
12日前
カヤバ株式会社
ブッシュ及び液圧回転機
8日前
カヤバ株式会社
アクチュエータユニット
22日前
カヤバ株式会社
ステアバイワイヤユニット
8日前
カヤバ株式会社
ミキサ車及び状態検出装置
2日前
カヤバ株式会社
ミキサドラムのシール構造
1日前
カヤバ株式会社
ソレノイドバルブおよび緩衝器
3日前
続きを見る
他の特許を見る