TOP
|
特許
|
意匠
|
商標
特許ウォッチ
Twitter
他の特許を見る
公開番号
2025142909
公報種別
公開特許公報(A)
公開日
2025-10-01
出願番号
2024042520
出願日
2024-03-18
発明の名称
減圧弁
出願人
カヤバ株式会社
代理人
弁理士法人後藤特許事務所
主分類
G05D
16/10 20060101AFI20250924BHJP(制御;調整)
要約
【課題】減圧弁の破損を防止する。
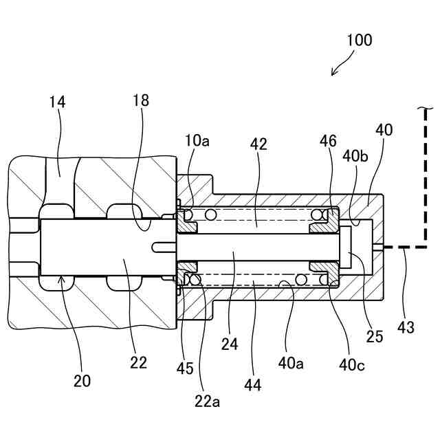
【解決手段】減圧弁100は、スプール弁体20と、スプール弁体20を軸方向において一方の方向に常時付勢する第1スプリング34と、スプール弁体20を軸方向において他方の方向に付勢可能な第2スプリング44と、二次圧ポート13の圧力が導かれ、軸方向において一方の方向にスプール弁体20を付勢する第1推力を生成する第1圧力室32と、パイロット圧力が導かれ、軸方向において他方の方向にスプール弁体20を付勢する第2推力を生成する第2圧力室42と、を備え、第2推力が低下することによって、第1スプリング34の付勢力によりスプール弁体20が一方の方向へと移動し、軸方向におけるスプール弁体20の位置が所定の位置に到達すると、スプール弁体20を他方の方向に付勢する第2スプリング44の付勢力がスプール弁体20に対して作用する。
【選択図】図1
特許請求の範囲
【請求項1】
一次圧通路と二次圧通路との連通状態及びドレーン通路と前記二次圧通路との連通状態を制御し前記二次圧通路内の圧力を所定の圧力に減圧する減圧弁であって、
前記一次圧通路と前記二次圧通路との連通を許容又は遮断し、前記ドレーン通路と前記二次圧通路との連通を許容又は遮断するスプール弁体と、
前記スプール弁体を軸方向において一方の方向に常時付勢する第1付勢部材と、
前記スプール弁体を軸方向において他方の方向に付勢可能な第2付勢部材と、
前記二次圧通路の圧力が導かれ、軸方向において前記一方の方向に前記スプール弁体を付勢する第1推力を生成する第1圧力室と、
パイロット圧力が導かれ、軸方向において前記他方の方向に前記スプール弁体を付勢する第2推力を生成する第2圧力室と、を備え、
前記第2推力が低下することによって、前記第1付勢部材の付勢力により前記スプール弁体が前記一方の方向へと移動し、軸方向における前記スプール弁体の位置が所定の位置に到達すると、前記スプール弁体を前記他方の方向に付勢する前記第2付勢部材の付勢力が前記スプール弁体に対して作用することを特徴とする減圧弁。
続きを表示(約 790 文字)
【請求項2】
一次圧通路と二次圧通路との連通状態及びドレーン通路と前記二次圧通路との連通状態を制御し前記二次圧通路内の圧力を所定の圧力に減圧する減圧弁であって、
前記一次圧通路と前記二次圧通路との連通を許容又は遮断し、前記ドレーン通路と前記二次圧通路との連通を許容又は遮断するスプール弁体と、
前記スプール弁体を軸方向において一方の方向に常時付勢する第1付勢部材と、
前記スプール弁体を軸方向において他方の方向に付勢可能な第2付勢部材と、
前記二次圧通路の圧力が導かれ、軸方向において前記他方の方向に前記スプール弁体を付勢する推力を生成する圧力室と、を備え、
前記推力が低下することによって、前記第1付勢部材の付勢力により前記スプール弁体が前記一方の方向へと移動し、軸方向における前記スプール弁体の位置が所定の位置に到達すると、前記スプール弁体を前記他方の方向に付勢する前記第2付勢部材の付勢力が前記スプール弁体に対して作用することを特徴とする減圧弁。
【請求項3】
請求項1または2に記載の減圧弁であって、
前記スプール弁体に作用する前記第1付勢部材の付勢力を調節する付勢力調節部をさらに備え、
前記第2付勢部材は、前記スプール弁体が前記一方の方向へと移動し、軸方向における前記スプール弁体の位置が前記所定の位置に到達するまでは、軸方向において前記一方の方向に前記スプール弁体を付勢する付勢力を生じることを特徴とする減圧弁。
【請求項4】
請求項1または2に記載の減圧弁であって、
前記第2付勢部材は、前記スプール弁体が前記一方の方向へと移動し、軸方向における前記スプール弁体の位置が前記所定の位置に到達するまでは、前記スプール弁体を付勢する付勢力を生じないことを特徴とする減圧弁。
発明の詳細な説明
【技術分野】
【0001】
本発明は、減圧弁に関するものである。
続きを表示(約 2,000 文字)
【背景技術】
【0002】
特許文献1には、入力ポートと出力ポートとの連通を許容又は遮断し、ドレーンポートと出力ポートとの連通を許容又は遮断するスプール弁体と、スプール弁体を軸方向において一方の方向に付勢するスプリングと、を備えた減圧弁が開示されている。
【先行技術文献】
【特許文献】
【0003】
実開平5-2217号公報
【発明の概要】
【発明が解決しようとする課題】
【0004】
特許文献1に記載された減圧弁のように、スプール弁体と、スプール弁体を付勢するスプリングと、を備えた減圧弁では、減圧弁の作動が停止される際、スプリングの付勢力に対抗するようにスプール弁体に作用していた作動流体の圧力が低下することになる。このようにスプール弁体に作用していた作動流体の圧力が低下すると、スプリングの付勢力によってスプール弁体が移動し、スプール弁体の端部がハウジング等に衝突することで減圧弁を構成するスプール弁体やハウジングが破損してしまうおそれがある。
【0005】
本発明は、上記の問題点に鑑みてなされたものであり、減圧弁の破損を防止することを目的とする。
【課題を解決するための手段】
【0006】
本発明は、一次圧通路と二次圧通路との連通状態及びドレーン通路と二次圧通路との連通状態を制御し二次圧通路内の圧力を所定の圧力に減圧する減圧弁であって、一次圧通路と二次圧通路との連通を許容又は遮断し、ドレーン通路と二次圧通路との連通を許容又は遮断するスプール弁体と、スプール弁体を軸方向において一方の方向に常時付勢する第1付勢部材と、スプール弁体を軸方向において他方の方向に付勢可能な第2付勢部材と、二次圧通路の圧力が導かれ、軸方向において一方の方向にスプール弁体を付勢する第1推力を生成する第1圧力室と、パイロット圧力が導かれ、軸方向において他方の方向にスプール弁体を付勢する第2推力を生成する第2圧力室と、を備え、第2推力が低下することによって、第1付勢部材の付勢力によりスプール弁体が一方の方向へと移動し、軸方向におけるスプール弁体の位置が所定の位置に到達すると、スプール弁体を他方の方向に付勢する第2付勢部材の付勢力がスプール弁体に対して作用することを特徴とする。
【0007】
この発明では、第2推力が低下すると、第1付勢部材の付勢力によりスプール弁体が一方の方向へと移動することになるが、軸方向におけるスプール弁体の位置が、所定の位置に到達すると、スプール弁体を他方の方向に付勢する第2付勢部材の付勢力がスプール弁体に対して作用する。このように、スプール弁体の移動に伴う衝撃は第2付勢部材により緩衝されることから、スプール弁体がハウジングやキャップ等に衝突することによって減圧弁を構成する部材が破損してしまうことを防止することができる。
【0008】
また、本発明は、一次圧通路と二次圧通路との連通状態及びドレーン通路と二次圧通路との連通状態を制御し二次圧通路内の圧力を所定の圧力に減圧する減圧弁であって、一次圧通路と二次圧通路との連通を許容又は遮断し、ドレーン通路と二次圧通路との連通を許容又は遮断するスプール弁体と、スプール弁体を軸方向において一方の方向に常時付勢する第1付勢部材と、スプール弁体を軸方向において他方の方向に付勢可能な第2付勢部材と、二次圧通路の圧力が導かれ、軸方向において他方の方向にスプール弁体を付勢する推力を生成する圧力室と、を備え、推力が低下することによって、第1付勢部材の付勢力によりスプール弁体が一方の方向へと移動し、軸方向におけるスプール弁体の位置が所定の位置に到達すると、スプール弁体を他方の方向に付勢する第2付勢部材の付勢力がスプール弁体に対して作用することを特徴とする。
【0009】
この発明では、推力が低下すると、第1付勢部材の付勢力によりスプール弁体が一方の方向へと移動することになるが、軸方向におけるスプール弁体の位置が、所定の位置に到達すると、スプール弁体を他方の方向に付勢する第2付勢部材の付勢力がスプール弁体に対して作用する。このように、スプール弁体の移動に伴う衝撃は第2付勢部材により緩衝されることから、スプール弁体がハウジングやキャップ等に衝突することによって減圧弁を構成する部材が破損してしまうことを防止することができる。
【0010】
また、本発明は、スプール弁体に作用する第1付勢部材の付勢力を調節する付勢力調節部をさらに備え、第2付勢部材は、スプール弁体が一方の方向へと移動し、軸方向におけるスプール弁体の位置が所定の位置に到達するまでは、軸方向において一方の方向にスプール弁体を付勢する付勢力を生じることを特徴とする。
(【0011】以降は省略されています)
この特許をJ-PlatPat(特許庁公式サイト)で参照する
関連特許
カヤバ株式会社
減圧弁
1日前
カヤバ株式会社
摩擦試験機
3日前
カヤバ株式会社
電動ポンプ
1か月前
カヤバ株式会社
冗長システム
29日前
カヤバ株式会社
チェックバルブ
3日前
カヤバ株式会社
流体圧制御装置
15日前
カヤバ株式会社
モータ制御装置
1か月前
カヤバ株式会社
モータ制御装置
1か月前
カヤバ株式会社
バルブおよび緩衝器
3日前
カヤバ株式会社
バルブおよび緩衝器
3日前
カヤバ株式会社
反力アクチュエータ
23日前
カヤバ株式会社
ステアバイワイヤ装置
1か月前
カヤバ株式会社
アクチュエータユニット
13日前
カヤバ株式会社
モータ制御装置、及びプログラム
今日
カヤバ株式会社
インレットブロック及びバルブ装置
13日前
個人
生産早送り装置
1か月前
株式会社豊田自動織機
産業車両
1か月前
株式会社FUJI
工作機械
3か月前
株式会社カネカ
製造システム
27日前
オムロン株式会社
スレーブ装置
3日前
株式会社ダイヘン
移動体
3か月前
愛知製鋼株式会社
車両用システム
1か月前
株式会社FUJI
加工機械ライン
2か月前
ローム株式会社
基準電圧源
24日前
個人
作業車両自動化システム
1か月前
愛知製鋼株式会社
目標軌跡の設定方法
2か月前
ローム株式会社
半導体集積回路
3か月前
トヨタ自動車株式会社
移動制御システム
1か月前
トヨタ自動車株式会社
生産管理システム
2か月前
株式会社ダイフク
搬送設備
13日前
株式会社ダイフク
搬送設備
1か月前
トヨタ自動車株式会社
ペダル機構
4か月前
株式会社ダイフク
搬送設備
3か月前
三栄ハイテックス株式会社
基準電圧回路
3か月前
株式会社ダイフク
搬送設備
1か月前
キヤノン電子株式会社
加工装置、及び、制御方法
2か月前
続きを見る
他の特許を見る