TOP
|
特許
|
意匠
|
商標
特許ウォッチ
Twitter
他の特許を見る
10個以上の画像は省略されています。
公開番号
2025144843
公報種別
公開特許公報(A)
公開日
2025-10-03
出願番号
2024044722
出願日
2024-03-21
発明の名称
上下の既設トンネルを繋ぐ接合トンネルとその施工方法
出願人
大成建設株式会社
代理人
個人
,
個人
主分類
E21D
11/04 20060101AFI20250926BHJP(地中もしくは岩石の削孔;採鉱)
要約
【課題】上下の関係にある2つの既設トンネルを上下に延びて接合する接合トンネルに関し、凍上沈下や地震時における既設トンネルとの相対変位を効果的に吸収できる接合トンネルとその施工方法を提供する。
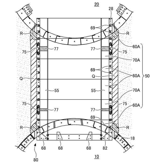
【解決手段】上下の関係にある、2つの既設の地下構造体である既設トンネル10,20を上下に延びて接合する、上下の既設トンネルを繋ぐ接合トンネル50であり、複数のセグメントリング60Aが接合されることにより形成されており、セグメントリングのうちのいずれかが可撓セグメント70Aにより形成されている。
【選択図】図10
特許請求の範囲
【請求項1】
上下の関係にある、2つの既設の地下構造体である既設トンネルを上下に延びて接合する、上下の既設トンネルを繋ぐ接合トンネルであって、
複数のセグメントリングが接合されることにより形成されており、
前記セグメントリングのうちのいずれかが、可撓セグメントにより形成されている可撓セグメントリングであることを特徴とする、上下の既設トンネルを繋ぐ接合トンネル。
続きを表示(約 870 文字)
【請求項2】
上下にある2つの前記既設トンネルに近接するセグメントリングが、前記可撓セグメントリングであることを特徴とする、請求項1に記載の上下の既設トンネルを繋ぐ接合トンネル。
【請求項3】
前記セグメントリングは、複数の鋼製セグメントにより形成されていることを特徴とする、請求項1又は2に記載の上下の既設トンネルを繋ぐ接合トンネル。
【請求項4】
前記鋼製セグメントの内側に、充填材により形成される二次覆工が設けられていることを特徴とする、請求項3に記載の上下の既設トンネルを繋ぐ接合トンネル。
【請求項5】
前記接合トンネルの周辺の地盤が、凍結工法により凍結されていることを特徴とする、請求項1又は2に記載の上下の既設トンネルを繋ぐ接合トンネル。
【請求項6】
上下の関係にある、2つの既設の地下構造体である既設トンネルを上下に延びて接合する、上下の既設トンネルを繋ぐ接合トンネルの施工方法であって、
凍結工法により、前記接合トンネルの施工領域の周辺の地盤を凍結させる、凍結工程と、
上方の前記既設トンネルを切り開いて第2坑口を形成し、該第2坑口の下方の未凍結地盤を掘削して下方の前記既設トンネルに到達し、該既設トンネルを切り開いて第1坑口を形成することにより、上下に延びる掘削孔を介して2つの前記既設トンネルを連通させる、連通工程と、
上方の前記既設トンネルからセグメントリングを吊り下ろして下方の前記既設トンネルの前記第1坑口に接合し、複数の該セグメントリングを順次吊り下ろして接合しながら上方に積層し、最上段の該セグメントリングを上方の前記既設トンネルの前記第2坑口に接合することにより、前記接合トンネルを形成する、形成工程とを有し、
前記形成工程では、前記セグメントリングのうちのいずれかを、可撓セグメントにより形成される可撓セグメントリングとすることを特徴とする、上下の既設トンネルを繋ぐ接合トンネルの施工方法。
発明の詳細な説明
【技術分野】
【0001】
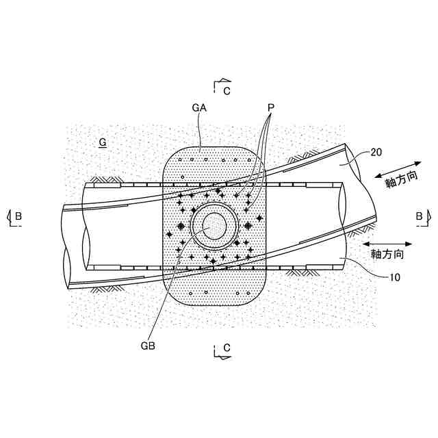
本発明は、上下の既設トンネルを繋ぐ接合トンネルとその施工方法に関する。
続きを表示(約 1,900 文字)
【背景技術】
【0002】
上下や左右の関係にある2つの既設の地下構造体の間を掘削して双方を繋ぐ施工において、その周囲に凍結工法や薬液注入工法、高圧噴射工法等の地盤改良による防護工を行った後に、地盤改良エリアの内側にある未改良エリアの掘削を行い、掘削後に2つの既設の地下構造体を接合する場合がある。
例えば、上下の関係にある2つの既設の地下構造体がいずれもシールドトンネル等のトンネルである場合に、双方を繋ぐ接続管には加工や溶接のし易さ等から、鋼製セグメントを用いたセグメントトンネルが適用されることがある。
防護工に上記する凍結工法を適用する場合、凍土の造成中は地山は凍上し、凍土が解凍した際に地山が沈下する、所謂凍上沈下が課題となる。従って、上記するように上下の関係にある既設トンネル同士を上下方向に延びる接合トンネルが繋ぐ場合に、凍土が解凍した際には、接合トンネルの凍上沈下により、接合トンネルと既設トンネルとの接合部の破損が懸念される。
【0003】
さらに、既設トンネルの位置する地盤が耐震検討上影響の大きな地盤である場合も、上下に位置する既設トンネルとそれらを繋ぐ接合トンネルとの地震時の相対変位により、接合トンネルと既設トンネルとの接合部の破損が懸念される。
以上のことから、上下の関係にある2つの既設トンネルを上下に延びて接合する接合トンネルに関し、凍上沈下や地震時における既設トンネルとの相対変位を効果的に吸収できる接合トンネルとその施工方法が望まれる。
【0004】
ここで、特許文献1には、分岐合流部のトンネル構造が提案されている。このトンネル構造は、地中で水平方向に隣接して構築されたトンネル同士を上部に位置する天井版と下部に位置する床版とで接続することにより形成されるトンネル分岐合流部が、略鉛直方向上下に隣接して構築されるトンネル構造であり、上側に構築されるトンネルにおける床版と、下側に構築されるトンネルにおける天井版とを、引張抵抗部材で連結するものである。
【先行技術文献】
【特許文献】
【0005】
特開2008-144485号公報
【発明の概要】
【発明が解決しようとする課題】
【0006】
特許文献1に記載される分岐合流部のトンネル構造によれば、上下に隣接する分岐合流部のトンネルを構成する天井版および床版のセグメント構造を縮小化することで、トンネル内空スペースを拡大できるとしているが、上記する課題、すなわち、上下の関係にある2つの既設トンネルを上下に延びて接合する接合トンネルに関する技術を開示するものではない。
【0007】
本発明は、上下の関係にある2つの既設トンネルを上下に延びて接合する接合トンネルに関し、凍上沈下や地震時における既設トンネルとの相対変位を効果的に吸収できる接合トンネルとその施工方法を提供することを目的としている。
【課題を解決するための手段】
【0008】
前記目的を達成すべく、本発明による上下の既設トンネルを繋ぐ接合トンネルの一態様は、
上下の関係にある、2つの既設の地下構造体である既設トンネルを上下に延びて接合する、上下の既設トンネルを繋ぐ接合トンネルであって、
複数のセグメントリングが接合されることにより形成されており、
前記セグメントリングのうちのいずれかが、可撓セグメントにより形成されている可撓セグメントリングであることを特徴とする。
【0009】
本態様によれば、上下の関係にある2つの既設トンネルを上下に延びて接合する接合トンネルが、複数のセグメントリングが接合されることにより形成されるとともに、セグメントリングのうちのいずれかが可撓セグメントにより形成されている可撓セグメントリングであることにより、可撓セグメントリングにて凍上沈下や地震時における既設トンネルとの相対変位を効果的に吸収することができ、このことによって、既設トンネルと接合トンネルとの接合部における破損を効果的に防止できる。
【0010】
ここで、「セグメントリングのうちのいずれかが可撓セグメントリングである」とは、例えば3以上のセグメントリングのうちの1つが可撓セグメントリングである形態や、2つが可撓セグメントリングである形態の他、3以上のセグメントリングの全てが可撓セグメントリングである形態も含んでいる。
(【0011】以降は省略されています)
この特許をJ-PlatPat(特許庁公式サイト)で参照する
関連特許
個人
掘削機
3か月前
株式会社奥村組
地山探査方法
1か月前
株式会社奥村組
地山探査装置
1か月前
株式会社奥村組
地山探査装置
1か月前
株式会社奥村組
地山探査装置
1か月前
株式会社奥村組
シールド掘進機
16日前
株式会社奥村組
シールド掘進機
4か月前
株式会社笠原建設
横孔形成方法
5か月前
花王株式会社
岩盤の掘削方法
3か月前
岐阜工業株式会社
トンネルセントル
16日前
株式会社熊谷組
天井板撤去装置
5か月前
個人
掘削機、及び、資源回収システム
5か月前
株式会社奥村組
セグメントの組立方法
1か月前
個人
オープンシールド機
1か月前
個人
オープンシールド機
1か月前
株式会社奥村組
泥土圧シールド掘進機
5か月前
個人
箱形ルーフおよびその施工法
9日前
大阪瓦斯株式会社
牽引装置
5か月前
デンカ株式会社
静的破砕方法
1か月前
株式会社金澤製作所
発進坑口のエントランス装置
4か月前
個人
メタンハイドレート等海底鉱物資源の採取方法
2か月前
大阪瓦斯株式会社
切欠開裂治具
5か月前
地中空間開発株式会社
トンネル掘削機
2日前
岐阜工業株式会社
トンネルセントルの妻板装置
2か月前
株式会社奥村組
地山探査装置に用いる地山保持材
1か月前
株式会社ケー・エフ・シー
トンネル水圧調整装置
23日前
戸田建設株式会社
掘削機切削部側壁
3か月前
日鉄建材株式会社
構造物用補強リング及び構造物
10日前
株式会社ケー・エフ・シー
モルタル注入管理システム
5か月前
株式会社奥村組
先行ビットおよびそれを備える掘削機
1か月前
株式会社奥村組
先行ビットおよびそれを備える掘削機
1か月前
株式会社奥村組
シールド掘進機およびシールド掘進方法
23日前
株式会社大林組
作業空間の養生設備
4か月前
株式会社大林組
カッタビット
5か月前
株式会社大林組
カッタビット
5か月前
株式会社奥村組
爆薬装填装置
3日前
続きを見る
他の特許を見る