TOP
|
特許
|
意匠
|
商標
特許ウォッチ
Twitter
他の特許を見る
公開番号
2025145680
公報種別
公開特許公報(A)
公開日
2025-10-03
出願番号
2024045988
出願日
2024-03-22
発明の名称
歪ゲージ式のトルクセンサを備えた波動歯車装置
出願人
株式会社ハーモニック・ドライブ・システムズ
代理人
個人
主分類
F16H
1/32 20060101AFI20250926BHJP(機械要素または単位;機械または装置の効果的機能を生じ維持するための一般的手段)
要約
【課題】装置寸法の増加を招くことなく歪ゲージ式のトルクセンサが付設された波動歯車装置を提供すること。
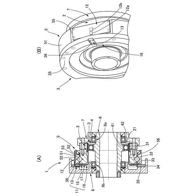
【解決手段】波動歯車装置1では、クロスローラベアリング5(支持ベアリング)の外輪51の円形外周面54の一部をDカットして形成した平坦な基板取り付け面55に、歪ゲージ式のトルクセンサ10の通信用基板12が取り付けられる。外輪51の設置スペースの外周側の一部を通信用基板12の設置スペースとして利用する。装置寸法の増加を招くことなく、通信用基板12を波動歯車装置1に組み付けることができる。装置内部に通信用基板12を組み込む場合とは異なり、通信用基板12が高温環境、潤滑剤に晒されることがないので、トルクセンサ10の寿命を確保できる。
【選択図】図2
特許請求の範囲
【請求項1】
剛性の内歯歯車と、
可撓性の外歯歯車と、
前記外歯歯車を半径方向に撓めて当該外歯歯車を前記内歯歯車に部分的にかみ合わせる波動発生器と、
前記内歯歯車および前記外歯歯車を相対回転可能に支持する支持ベアリングと、
前記外歯歯車に貼り付けた歪ゲージの出力に基づき負荷トルクを検出するトルクセンサと、
を備えた波動歯車装置において、
前記支持ベアリングは、
前記外歯歯車あるいは前記内歯歯車に同軸に取り付けた外輪と、
前記外輪の円形外周面の一部をDカットして形成された平坦な基板取り付け面と、
を備えており、
前記トルクセンサは、センサ出力をA/D変換して外部に送信する通信基板を備えており、当該通信基板は前記基板取り付け面に取り付けられていることを特徴とする歪ゲージ式のトルクセンサを備えた波動歯車装置。
続きを表示(約 800 文字)
【請求項2】
前記外輪の前記円形外周面は、前記基板取り付け面と点対称となるように当該円形外周面の一部をDカットして形成された平坦面を備えている請求項1に記載の歪ゲージ式のトルクセンサを備えた波動歯車装置。
【請求項3】
前記外歯歯車は、外歯が形成されている半径方向に撓み可能な円筒状胴部と、前記円筒状胴部の一端から半径方向の外側あるいは内側に延びる円盤状のダイヤフラムとを備えており、
前記歪ゲージは、前記ダイヤフラムに貼り付けられており、
前記トルクセンサは、前記歪ゲージのブリッジ回路を構成する配線パターンを含む配線を備えたセンサ基板を備え、前記ブリッジ回路の出力である前記センサ出力が前記通信基板のA/D変換部され、
前記センサ基板は、前記ダイヤフラムに対して軸方向から同軸に対峙する位置に配置されているリジッド基板あるいは、前記ダイヤフラムに貼り付けたフレキシブルプリント配線基板である請求項1または2に記載の歪ゲージ式のトルクセンサを備えた波動歯車装置。
【請求項4】
前記外歯歯車はシルクハット形状をしており、前記ダイヤフラムは前記円筒状胴部の一端から半径方向の外側に延び、前記ダイヤフラムの外周縁には、円環形状のボスが一体形成されており、
前記ボスは、前記支持ベアリングの前記外輪に同軸に取り付けられている請求項3に記載の歪ゲージ式のトルクセンサを備えた波動歯車装置。
【請求項5】
前記外歯歯車はカップ形状をしており、前記ダイヤフラムは前記円筒状胴部の一端から半径方向の内側に延び、前記ダイヤフラムの内周縁には、円盤形状あるいは円環形状のボスが一体形成されており、
前記ボスは、前記支持ベアリングの内輪に同軸に取り付けられている請求項3に記載の歪ゲージ式のトルクセンサを備えた波動歯車装置。
発明の詳細な説明
【技術分野】
【0001】
本発明は歪ゲージ式のトルクセンサを備えた波動歯車装置に関する。
続きを表示(約 1,900 文字)
【背景技術】
【0002】
波動歯車装置は、各種機器の駆動部、例えば図1Bに示すように、作業用のロボットシステム100Aの関節部などのロボット機内に、減速機として組み込まれて使用される。この場合、負荷トルクの検出には、歪ゲージ式のトルクセンサ10Aが用いられることがある。歪ゲージ式のトルクセンサ10Aは、波動歯車装置1Aに組み込まれた歪ゲージ式のトルク検出部11A、ロボット機外に設置された通信用基板12A、ロボット制御盤110に搭載されているトルク検出用の信号処理部14A等から構成される。
【0003】
トルク検出部11Aは、複数枚の歪ゲージ、歪ゲージ間を接続してブリッジ回路を構成している配線パターン、歪ゲージから引き出されるゲージリード線の半田ランド、その他の配線部を備えた歪ゲージ配線基板などを備えている。歪ゲージの検出出力であるブリッジ回路からのアナログ出力は、ロボット機外に引き出されるケーブル配線13Aを介して通信用基板12Aに出力され、通信用基板12AにおいてA/D変換された後に信号処理部14Aに伝送され、信号処理部14Aにおいて負荷トルクが算出される。
【0004】
歪ゲージ式のトルクセンサを備えた波動歯車装置は、例えば、特許文献1、2において提案されている。歪ゲージは、波動歯車装置の構成部品であるカップ形状あるいはシルクハット形状の外歯歯車におけるダイヤフラムなどの撓み変形する部位に貼り付けられている。また、歪ゲージ配線基板として、ダイヤフラムに貼り付けたフレキシブルプリント配線基板が用いられている。
【先行技術文献】
【特許文献】
【0005】
特開2024-16800号公報
特開2024-16799号公報
【発明の概要】
【発明が解決しようとする課題】
【0006】
歪ゲージ式のトルクセンサを備えた波動歯車装置では、通信用基板が装置外部に設置される。内部から外部に引き回されているケーブル配線(アナログ信号線)は、断線、ノイズ発生の問題がある。断線、ノイズ発生を回避あるいは抑制するためには、通信用基板を装置内部に組み込み、アナログ信号線が短くて済むようにすることが望ましい。そのためには、装置内部に通信用基板の設置スペースを確保する必要があり、全長が長くなる等の別の問題が発生する。また、通信用基板を装置内部に配置する場合には、通信用基板が、装置内部の高温環境やグリース等の潤滑剤に晒されないように対策を講じる必要がある。
【0007】
本発明の目的は、このような点に鑑みて、装置寸法の増加を招くことなく、また、装置内部の高温環境や潤滑剤に晒されないように、トルクセンサの通信用基板が組み込まれた歪ゲージ式のトルクセンサを備えた波動歯車装置を提供することにある。
【課題を解決するための手段】
【0008】
本発明の歪ゲージ式のトルクセンサを備えた波動歯車装置は、
剛性の内歯歯車と、
可撓性の外歯歯車と、
前記外歯歯車を半径方向に撓めて当該外歯歯車を前記内歯歯車に部分的にかみ合わせる波動発生器と、
前記内歯歯車および前記外歯歯車を相対回転可能に支持する支持ベアリングと、
前記外歯歯車に貼り付けた歪ゲージの出力に基づき負荷トルクを検出するトルクセンサと、
を備えており、
前記支持ベアリングは、
前記外歯歯車あるいは前記内歯歯車に同軸に取り付けた外輪と、
前記外輪の円形外周面の一部をDカットして形成された平坦な基板取り付け面と、
を備えており、
前記トルクセンサは、センサ出力をA/D変換して外部に送信する通信用基板を備えており、当該通信用基板は前記基板取り付け面に取り付けられていることを特徴とする。
【0009】
ここで、外輪の外周面には、基板取り付け面と点対称となるように、その円形外周面の一部をDカットして形成した平坦面を設けることが望ましい。これにより、基板取り付け面を形成したことに起因する外輪の重心位置、応力分布の偏りを抑制でき、トルク検出精度の低下などの弊害を回避できる。
【0010】
また、カップ形状あるいはシルクハット形状の外歯歯車の場合には、そのダイヤフラムに、歪ゲージを貼り付けることができる。この場合には、歪ゲージのブリッジ回路を構成する配線パターンを含む配線を備えた歪ゲージ配線基板として、ダイヤフラムに取り付けたフレキシブルプリント配線基板を用いることができる。
【発明の効果】
(【0011】以降は省略されています)
この特許をJ-PlatPat(特許庁公式サイト)で参照する
関連特許
個人
鍋虫ねじ
1か月前
個人
ホース保持具
5か月前
個人
回転伝達機構
2か月前
個人
紛体用仕切弁
1か月前
個人
トーションバー
6か月前
個人
差動歯車用歯形
3か月前
個人
給排気装置
1日前
個人
ジョイント
19日前
株式会社不二工機
電磁弁
3か月前
個人
ボルトナットセット
6か月前
株式会社不二工機
電磁弁
4か月前
個人
地震の揺れ回避装置
2か月前
個人
ナット
20日前
個人
吐出量監視装置
1か月前
カヤバ株式会社
緩衝器
6か月前
カヤバ株式会社
ダンパ
3か月前
カヤバ株式会社
緩衝器
3か月前
株式会社三協丸筒
枠体
6か月前
カヤバ株式会社
緩衝器
3か月前
カヤバ株式会社
ダンパ
3か月前
カヤバ株式会社
緩衝器
今日
柿沼金属精機株式会社
分岐管
1か月前
個人
ベルトテンショナ
7か月前
個人
固着具と固着具の固定方法
4か月前
株式会社タカギ
水栓装置
2か月前
株式会社不二工機
電動弁
6か月前
株式会社不二工機
電動弁
1日前
株式会社ノーリツ
分配弁
5か月前
株式会社フジキン
ボールバルブ
4か月前
株式会社奥村組
制振機構
9日前
株式会社不二工機
電磁弁
1か月前
株式会社奥村組
制振機構
9日前
株式会社ノーリツ
分配弁
5か月前
株式会社ノーリツ
分配弁
5か月前
株式会社ノーリツ
分配弁
5日前
アズビル株式会社
回転弁
13日前
続きを見る
他の特許を見る