TOP
|
特許
|
意匠
|
商標
特許ウォッチ
Twitter
他の特許を見る
10個以上の画像は省略されています。
公開番号
2025146067
公報種別
公開特許公報(A)
公開日
2025-10-03
出願番号
2024046654
出願日
2024-03-22
発明の名称
シャリ玉処理装置
出願人
鈴茂器工株式会社
代理人
個人
主分類
A23L
7/10 20160101AFI20250926BHJP(食品または食料品;他のクラスに包含されないそれらの処理)
要約
【課題】トレイに搭載されるシャリ玉の配置データを簡便に作成できるシャリ玉処理装置を提供する。
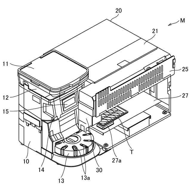
【解決手段】米飯塊を押圧してシャリ玉を成形するシャリ玉成形機10で成形されたシャリ玉が搭載されるトレイTが設置されるトレイ設置テーブル27と、シャリ玉成形機10で成形されたシャリ玉をトレイ設置テーブル27に設置されたトレイTに移載する移載機30と、トレイTに搭載される複数個のシャリ玉の配置を視覚的に表した指標体からシャリ玉の配置情報を取得するエリアカメラ40と、エリアカメラ40で取得されたシャリ玉の配置情報からトレイTに搭載されるシャリ玉の配置データを作成する配置データ作成部41と、シャリ玉成形機10で成形されたシャリ玉が配置データ作成部41で作成された配置データの位置に移載されるように移載機30を制御する制御部Cとを有する。
【選択図】図12
特許請求の範囲
【請求項1】
米飯塊を押圧してシャリ玉を成形するシャリ玉成形手段と、
前記シャリ玉成形手段で成形されたシャリ玉が搭載される容器が設置される容器設置部と、
前記シャリ玉成形手段で成形されたシャリ玉を前記容器設置部に設置された容器に移載するシャリ玉移載手段と、
容器に搭載される複数個のシャリ玉の配置を視覚的に表した指標体からシャリ玉の配置情報を取得する配置情報取得手段と、
前記配置情報取得手段で取得されたシャリ玉の配置情報から容器に搭載されるシャリ玉の個数および座標データ、またはシャリ玉の個数、座標データおよび傾斜角度で構成される配置データを作成する配置データ作成手段と、
前記シャリ玉成形手段で成形されたシャリ玉が前記配置データ作成手段で作成された前記配置データの位置に移載されるように前記シャリ玉移載手段を制御する制御手段と、
を有することを特徴とするシャリ玉処理装置。
続きを表示(約 1,600 文字)
【請求項2】
前記配置データ作成手段で作成される配置データは、単一の容器についての配置データ、または単一の容器についての配置データをX座標およびY座標の少なくとも何れかの座標軸に沿って移動させて構成された複数の容器についての配置データである、
ことを特徴とする請求項1記載のシャリ玉処理装置。
【請求項3】
前記容器設置部には、容器を所定位置に位置決めする位置決め部が設けられている、
ことを特徴とする請求項1または2記載のシャリ玉処理装置。
【請求項4】
前記配置情報取得手段は、前記容器設置部の上方に配置されている、
ことを特徴とする請求項1または2記載のシャリ玉処理装置。
【請求項5】
前記指標体が設置される指標体設置部をさらに有し、
前記配置情報取得手段は、前記指標体設置部の上方に配置されている、
ことを特徴とする請求項1または2記載のシャリ玉処理装置。
【請求項6】
前記容器設置部を水平方向に移動させる容器設置部移動手段をさらに有し、
前記シャリ玉移載手段は、第1の方向に直線状に往復移動するとともに、前記シャリ玉成形手段で成形されたシャリ玉を把持して複数の位置に移載する把持手段を備え、
前記容器設置部移動手段は、前記容器設置部を前記第1の方向と直交する第2の方向に移動させ、
前記制御手段は、前記容器設置部移動手段で前記容器設置部を前記第2の方向に移動させながら、前記把持手段を前記第1の方向に移動させてシャリ玉を移載する制御を実行する、
ことを特徴とする請求項1または2記載のシャリ玉処理装置。
【請求項7】
前記制御手段は、
前記把持手段が前記第1の方向に移動してシャリ玉を移載する制御を実行するか、
前記把持手段が前記第1の方向に移動してシャリ玉を移載したならば、前記容器設置部移動手段により前記容器設置部を前記第2の方向に所定量移動させた後に前記把持手段が前記第1の方向に移動してシャリ玉を移載する制御を少なくとも1回実行する、
ことを特徴とする請求項6記載のシャリ玉処理装置。
【請求項8】
前記容器設置部を水平方向に移動させる容器設置部移動手段をさらに有し、
前記シャリ玉移載手段は、前記シャリ玉成形手段で成形されたシャリ玉を定位置で移載し、
前記容器設置部移動手段は、前記容器設置部を第1の方向および当該第1の方向と直交する第2の方向に移動させ、
前記制御手段は、前記定位置に対応したシャリ玉の移載位置がシャリ玉を移載するごとに変更されるように前記容器設置部移動手段により前記容器設置部を移動させながら前記シャリ玉移載手段でシャリ玉を移載する制御を実行する、
ことを特徴とする請求項1または2記載のシャリ玉処理装置。
【請求項9】
前記シャリ玉移載手段は、
直線状または円弧状に往復移動するとともに、前記シャリ玉成形手段で成形されたシャリ玉を把持して定位置で移載する把持手段である、
ことを特徴とする請求項8記載のシャリ玉処理装置。
【請求項10】
前記シャリ玉成形手段は、
水平面内で間欠的に回転するターンテーブルと、
前記ターンテーブルの周方向に沿って所定の間隔毎に設けられた複数個の成形孔と、
前記ターンテーブルの前記成形孔に投入された米飯塊を押圧することで前記シャリ玉を成形する成形部材と、
を備え、
成形された前記ターンテーブル上のシャリ玉が前記移動手段により移動される、
ことを特徴とする請求項1または2記載のシャリ玉処理装置。
発明の詳細な説明
【技術分野】
【0001】
本発明は、シャリ玉処理装置に関し、成形されたシャリ玉を容器に搭載するシャリ玉の配置設定に適用して有効な技術に関するものである。
続きを表示(約 1,400 文字)
【背景技術】
【0002】
回転寿司店等において、シャリ玉成形機で成形されたシャリ玉は、皿に移し替えられてから魚介類等のような寿司種が盛り付けられて来店客に提供されている(イートイン)。その一方で、にぎり寿司をトレイなどの容器に搭載して自宅等へ持ち帰って食べるテイクアウトの需要に対応するために、あるいは、シャリ玉成形機で成形されたシャリ玉を一旦容器に移載しておいて次工程に送るために、シャリ玉を自動的に容器に移載することのできるシャリ玉処理装置がある。
【0003】
シャリ玉成形機で成形されたシャリ玉を容器に移載する技術については、例えば特開2017-108670号公報(特許文献1)に開示されている。
【先行技術文献】
【特許文献】
【0004】
特開2017-108670号公報
【発明の概要】
【発明が解決しようとする課題】
【0005】
ここで、従来のシャリ玉処理装置では、初期設定時に容器の実測寸法からシャリ玉の配置データのプログラムを作成し、生産ができる状態にしている。つまり、搭載されるシャリ玉の位置を容器の実測寸法に基づいて1個ずつ割り当てた配置データをプログラミングしておいて、シャリ玉の生産を行っている。
【0006】
このような従来のシャリ玉処理装置では、熟練者による作業が前提となってしまうのみならず、配置データの作成に時間を要することになる。
【0007】
本発明は、上述の技術的背景からなされたものであって、シャリ玉処理装置において、容器に搭載されるシャリ玉の配置データを簡便に作成することができる技術を提供することを目的とする。
【課題を解決するための手段】
【0008】
上記課題を解決するため、請求項1に記載の本発明のシャリ玉処理装置は、米飯塊を押圧してシャリ玉を成形するシャリ玉成形手段と、前記シャリ玉成形手段で成形されたシャリ玉が搭載される容器が設置される容器設置部と、前記シャリ玉成形手段で成形されたシャリ玉を前記容器設置部に設置された容器に移載するシャリ玉移載手段と、容器に搭載される複数個のシャリ玉の配置を視覚的に表した指標体からシャリ玉の配置情報を取得する配置情報取得手段と、前記配置情報取得手段で取得されたシャリ玉の配置情報から容器に搭載されるシャリ玉の個数および座標データ、またはシャリ玉の個数、座標データおよび傾斜角度で構成される配置データを作成する配置データ作成手段と、前記シャリ玉成形手段で成形されたシャリ玉が前記配置データ作成手段で作成された前記配置データの位置に移載されるように前記シャリ玉移載手段を制御する制御手段と、を有することを特徴とする。
【0009】
請求項2に記載の本発明のシャリ玉処理装置は、請求項1記載の発明において、前記配置データ作成手段で作成される配置データは、単一の容器についての配置データ、または単一の容器についての配置データをX座標およびY座標の少なくとも何れかの座標軸に沿って移動させて構成された複数の容器についての配置データである、ことを特徴とする。
【0010】
請求項3に記載の本発明のシャリ玉処理装置は、請求項1または2記載の発明において、前記容器設置部には、容器を所定位置に位置決めする位置決め部が設けられている、ことを特徴とする。
(【0011】以降は省略されています)
この特許をJ-PlatPat(特許庁公式サイト)で参照する
関連特許
鈴茂器工株式会社
シャリ玉処理装置
5日前
鈴茂器工株式会社
シャリ玉処理装置
5日前
鈴茂器工株式会社
板海苔分離装置
6か月前
個人
ペットフード
5か月前
個人
古代食品塩梅醤
4か月前
個人
健康促進霊芝茶
19日前
個人
焼き魚の製造方法
6か月前
個人
血圧降下用組成物
5か月前
個人
ジャム
4か月前
ライソン株式会社
焙煎機
3か月前
個人
具入り餅食品
5か月前
不二製油株式会社
グミ類
29日前
不二製油株式会社
加工食品
1か月前
不二製油株式会社
油性食品
9日前
個人
ヨーグルト等の発酵器
16日前
株式会社東洋新薬
経口組成物
3か月前
株式会社ソディック
計量装置
4か月前
不二製油株式会社
卵代替素材
4か月前
池田食研株式会社
微粉状食品
3か月前
第一工業製薬株式会社
組成物
6か月前
株式会社東洋新薬
経口組成物
1か月前
不二製油株式会社
油脂組成物
28日前
不二製油株式会社
油脂組成物
2か月前
株式会社ソディック
計量装置
4か月前
池田食研株式会社
風味改善剤
3か月前
第一工業製薬株式会社
組成物
6か月前
株式会社東洋新薬
飲食用組成物
5か月前
有限会社丸繁商店
メカブ
5か月前
不二製油株式会社
異風味抑制剤
5か月前
有限会社丸繁商店
メカブ
5か月前
アサヒ飲料株式会社
飲料
3か月前
不二製油株式会社
チーズ様食品
4か月前
第一工業製薬株式会社
固形食品
6か月前
有限会社丸繁商店
メカブ
5か月前
奥野製薬工業株式会社
処理方法
1日前
東ソー株式会社
食品品質保持剤
2か月前
続きを見る
他の特許を見る