TOP
|
特許
|
意匠
|
商標
特許ウォッチ
Twitter
他の特許を見る
10個以上の画像は省略されています。
公開番号
2025146068
公報種別
公開特許公報(A)
公開日
2025-10-03
出願番号
2024046655
出願日
2024-03-22
発明の名称
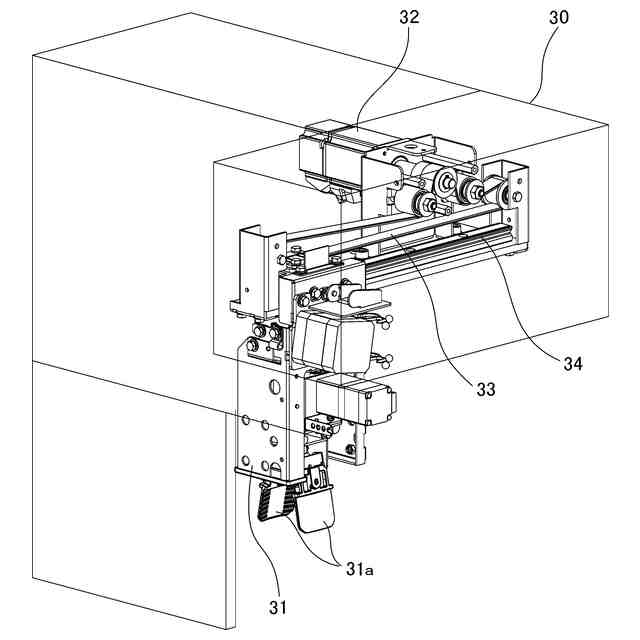
シャリ玉処理装置
出願人
鈴茂器工株式会社
代理人
個人
主分類
A23L
7/10 20160101AFI20250926BHJP(食品または食料品;他のクラスに包含されないそれらの処理)
要約
【課題】トレイ設置テーブルにトレイの位置決め部を設けなくてもシャリ玉をトレイに移載できるシャリ玉処理装置を提供する。
【解決手段】シャリ玉成形機10で成形されたシャリ玉が搭載されるトレイTが設置されるトレイ設置テーブル27と、成形されたシャリ玉をトレイTに移載する移載機30と、設置されたトレイTの形状および設置位置を取得するエリアカメラ40と、トレイTの形状およびトレイTに搭載されるシャリ玉の配置情報が格納されたメモリ42と、エリアカメラ40で取得されたトレイTの設置位置についての基準位置からのズレに基づいてメモリ42に格納されたシャリ玉の配置情報にズレ補正を加え、トレイTに搭載されるシャリ玉の個数および座標データで構成される配置データを作成する配置データ作成部41と、シャリ玉が配置データの位置に移載されるように移載機30を制御する制御部Cとを有する。
【選択図】図11
特許請求の範囲
【請求項1】
米飯塊を押圧してシャリ玉を成形するシャリ玉成形手段と、
前記シャリ玉成形手段で成形されたシャリ玉が搭載される容器が設置される容器設置部と、
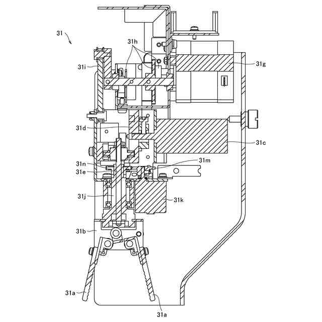
前記シャリ玉成形手段で成形されたシャリ玉を前記容器設置部に設置された容器に移載するシャリ玉移載手段と、
前記容器設置部に設置された1または複数の容器についての形状および設置位置を取得する容器情報取得手段と、
前記容器設置部に設置された容器の形状および当該容器に搭載されるシャリ玉の配置情報が格納された記憶手段と、
前記容器情報取得手段で取得された容器の設置位置についての基準位置からのズレに基づいて前記記憶手段に格納されたシャリ玉の配置情報にズレ補正を加えて、容器に搭載されるシャリ玉の個数および座標データ、またはシャリ玉の個数、座標データおよび傾斜角度で構成される配置データを作成する配置データ作成手段と、
前記シャリ玉成形手段で成形されたシャリ玉が前記配置データ作成手段で作成された前記配置データの位置に移載されるように前記シャリ玉移載手段を制御する制御手段と、
を有することを特徴とするシャリ玉処理装置。
続きを表示(約 1,700 文字)
【請求項2】
前記記憶手段には、複数種類の容器についての形状およびシャリ玉の配置情報が格納されており、
前記配置データ作成手段では、前記容器情報取得手段で取得された容器と同一形状の容器についてのシャリ玉の配置情報にズレ補正を加える、
ことを特徴とする請求項1記載のシャリ玉処理装置。
【請求項3】
前記容器設置部を水平方向に移動させる容器設置部移動手段をさらに有し、
前記シャリ玉移載手段は、第1の方向に直線状に往復移動するとともに、前記シャリ玉成形手段で成形されたシャリ玉を把持して複数の位置に移載する把持手段を備え、
前記容器設置部移動手段は、前記容器設置部を前記第1の方向と直交する第2の方向に移動させ、
前記制御手段は、前記容器設置部移動手段で前記容器設置部を前記第2の方向に移動させながら、前記把持手段を前記第1の方向に移動させてシャリ玉を移載する制御を実行する、
ことを特徴とする請求項1または2記載のシャリ玉処理装置。
【請求項4】
前記配置データ作成手段は、前記容器情報取得手段において複数の容器についての形状および設置位置が取得された場合、前記第2の方向の座標データの数値が小さい順または大きい順にシャリ玉配置の順位付けをし、当該順位付けにおいて前記第2の方向の座標データの数値が同じになったときは、前記第1の方向の座標データの数値が小さい順または大きい順にシャリ玉配置の順位付けをする、
ことを特徴とする請求項3記載のシャリ玉処理装置。
【請求項5】
前記制御手段は、
前記把持手段が前記第1の方向に移動してシャリ玉を移載する制御を実行するか、
前記把持手段が前記第1の方向に移動してシャリ玉を移載したならば、前記容器設置部移動手段により前記容器設置部を前記第2の方向に所定量移動させた後に前記把持手段が前記第1の方向に移動してシャリ玉を移載する制御を少なくとも1回実行する、
ことを特徴とする請求項3記載のシャリ玉処理装置。
【請求項6】
前記容器設置部を水平方向に移動させる容器設置部移動手段をさらに有し、
前記シャリ玉移載手段は、前記シャリ玉成形手段で成形されたシャリ玉を定位置で移載し、
前記容器設置部移動手段は、前記容器設置部を第1の方向および当該第1の方向と直交する第2の方向に移動させ、
前記制御手段は、前記定位置に対応したシャリ玉の移載位置がシャリ玉を移載するごとに変更されるように前記容器設置部移動手段により前記容器設置部を移動させながら前記シャリ玉移載手段でシャリ玉を移載する制御を実行する、
ことを特徴とする請求項1または2記載のシャリ玉処理装置。
【請求項7】
前記配置データ作成手段は、前記容器情報取得手段において複数の容器についての形状および設置位置が取得された場合、前記第2の方向の座標データの数値が小さい順または大きい順にシャリ玉配置の順位付けをし、当該順位付けにおいて前記第2の方向の座標データの数値が同じになったときは、前記第1の方向の座標データの数値が小さい順または大きい順にシャリ玉配置の順位付けをする、
ことを特徴とする請求項6記載のシャリ玉処理装置。
【請求項8】
前記シャリ玉移載手段は、
直線状または円弧状に往復移動するとともに、前記シャリ玉成形手段で成形されたシャリ玉を把持して定位置で移載する把持手段である、
ことを特徴とする請求項6記載のシャリ玉処理装置。
【請求項9】
前記シャリ玉成形手段は、
水平面内で間欠的に回転するターンテーブルと、
前記ターンテーブルの周方向に沿って所定の間隔毎に設けられた複数個の成形孔と、
前記ターンテーブルの前記成形孔に投入された米飯塊を押圧することで前記シャリ玉を成形する成形部材と、
を備え、
成形された前記ターンテーブル上のシャリ玉が前記移動手段により移動される、
ことを特徴とする請求項1記載のシャリ玉処理装置。
発明の詳細な説明
【技術分野】
【0001】
本発明は、シャリ玉処理装置に関し、成形されたシャリ玉を容器に搭載するシャリ玉の配置設定に適用して有効な技術に関するものである。
続きを表示(約 1,600 文字)
【背景技術】
【0002】
回転寿司店等において、シャリ玉成形機で成形されたシャリ玉は、皿に移し替えられてから魚介類等のような寿司種が盛り付けられて来店客に提供されている(イートイン)。その一方で、にぎり寿司をトレイなどの容器に搭載して自宅等へ持ち帰って食べるテイクアウトの需要に対応するために、あるいは、シャリ玉成形機で成形されたシャリ玉を一旦容器に移載しておいて次工程に送るために、シャリ玉を自動的に容器に移載することのできるシャリ玉処理装置がある。
【0003】
シャリ玉成形機で成形されたシャリ玉を容器に移載する技術については、例えば特開2017-108670号公報(特許文献1)に開示されている。
【先行技術文献】
【特許文献】
【0004】
特開2017-108670号公報
【発明の概要】
【発明が解決しようとする課題】
【0005】
ここで、従来のシャリ玉処理装置では、初期設定時に容器の実測寸法からシャリ玉の配置データのプログラムを作成し、生産ができる状態にしている。つまり、搭載されるシャリ玉の位置を容器の実測寸法に基づいて1個ずつ割り当てた配置データ(XYθの配置データ)を予めプログラミングしておいて、シャリ玉の生産を行っている。
【0006】
このような従来のシャリ玉処理装置において、シャリ玉の配置データはトレイの設置されるトレイ設置ステージ(容器設置部)に対する固定値のために、シャリ玉を搭載するトレイはトレイ設置ステージの決められた位置に設置されていなければならない。そのために、トレイ設置ステージには、設置されるトレイを位置決めするための位置決め部を設けておくことが必要になる。
【0007】
しかしながら、トレイの形状や位置決め部の形状・高さによっては、作業者が繁雑な作業の流れの中で、トレイを位置決め部に合わせて設置することを確実に行うのが困難な場合がある。特に、複数のトレイを設置する場合には、設置しようとするトレイが既に設置したトレイに当たってずれる懸念がある。
【0008】
また、ある形状のトレイに合わせた位置決め部を設けておくと、異なる形状のトレイを使用する場合には、位置決め部の設置位置を動かしたり、別の形状の位置決め部に交換する手間が生じる。
【0009】
本発明は、上述の技術的背景からなされたものであって、容器設置部に容器の位置決め部を設けなくてもシャリ玉を容器に移載することのできるシャリ玉処理装置を提供することを目的とする。
【課題を解決するための手段】
【0010】
上記課題を解決するため、請求項1に記載の本発明のシャリ玉処理装置は、米飯塊を押圧してシャリ玉を成形するシャリ玉成形手段と、前記シャリ玉成形手段で成形されたシャリ玉が搭載される容器が設置される容器設置部と、前記シャリ玉成形手段で成形されたシャリ玉を前記容器設置部に設置された容器に移載するシャリ玉移載手段と、前記容器設置部に設置された1または複数の容器についての形状および設置位置を取得する容器情報取得手段と、前記容器設置部に設置された容器の形状および当該容器に搭載されるシャリ玉の配置情報が格納された記憶手段と、前記容器情報取得手段で取得された容器の設置位置についての基準位置からのズレに基づいて前記記憶手段に格納されたシャリ玉の配置情報にズレ補正を加えて、容器に搭載されるシャリ玉の個数および座標データ、またはシャリ玉の個数、座標データおよび傾斜角度で構成される配置データを作成する配置データ作成手段と、前記シャリ玉成形手段で成形されたシャリ玉が前記配置データ作成手段で作成された前記配置データの位置に移載されるように前記シャリ玉移載手段を制御する制御手段と、を有することを特徴とする。
(【0011】以降は省略されています)
この特許をJ-PlatPat(特許庁公式サイト)で参照する
関連特許
個人
古代食品塩梅醤
4か月前
個人
健康促進霊芝茶
19日前
個人
ジャム
4か月前
ライソン株式会社
焙煎機
3か月前
不二製油株式会社
グミ類
29日前
不二製油株式会社
油性食品
9日前
不二製油株式会社
加工食品
1か月前
個人
ヨーグルト等の発酵器
16日前
池田食研株式会社
微粉状食品
3か月前
株式会社ソディック
計量装置
4か月前
不二製油株式会社
油脂組成物
2か月前
株式会社ソディック
計量装置
4か月前
株式会社東洋新薬
経口組成物
1か月前
不二製油株式会社
卵代替素材
4か月前
池田食研株式会社
風味改善剤
3か月前
不二製油株式会社
油脂組成物
28日前
株式会社東洋新薬
経口組成物
3か月前
アサヒ飲料株式会社
飲料
3か月前
不二製油株式会社
チーズ様食品
4か月前
奥野製薬工業株式会社
処理方法
1日前
東ソー株式会社
食品品質保持剤
2か月前
SoPros株式会社
経口養毛剤
4か月前
株式会社エポック社
絞出具
1日前
東洋ライス株式会社
搗精米
1か月前
不二製油株式会社
被覆用油性食品
今日
日本メナード化粧品株式会社
飲料
19日前
株式会社ソディック
食品搬送装置
2か月前
池田食研株式会社
油脂含有造粒顆粒
1か月前
株式会社寺田製作所
散茶装置
4か月前
池田食研株式会社
食品生地用組成物
2か月前
個人
天然マンゴー果汁色青汁
3か月前
個人
廃棄食品の資源化法とその装置
2か月前
大山食品株式会社
お好み焼き
4か月前
不二製油株式会社
冷凍霜付き抑制剤
5日前
株式会社米島本店
七草加工食品
3か月前
不二製油株式会社
ソフトチョコレート
今日
続きを見る
他の特許を見る