TOP
|
特許
|
意匠
|
商標
特許ウォッチ
Twitter
他の特許を見る
10個以上の画像は省略されています。
公開番号
2025146268
公報種別
公開特許公報(A)
公開日
2025-10-03
出願番号
2024046945
出願日
2024-03-22
発明の名称
異常予兆検知装置、異常予兆検知システム、異常予兆検知方法及び異常予兆検知プログラム
出願人
三菱電機株式会社
代理人
個人
主分類
G05B
23/02 20060101AFI20250926BHJP(制御;調整)
要約
【課題】設備機器が正常であるにも関わらずノイズの影響で異常の予兆を誤検知することを抑制した異常予兆検知装置を得ること。
【解決手段】異常予兆検知装置10は、監視対象施設に設置された設備機器の運転データを時系列で纏めた時系列運転データから抽出した周期性を有するデータである周期性データの将来の値を時系列で予測して周期性データの通常範囲を設定し、周期性データの通常範囲から周期性データが少なくとも2回逸脱したことに基づいて運転データの異常予兆の有無を判定し、異常予兆判定結果を表示させる処理を行う処理部12を備える。
【選択図】図2
特許請求の範囲
【請求項1】
監視対象施設に設置された設備機器の運転データを時系列で纏めた時系列運転データから抽出した周期性を有するデータである周期性データの将来の値を時系列で予測して前記周期性データの通常範囲を設定し、前記周期性データの前記通常範囲から前記周期性データが少なくとも2回逸脱したことに基づいて前記運転データの異常予兆の有無を判定し、異常予兆判定結果を表示させる処理を行う処理部を備えることを特徴とする異常予兆検知装置。
続きを表示(約 1,400 文字)
【請求項2】
前記処理部は、
前記設備機器を制御する装置から前記運転データを取得する運転データ取得部と、
前記時系列運転データから、前記周期性データを抽出する周期性データ抽出部と、
前記周期性データの将来の値を時系列で予測する時系列予測部と、
前記周期性データの時系列予測値に基づいて前記周期性データの前記通常範囲を設定する通常範囲設定部と、
前記周期性データの前記通常範囲からの逸脱を判定する逸脱判定部と、
前記逸脱判定部による少なくとも2回の前記逸脱ありの判定に基づいて、前記設備機器の異常予兆を判定する異常予兆判定部と、を有することを特徴とする請求項1に記載の異常予兆検知装置。
【請求項3】
前記周期性データ抽出部は、エネルギー関連の形態素が信号名に含まれる前記時系列運転データを前記周期性データとして抽出することを特徴とする請求項2に記載の異常予兆検知装置。
【請求項4】
前記異常予兆判定部は、前記逸脱判定部が予め設定された回数連続して前記逸脱ありと判定した場合、及び直近の予め設定された回数の前記逸脱の発生判定結果のうち、逸脱ありが占める割合が予め設定された閾値以上の場合の少なくとも一方に該当する場合に異常予兆ありと判定することを特徴とする請求項2に記載の異常予兆検知装置。
【請求項5】
前記処理部は、
前記設備機器の接続関係を示す設備接続関係情報を取得する設備接続関係情報取得部を有し、
前記異常予兆判定部は、前記設備接続関係情報と、前記逸脱判定部による少なくとも2回の前記逸脱の検知とに基づいて異常予兆の有無を判定することを特徴とする請求項2に記載の異常予兆検知装置。
【請求項6】
前記処理部は、前記異常予兆判定結果に基づいた前記設備機器の制御の実行を、前記設備機器を制御する装置に指示する制御指示部を有することを特徴とする請求項2に記載の異常予兆検知装置。
【請求項7】
監視対象施設に設置された設備機器から運転データを収集するサーバと、
請求項1から6のいずれか1項に記載の異常予兆検知装置とを備えることを特徴とする異常予兆検知システム。
【請求項8】
監視対象施設に設置された設備機器の運転データを時系列で纏めた時系列運転データから抽出した周期性を有するデータである周期性データの将来の値を時系列で予測して前記周期性データの通常範囲を設定する処理と、
前記周期性データの前記通常範囲から前記周期性データが少なくとも2回逸脱したことに基づいて前記運転データの異常予兆の有無を判定する処理と、
異常予兆判定結果を表示させる処理とを備えることを特徴とする異常予兆検知方法。
【請求項9】
監視対象施設に設置された設備機器の運転データを時系列で纏めた時系列運転データから抽出した周期性を有するデータである周期性データの将来の値を時系列で予測して前記周期性データの通常範囲を設定する処理と、
前記周期性データの前記通常範囲から前記周期性データが少なくとも2回逸脱したことに基づいて前記運転データの異常予兆の有無を判定する処理と、
異常予兆判定結果を表示させる処理とをコンピュータに実行させることを特徴とする異常予兆検知プログラム。
発明の詳細な説明
【技術分野】
【0001】
本開示は、設備機器の異常の予兆を検知する異常予兆検知装置、異常予兆検知システム、異常予兆検知方法及び異常予兆検知プログラムに関するものである。
続きを表示(約 2,000 文字)
【背景技術】
【0002】
照明機器及び空調装置などの設備機器が設置されるビル、工場及びプラントといった施設を管理するにあたっては、設備機器の状態をモニタリングし、正常な運用の支障となる異常の予兆を検知して、設備機器の保守点検を行うことが求められる。
【0003】
特許文献1には、設備機器のセンサデータを収集し、回帰モデル及びセンサ間の相関モデルを生成することにより、設備機器の通常状態からの乖離度を算出する故障予知装置が開示されている。
【先行技術文献】
【特許文献】
【0004】
特開2018-112852号公報
【発明の概要】
【発明が解決しようとする課題】
【0005】
特許文献1に開示される故障予知装置は、設備機器が正常であるにも関わらずノイズの影響でセンサデータの測定値が異常値となった場合、異常の予兆を誤検知してしまう可能性があった。
【0006】
本開示は、上記に鑑みてなされたものであって、設備機器が正常であるにも関わらずノイズの影響で異常の予兆を誤検知することを抑制した異常予兆検知装置を得ることを目的とする。
【課題を解決するための手段】
【0007】
上述した課題を解決し、目的を達成するために、本開示に係る異常予兆検知装置は、監視対象施設に設置された設備機器の運転データを時系列で纏めた時系列運転データから抽出した周期性を有するデータである周期性データの将来の値を時系列で予測して周期性データの通常範囲を設定し、周期性データの通常範囲から周期性データが少なくとも2回逸脱したことに基づいて運転データの異常予兆の有無を判定し、異常予兆判定結果を表示させる処理を行う処理部を備える。
【発明の効果】
【0008】
本開示によれば、設備機器が正常であるにも関わらずノイズの影響で異常の予兆を誤検知することを抑制した異常予兆検知装置を得られるという効果を奏する。
【図面の簡単な説明】
【0009】
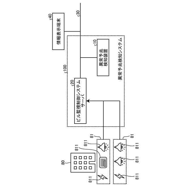
実施の形態1に係る異常予兆検知システムの構成を示す図
実施の形態1に係る異常予兆検知システムの機能ブロック図
実施の形態1に係る異常予兆検知システムの動作の流れを示すフローチャート
実施の形態1に係る異常予兆検知システムが取得する時系列運転データの一例を示す図
実施の形態1に係る異常予兆検知システムの逸脱の有無を判定する処理の流れを示すフローチャート
実施の形態1に係る異常予兆検知システムにおける時系列予測、通常範囲の設定及び逸脱検知の一例を示す図
実施の形態1に係る異常予兆検知システムの異常予兆の判定結果の第1の表示例を示す図
実施の形態1に係る異常予兆検知システムの異常予兆の判定結果の第2の表示例を示す図
実施の形態1に係る異常予兆検知システムの異常予兆の判定結果の第3の表示例を示す図
実施の形態1に係る異常予兆検知システムの異常予兆の判定結果の第4の表示例を示す図
実施の形態2に係る異常予兆検知システムの機能ブロック図
実施の形態2に係る異常予兆検知システムの異常予兆の有無を判定する第1の方法を示す図
実施の形態2に係る異常予兆検知システムの異常予兆の有無を判定する第1の方法の流れを示すフローチャート
実施の形態2に係る異常予兆検知システムの異常予兆の有無を判定する第2の方法を示す図
実施の形態2に係る異常予兆検知システムの異常予兆の有無を判定する第2の方法の流れを示すフローチャート
実施の形態3に係る異常予兆検知システムの構成を示す図
実施の形態3に係る異常予兆検知システムの機能ブロック図
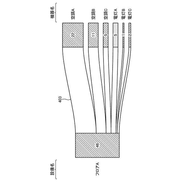
実施の形態3に係る異常予兆検知システムに用いられる設備接続関係情報の第1の例を示す図
実施の形態3に係る異常予兆検知システムに用いられる設備接続関係情報の第2の例を示す図
実施の形態3に係る異常予兆検知システムの動作の流れを示すフローチャート
実施の形態3に係る異常予兆検知システムの異常予兆判定方法の流れを示すフローチャート
実施の形態3に係る異常予兆検知システムにおける異常予兆の判定の一例を示す図
実施の形態5に係る異常予兆検知システムの機能ブロック図
実施の形態1から実施の形態5に係る異常予兆検知装置が備える処理部を実現するハードウェア構成の一例を示す図
【発明を実施するための形態】
【0010】
以下に、実施の形態に係る異常予兆検知装置、異常予兆検知システム、異常予兆検知方法及び異常予兆検知プログラムを図面に基づいて詳細に説明する。
(【0011】以降は省略されています)
この特許をJ-PlatPat(特許庁公式サイト)で参照する
関連特許
三菱電機株式会社
換気扇
4日前
三菱電機株式会社
換気扇
4日前
三菱電機株式会社
換気扇
4日前
三菱電機株式会社
回転電機
1か月前
三菱電機株式会社
回転電機
20日前
三菱電機株式会社
電子機器
5日前
三菱電機株式会社
回転電機
1か月前
三菱電機株式会社
換気装置
1か月前
三菱電機株式会社
照明装置
1か月前
三菱電機株式会社
収集装置
2日前
三菱電機株式会社
照明装置
1か月前
三菱電機株式会社
照明器具
1か月前
三菱電機株式会社
回転電機
1か月前
三菱電機株式会社
半導体装置
10日前
三菱電機株式会社
半導体装置
1か月前
三菱電機株式会社
半導体装置
1か月前
三菱電機株式会社
半導体装置
24日前
三菱電機株式会社
加熱調理器
23日前
三菱電機株式会社
半導体装置
1か月前
三菱電機株式会社
半導体装置
1か月前
三菱電機株式会社
照明システム
10日前
三菱電機株式会社
電力変換装置
1か月前
三菱電機株式会社
ネジ取出機構
1か月前
三菱電機株式会社
給湯システム
23日前
三菱電機株式会社
貯湯式給湯機
20日前
三菱電機株式会社
空気調和装置
1か月前
三菱電機株式会社
車両制御装置
1か月前
三菱電機株式会社
回転電機装置
1か月前
三菱電機株式会社
電力変換装置
1か月前
三菱電機株式会社
はんだ処理装置
1か月前
三菱電機株式会社
屋外設置用筐体
1か月前
三菱電機株式会社
給湯機システム
1か月前
三菱電機株式会社
電動機制御装置
16日前
三菱電機株式会社
非常用照明装置
23日前
三菱電機株式会社
誘導加熱調理器
4日前
三菱電機株式会社
送電線保護装置
1か月前
続きを見る
他の特許を見る