TOP
|
特許
|
意匠
|
商標
特許ウォッチ
Twitter
他の特許を見る
10個以上の画像は省略されています。
公開番号
2025146529
公報種別
公開特許公報(A)
公開日
2025-10-03
出願番号
2024047362
出願日
2024-03-22
発明の名称
液体噴射ヘッド及び液体噴射装置
出願人
セイコーエプソン株式会社
代理人
個人
,
個人
主分類
B41J
2/14 20060101AFI20250926BHJP(印刷;線画機;タイプライター;スタンプ)
要約
【課題】ノズルからの噴射不良を抑制した液体噴射ヘッドを提供する。
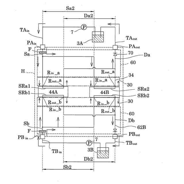
【解決手段】第1ノズル群と、前記第1ノズル群に連通する第1共通液室部とを含む第1ヘッドチップ44と、第2ノズル群と、前記第2ノズル群と連通する第2共通液室部とを含む第2ヘッドチップ44と、第1方向に積層された複数の流路基板を含む流路構造体60であって、前記第1共通液室部および前記第2共通液室部に連通するとともに前記第1方向に直交する第2方向に延在する第1共通部分Sa2を有する第1流路Saと、前記第1共通部分の一部を画定する第1可撓性部材113と、を有する流路構造体60と、を備える。
【選択図】図8
特許請求の範囲
【請求項1】
第1ノズル群と、前記第1ノズル群に連通する第1共通液室部とを含む第1ヘッドチップと、
第2ノズル群と、前記第2ノズル群と連通する第2共通液室部とを含む第2ヘッドチップと、
第1方向に積層された複数の流路基板を含む流路構造体であって、前記第1共通液室部および前記第2共通液室部に連通するとともに前記第1方向に直交する第2方向に延在する第1共通部分を有する第1流路と、前記第1共通部分の一部を画定する第1可撓性部材と、を有する流路構造体と、
を備えることを特徴とする液体噴射ヘッド。
続きを表示(約 2,100 文字)
【請求項2】
前記流路構造体は、前記第1共通液室部および前記第2共通液室部に連通するとともに前記第2方向に延在する第2共通部分を有する第2流路と、前記第2共通部分の一部を画定する第2可撓性部材と、を有し、
前記複数の流路基板は、
前記第2共通部分を画定し、且つ、前記第1可撓性部材とともに第1コンプライアンス空間を画定する第1流路基板と、
前記第1共通部分を画定し、且つ、前記第2可撓性部材とともに第2コンプライアンス空間を画定する第2流路基板と、を含む、
ことを特徴とする請求項1に記載の液体噴射ヘッド。
【請求項3】
前記複数の流路基板は、前記第1流路基板と前記第2流路基板との間に配置された、前記第1共通部分および前記第2共通部分を画定する第3流路基板を含む、
ことを特徴とする請求項2に記載の液体噴射ヘッド。
【請求項4】
前記流路構造体は、前記第1共通部分の一部を画定する第2可撓性部材と、を有し、
前記複数の流路基板は、
前記第1可撓性部材とともに第1コンプライアンス空間を画定する第1流路基板と、
前記第2可撓性部材とともに第2コンプライアンス空間を画定する第2流路基板と、
前記第1流路基板と前記第2流路基板との間に配置され、前記第1可撓性部材および前記第2可撓性部材とともに前記第1共通部分を画定する第3流路基板と、を含む、
ことを特徴とする請求項1に記載の液体噴射ヘッド。
【請求項5】
前記流路構造体は、前記第1共通液室部および前記第2共通液室部に連通するとともに前記第2方向に延在する第2共通部分を有する第2流路と、前記第2共通部分の一部を画定する第2可撓性部材と、を有し、
前記第1共通部分および前記第2共通部分は、前記第1方向に見て、互いの少なくとも一部が重なり、
前記第1可撓性部材および前記第2可撓性部材は、共通の第1コンプライアンス空間を画定する、
ことを特徴とする請求項1に記載の液体噴射ヘッド。
【請求項6】
前記複数の流路基板は、
前記第1共通部分を画定する第1流路基板と、
前記第2共通部分を画定する第2流路基板と、
前記第1流路基板と前記第2流路基板との間に配置され、前記第1可撓性部材および前記第2可撓性部材とともに前記第1コンプライアンス空間を画定する第3流路基板と、を含む、
ことを特徴とする請求項5に記載の液体噴射ヘッド。
【請求項7】
前記第1ヘッドチップは、第3ノズル群と、前記第3ノズル群に連通する第3共通液室部と、を含み、
前記第2ヘッドチップは、第4ノズル群と、前記第4ノズル群と連通する第4共通液室部と、を含み、
を備え、
前記流路構造体は、前記第3共通液室部および前記第4共通液室部に連通するとともに前記第2方向に延在する第3共通部分を有する第3流路と、前記第3共通部分の一部を画定する第2可撓性部材と、を有し、
前記複数の流路基板は、
前記第1共通部分を画定する第1流路基板と、
前記第3共通部分を画定する第2流路基板と、
前記第1流路基板と前記第2流路基板との間に配置され、前記第1可撓性部材および前記第2可撓性部材とともに第1コンプライアンス空間を画定する第3流路基板と、を含む、
ことを特徴とする請求項1に記載の液体噴射ヘッド。
【請求項8】
前記第1流路は、前記第1共通液室部および前記第2共通液室部から液体を回収する流路であり、
前記第3流路は、前記第3共通液室部および前記第4共通液室部から液体を回収する流路である、
ことを特徴とする請求項7に記載の液体噴射ヘッド。
【請求項9】
前記流路構造体は、前記第1共通液室部および前記第2共通液室部に連通するとともに前記第2方向に延在する第2共通部分を有する第2流路と、前記第2共通部分の一部を画定する第2可撓性部材と、を有し、
前記複数の流路基板は、
前記第1共通部分を画定する第1流路基板と、
前記第2共通部分を画定する第2流路基板と、
前記第1流路基板と前記第2流路基板との間に配置された第3流路基板と、を含み、
前記第3流路基板は、前記第1可撓性部材との間で第1コンプライアンス空間を画定する第1凹部を有する第1面と、前記第1面とは反対側の面であって前記第2可撓性部材との間で第2コンプライアンス空間を画定する第2凹部を有する第2面と、を有する、
ことを特徴とする請求項1に記載の液体噴射ヘッド。
【請求項10】
前記第1凹部と前記第2凹部とは、前記第2方向に見て、互いの一部が重なる、
ことを特徴とする請求項9に記載の液体噴射ヘッド。
(【請求項11】以降は省略されています)
発明の詳細な説明
【技術分野】
【0001】
本発明は、ノズルから液体を噴射する液体噴射ヘッド及び液体噴射ヘッドを具備する液体噴射装置に関し、特に液体としてインクを噴射するインクジェット式記録ヘッド及びインクジェット式記録装置に関する。
続きを表示(約 2,000 文字)
【背景技術】
【0002】
インクジェット式プリンターやプロッター等のインクジェット式記録装置に代表される液体噴射装置は、複数のノズルから液体を噴射する液体噴射ヘッドと、液体噴射ヘッドに液体を供給する流路が形成された流路部材と、を具備する。
【0003】
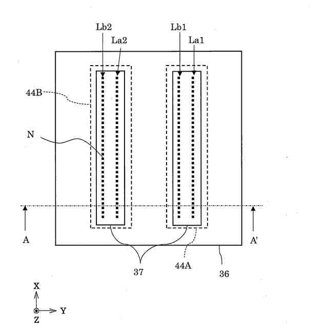
液体噴射ヘッドは、第1ノズル群及び第1ノズル群に連通する第1共通液室部を有するヘッドチップと、第2ノズル群及び第2ノズル群に連通する第2共通液室部を有するヘッドチップと、第1共通液室部及び第2共通液室部に連通する共通部分を有する流路が設けられた流路構造体と、を具備する構成が開示される(例えば、特許文献1参照)。
【先行技術文献】
【特許文献】
【0004】
特開2020-142378号公報
【発明の概要】
【発明が解決しようとする課題】
【0005】
しかしながら、第1ノズル群と第2ノズル群とが共通液室部を介して連通しているため、第1ノズル群及び第2ノズル群の何れか一方のノズル群のノズルから液滴を噴射させた場合に発生した負圧が、他方のノズル群に作用し、他方のノズル群で液滴の噴射不良が生じる虞がある。
【課題を解決するための手段】
【0006】
上記課題を解決する本発明の態様は、第1ノズル群と、前記第1ノズル群に連通する第1共通液室部とを含む第1ヘッドチップと、第2ノズル群と、前記第2ノズル群と連通する第2共通液室部とを含む第2ヘッドチップと、第1方向に積層された複数の流路基板を含む流路構造体であって、前記第1共通液室部および前記第2共通液室部に連通するとともに前記第1方向に直交する第2方向に延在する第1共通部分を有する第1流路と、前記第1共通部分の一部を画定する第1可撓性部材と、を有する流路構造体と、を備えることを特徴とする液体噴射ヘッドにある。
【0007】
また、本発明の他の態様は、上記態様に記載の液体噴射ヘッドと、前記液体噴射ヘッドへ液体を供給する液体貯留部と、を備えることを特徴とする液体噴射装置にある。
【図面の簡単な説明】
【0008】
実施形態1に係る液体噴射装置の概略構成を示す図である。
実施形態1に係る液体噴射ヘッドの斜視図である。
実施形態1に係る液体噴射ヘッドの平面図である。
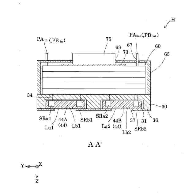
実施形態1に係る液体噴射ヘッドの断面図である。
実施形態1に係るヘッドチップの断面図である。
実施形態1に係るヘッドチップの平面図である。
実施形態1に係る液体噴射装置の流路の概略構成を示す図である。
実施形態1に係る流路部材の断面図である。
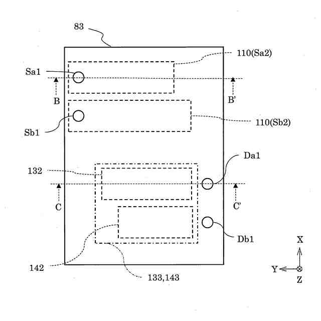
実施形態1に係る流路基板の平面図である。
実施形態1に係る流路基板の平面図である。
実施形態1に係る流路基板の平面図である。
実施形態1に係る流路部材の断面図である。
実施形態1に係る流路部材の断面図である。
実施形態2に係る流路部材を示す断面図である。
実施形態2に係る流路基板の平面図である。
実施形態2に係る流路基板の平面図である。
実施形態2に係る流路基板の平面図である。
実施形態3に係る流路部材を示す断面図である。
実施形態3に係る流路基板の平面図である。
実施形態3に係る流路基板の平面図である。
実施形態3に係る流路基板の平面図である。
実施形態4に係る流路部材を示す断面図である。
実施形態5に係る流路部材を示す断面図である。
実施形態5に係る流路基板の平面図である。
実施形態5に係る流路基板の平面図である。
実施形態5に係る流路基板の平面図である。
【発明を実施するための形態】
【0009】
以下に本発明を実施形態に基づいて詳細に説明する。ただし、以下の説明は、本発明の一態様を示すものであって、本発明の範囲内で任意に変更可能である。各図において同じ符号を付したものは、同一の部材を示しており、適宜説明が省略されている。また、各図においてX、Y、Zは、互いに直交する3つの空間軸を表している。本明細書では、これらの軸に沿った方向をX方向、Y方向、及びZ方向とする。各図の矢印が向かう方向を正(+)方向、矢印の反対方向を負(-)方向として説明する。また、Z方向は、鉛直方向を示し、+Z方向は鉛直下向き、-Z方向は鉛直上向きを示す。さらに、正方向及び負方向を限定しない3つの空間軸の方向については、X軸方向、Y軸方向、Z軸方向として説明する。
【0010】
(実施形態1)
(【0011】以降は省略されています)
この特許をJ-PlatPat(特許庁公式サイト)で参照する
関連特許
個人
箔熱転写装置
24日前
シヤチハタ株式会社
印判
4か月前
東レ株式会社
凸版印刷版原版
9か月前
三菱製紙株式会社
感熱記録材料
10か月前
シヤチハタ株式会社
反転式印判
8か月前
三光株式会社
感熱記録材料
6か月前
キヤノン株式会社
記録装置
17日前
独立行政法人 国立印刷局
印刷物
6か月前
独立行政法人 国立印刷局
貼付装置
1か月前
株式会社リコー
液体吐出装置
3か月前
株式会社リコー
液体吐出装置
7か月前
日本製紙株式会社
感熱記録体
7か月前
独立行政法人 国立印刷局
貼付機構
1か月前
株式会社リコー
液体吐出装置
4か月前
株式会社リコー
画像形成装置
1日前
株式会社リコー
液体吐出装置
1か月前
株式会社リコー
液体吐出装置
7か月前
株式会社リコー
画像形成装置
5日前
株式会社リコー
液体吐出装置
4か月前
株式会社リコー
印刷システム
5日前
独立行政法人 国立印刷局
記録媒体
8か月前
株式会社リコー
画像形成装置
24日前
株式会社リコー
液体吐出装置
8か月前
株式会社リコー
液体吐出装置
5か月前
ブラザー工業株式会社
液体吐出ヘッド
17日前
ブラザー工業株式会社
プリンタ
1か月前
独立行政法人 国立印刷局
潜像印刷物
1か月前
ブラザー工業株式会社
プリンタ
3か月前
ブラザー工業株式会社
プリンタ
1か月前
ブラザー工業株式会社
プリンタ
5か月前
キヤノン株式会社
情報処理装置
8か月前
キヤノン株式会社
印刷制御装置
9か月前
キヤノン株式会社
画像形成装置
8か月前
キヤノン株式会社
画像形成装置
3か月前
キヤノン株式会社
画像形成装置
10か月前
フジコピアン株式会社
熱転写記録媒体
11か月前
続きを見る
他の特許を見る