TOP
|
特許
|
意匠
|
商標
特許ウォッチ
Twitter
他の特許を見る
公開番号
2025146578
公報種別
公開特許公報(A)
公開日
2025-10-03
出願番号
2024098496
出願日
2024-06-19
発明の名称
エレベータベルトの二重安全ブレーキ装置
出願人
中国計量大学
代理人
個人
主分類
F16D
55/28 20060101AFI20250926BHJP(機械要素または単位;機械または装置の効果的機能を生じ維持するための一般的手段)
要約
【課題】エレベータベルトの二重安全ブレーキ装置を提供する。
【解決手段】ベースと、摩擦ブレーキ機構と、クラッチブレーキ機構と、クランクシャフトと、ベルトシャフトと、コントローラと、を含み、前記摩擦ブレーキ機構内には、ベースに対して密着又は離間可能な回転子が設けられ、前記回転子はベルトシャフトの外に同軸で設けられ、前記クランクシャフトは、一端がエレベータモータの出力軸に同軸で取り付けられ、他端に固定摩擦板付き固定シャフトディスクが設けられ、前記ベルトシャフトは、一端にエレベータベルトが巻き付けられ、他端に可動摩擦板付き可動シャフトディスクが設けられ、前記固定摩擦板と可動摩擦板は、クラッチブレーキ機構によって互いに密着又は分離するように駆動される。それにより、エレベータベルトの滑りを回避し、エレベータの安全性を向上させ、関連する機械部品の損傷を防ぎ、メンテナンスコストを削減させる。
【選択図】図1
特許請求の範囲
【請求項1】
エレベータベルトの二重安全ブレーキ装置であって、
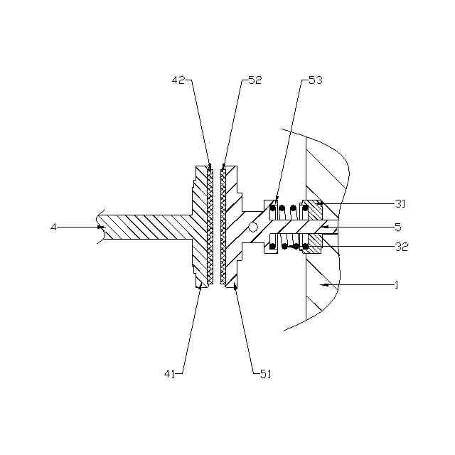
ベース(1)と、摩擦ブレーキ機構(2)と、クラッチブレーキ機構(3)と、クランクシャフト(4)と、ベルトシャフト(5)と、コントローラと、を含み、
前記摩擦ブレーキ機構(2)内には、ベース(1)に対して密着又は離間可能な回転子が設けられ、
前記回転子は、ベルトシャフト(5)の外に同軸で設けられ、
前記クランクシャフト(4)は、一端がエレベータモータの出力軸に同軸で取り付けられ、他端に固定摩擦板(42)付き固定シャフトディスク(41)が設けられ、
前記ベルトシャフト(5)は、一端にエレベータベルトが巻き付けられ、他端に可動摩擦板(52)付き可動シャフトディスク(51)が設けられ、
前記固定摩擦板(42)及び可動摩擦板(52)は、クラッチブレーキ機構(3)によって互いに密着又は分離するように駆動され、
前記コントローラは、摩擦ブレーキ機構(2)及びクラッチブレーキ機構(3)にそれぞれ電気的に接続される、
ことを特徴とするエレベータベルトの二重安全ブレーキ装置。
続きを表示(約 1,600 文字)
【請求項2】
前記摩擦ブレーキ機構(2)は、ケーシング(21)と、回転子と、アーマチャ(25)と、コイルコア(26)と、弾性押圧アセンブリ(27)と、を含み、
前記弾性押圧アセンブリ(27)は、自然な状態でアーマチャ(25)を外側に押して、回転子がベース(1)とアーマチャ(25)との間に挟まれるようにし、前記コイルコア(26)は、通電されるとアーマチャ(25)を引き寄せて内側に移動させ、ベース(1)とともに回転子を解放する、
ことを特徴とする請求項1に記載のエレベータベルトの二重安全ブレーキ装置。
【請求項3】
前記回転子は、ブシュ(22)と、ベースリング(23)と、摩擦リング(24)と、を含み、
前記ブシュ(22)及びベースリング(23)は、内から外に向かってベルトシャフト(5)の外に同軸で外嵌され、前記ベルトシャフト(5)、ブシュ(22)、及びベースリング(23)の隣接する面が歯によって噛み合い、前記摩擦リング(24)は、ベースリング(23)のベース(1)に面する側及びアーマチャ(25)に面する側にそれぞれ取り付けられる、
ことを特徴とする請求項2に記載のエレベータベルトの二重安全ブレーキ装置。
【請求項4】
前記弾性押圧アセンブリ(27)は、シース(271)と、インナースプリング(272)と、押え板(273と、位置規制ピン(274)と、を含み、
前記位置規制ピン(274)は、一端に位置規制ネジヘッドが設けられ、他端がベース(1)内に伸びてシース(271)を螺合して貫通し、前記位置規制ピン(274)のシース(271)内に位置する部分にピン環状フランジが設けられ、前記インナースプリング(272)の両端はそれぞれ押え板(273)及びピン環状フランジに接続され、前記押え板(273)はアーマチャ(25)に接近して設けられる、
ことを特徴とする請求項2に記載のエレベータベルトの二重安全ブレーキ装置。
【請求項5】
前記位置規制ピン(274)の自由端がインナースプリング(272)の中央通路に挿入される、ことを特徴とする請求項4に記載のエレベータベルトの二重安全ブレーキ装置。
【請求項6】
手動ロック解除アセンブリ(28)をさらに含み、前記手動ロック解除アセンブリ(28)は、ロック解除ピン(281)と、押えブロック(282)と、ファスナー(283)と、を含み、
前記ロック解除ピン(281)は、一端にロック解除ネジヘッドが設けられ、他端がベース(1)に螺入してからアーマチャ(25)の貫通孔を貫通し、前記押えブロック(282)は、ファスナー(283)によってロック解除ピン(281)の自由端に取り付けられる、
ことを特徴とする請求項2~5のいずれか1項に記載のエレベータベルトの二重安全ブレーキ装置。
【請求項7】
前記押えブロック(282)には、貫通孔に沿ってアーマチャ(25)を貫通するガイドスリーブが設けられる、ことを特徴とする請求項6に記載のエレベータベルトの二重安全ブレーキ装置。
【請求項8】
前記クラッチブレーキ機構(3)は、ベース(31)と、アウタースプリング(32)と、リンク(33)と、を含み、
前記ベース(31)及び摩擦ブレーキ機構(2)は、それぞれベース(1)の対向する両側に設けられ、前記ベルトシャフト(5)の外にシャフト環状フランジ(53)が設けられ、前記アウタースプリング(32)は、ベルトシャフト(5)の外に同軸で外嵌され、かつ両端がそれぞれシャフト環状フランジ(53)及びベース(31)に接続され、前記ベルトシャフト(5)は、リンク(33)を介して手動ブレーキレバー又はシリンダ(34)に間接的に接続される、
ことを特徴とする請求項1に記載のエレベータベルトの二重安全ブレーキ装置。
発明の詳細な説明
【技術分野】
【0001】
本発明は、エレベータの技術分野に関し、特にエレベータベルトの二重安全ブレーキ装置の技術分野に関する。
続きを表示(約 2,000 文字)
【背景技術】
【0002】
エレベータは、人や物品を輸送するために建物の異なる階の間を垂直に昇降する機械装置であり、上下に移動する主な構造は、かごとカウンタウエイトフレームである。その中で、かごは乗り空間を提供し、カウンタウエイト構造としてのカウンタウエイトフレームは、作動負荷を軽減し、かごのスムーズな加速を確保するために、上下方向において常にかごに対向する必要がある。
【0003】
現在、市販されているほとんどのエレベータは、かご及びカウンタウエイトフレームを牽引するためにエレベータベルトを使用している。例えば、公開番号CN116262589Aの発明は、ベルトを使用した薄型歯レス強制駆動エレベータ本体を開示しており、公告番号がCN206680045Uの実用新案はベルトエレベータ牽引機を開示している。緊急事態が発生した場合、エレベータはブレーキを使用してエレベータベルトの回転を制限し、かご及びカウンタウエイトフレームを停止する必要もある。しかし、既存のブレーキでは、最大トルク限界を超えると、エレベータベルトが滑ってしまい、エレベータの安定性や安全性が低下する。
【先行技術文献】
【特許文献】
【0004】
中国特許公報CN116262589A
中国実用新案公報CN206680045U
【発明の概要】
【発明が解決しようとする課題】
【0005】
本発明の目的は、従来技術の課題を解決し、緊急事態が発生した場合、摩擦ブレーキ機構の回転子をベースに密着して回転子の回転を制限することで、ベルトシャフト及びベルトシャフトの外に巻き付けられたエレベータベルトの回転を間接的に限制し、かご及びカウンタウエイトフレームのブレーキを実現するだけではなく、設定された限界トルクを超える場合、クラッチブレーキ機構を利用してベルトシャフトをクランクシャフトから分離することで、エレベータモータによるベルトシャフトの駆動を遮断し、トルクを直ちに低下させ、エレベータベルトの滑りを回避し、エレベータの安全性を向上させ、関連する機械部品の損傷を防ぎ、メンテナンスコストを削減させる、エレベータベルトの二重安全ブレーキ装置を提案することである。
【課題を解決するための手段】
【0006】
上記の目的を達成させるために、本発明は、
ベースと、摩擦ブレーキ機構と、クラッチブレーキ機構と、クランクシャフトと、ベルトシャフトと、コントローラと、を含み、前記摩擦ブレーキ機構内には、ベースに対して密着又は離間可能な回転子が設けられ、前記回転子は、ベルトシャフトの外に同軸で設けられ、前記クランクシャフトは、一端がエレベータモータの出力軸に同軸で取り付けられ、他端に固定摩擦板付き固定シャフトディスクが設けられ、前記ベルトシャフトは、一端にエレベータベルトが巻き付けられ、他端に可動摩擦板付き可動シャフトディスクが設けられ、前記固定摩擦板及び可動摩擦板は、クラッチブレーキ機構によって互いに密着又は分離するように駆動され、前記コントローラは、摩擦ブレーキ機構及びクラッチブレーキ機構にそれぞれ電気的に接続される、エレベータベルトの二重安全ブレーキ装置を提案する。
【0007】
好ましくは、前記摩擦ブレーキ機構は、ケーシングと、回転子と、アーマチャと、コイルコアと、弾性押圧アセンブリと、を含み、前記弾性押圧アセンブリは、自然な状態でアーマチャを外側に押して、回転子がベースとアーマチャとの間に挟まれるようにし、前記コイルコアは、通電されるとアーマチャを引き寄せて内側に移動させ、ベースとともに回転子を解放する。
【0008】
好ましくは、前記回転子は、ブシュと、ベースリングと、摩擦リングと、を含み、前記ブシュ及びベースリングは、内から外に向かってベルトシャフトの外に同軸で外嵌され、前記ベルトシャフト、ブシュ、及びベースリングの隣接する面が歯によって噛み合い、前記摩擦リングは、ベースリングのベースに面する側及びアーマチャに面する側にそれぞれ取り付けられる。
【0009】
好ましくは、前記弾性押圧アセンブリは、シースと、インナースプリングと、押え板と、位置規制ピンと、を含み、前記位置規制ピンは、一端に位置規制ネジヘッドが設けられ、他端がベース内に伸びてシースを螺合して貫通し、前記位置規制ピンのシース内に位置する部分にピン環状フランジが設けられ、前記インナースプリングの両端はそれぞれ押え板及びピン環状フランジに接続され、前記押え板はアーマチャに接近して設けられる。
【0010】
好ましくは、前記位置規制ピンの自由端がインナースプリングの中央通路に挿入される。
(【0011】以降は省略されています)
この特許をJ-PlatPat(特許庁公式サイト)で参照する
関連特許
中国計量大学
電子安全クランプ
5日前
中国計量大学
制振型ガイドレール固定システム
23日前
中国計量大学
エレベータベルトの二重安全ブレーキ装置
1日前
中国計量大学
無人機のテスト用治具及びそのテスト方法
1か月前
中国計量大学
エスカレータの非操作逆転と速度超過防止装置
23日前
中国計量大学
骨材の粒径分布の決定方法及びそのシステム及び電子機器
10か月前
中国計量大学
トビイロウンカの抗菌ペプチドの発現を阻害する阻害剤とその応用
3日前
中国計量大学
トビイロウンカのガレクチンNlGAL8遺伝子とその調製および応用
3日前
中国計量大学
ロボットアームの検査及びキャリブレーション用治具及びその使用方法
2か月前
中国計量大学
web3.0向けのサービスデータ損失関数正負例サンプリング及び再推薦方法
4か月前
個人
鍋虫ねじ
1か月前
個人
回転伝達機構
1か月前
個人
ホース保持具
5か月前
個人
紛体用仕切弁
1か月前
個人
差動歯車用歯形
3か月前
個人
トーションバー
6か月前
個人
ジョイント
15日前
個人
固着具と成形品部材
8か月前
個人
地震の揺れ回避装置
2か月前
個人
回転式配管用支持具
7か月前
株式会社不二工機
電磁弁
3か月前
個人
ボルトナットセット
6か月前
株式会社不二工機
電磁弁
4か月前
個人
ナット
16日前
個人
吐出量監視装置
1か月前
株式会社オンダ製作所
継手
7か月前
株式会社三協丸筒
枠体
6か月前
柿沼金属精機株式会社
分岐管
1か月前
カヤバ株式会社
ダンパ
3か月前
カヤバ株式会社
緩衝器
2か月前
株式会社ミクニ
弁装置
8か月前
カヤバ株式会社
緩衝器
6か月前
個人
ベルトテンショナ
7か月前
カヤバ株式会社
ダンパ
3か月前
株式会社ミクニ
弁装置
8か月前
カヤバ株式会社
緩衝器
2か月前
続きを見る
他の特許を見る