TOP
|
特許
|
意匠
|
商標
特許ウォッチ
Twitter
他の特許を見る
公開番号
2025115928
公報種別
公開特許公報(A)
公開日
2025-08-07
出願番号
2024099194
出願日
2024-06-19
発明の名称
無人機のテスト用治具及びそのテスト方法
出願人
中国計量大学
代理人
個人
主分類
B64F
5/60 20170101AFI20250731BHJP(航空機;飛行;宇宙工学)
要約
【課題】無人機の上昇力及び飛行距離を測定することができるテスト用治具及びそのテスト方法を提供する。
【解決手段】無人機のテスト用治具は、テスト用治具機体と、テスト用治具機体の頂部の前端及び後端に設けられた上昇接続装置と、テスト用治具機体の内部に設けられた測定システムであって、プロセッサを含み、プロセッサの出力端子にデータ収集モジュールが電気的に接続され、データ収集モジュールの出力端子に上昇力検知モジュールが電気的に接続され、データ収集モジュールの出力端子にレーダ距離検知モジュールが電気的に接続され、プロセッサの出力端子に数値比較モジュールが双方向に電気的に接続され、数値比較モジュールの出力端子に上昇力データ記憶モジュールが双方向に電気的に接続されている測定システムとを含む。
【選択図】図1
特許請求の範囲
【請求項1】
無人機のテスト用治具であって、
テスト用治具機体(1)と、
テスト用治具機体(1)の頂部の前端及び後端に設けられた上昇接続装置(2)と、
テスト用治具機体(1)の内部に設けられた測定システム(3)であって、プロセッサ(31)を含み、前記プロセッサ(31)の出力端子にデータ収集モジュール(32)が電気的に接続され、前記データ収集モジュール(32)の出力端子に上昇力検知モジュール(33)が電気的に接続され、前記データ収集モジュール(32)の出力端子にレーダ距離検知モジュール(34)が電気的に接続され、前記プロセッサ(31)の出力端子に数値比較モジュール(35)が双方向に電気的に接続され、前記数値比較モジュール(35)の出力端子に上昇力データ記憶モジュール(36)が双方向に電気的に接続され、前記数値比較モジュール(35)の出力端子に距離データ記憶モジュール(37)が双方向に電気的に接続され、前記プロセッサ(31)の出力端子にデータ伝送モジュール(38)が電気的に接続されている測定システム(3)と
を含むことを特徴とする無人機のテスト用治具。
続きを表示(約 2,400 文字)
【請求項2】
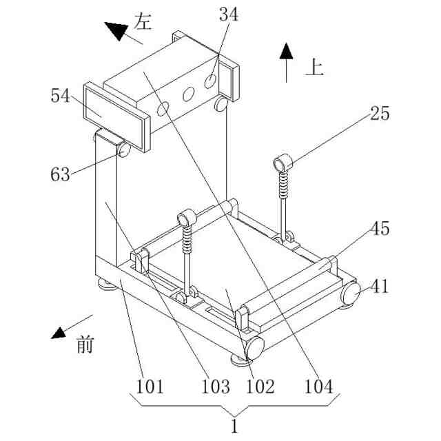
前記テスト用治具機体(1)は、基板(101)を含み、前記基板(101)の頂部にパッドプレート(102)が固定して接続され、前記基板(101)の頂部の左側に支持板(103)が固定して接続され、前記支持板(103)の頂部に筐体(104)が固定して接続され、前記レーダ距離検知モジュール(34)が筐体(104)の右側に固定して接続されている
ことを特徴とする請求項1に記載の無人機のテスト用治具。
【請求項3】
前記上昇接続装置(2)は、接続板(21)を含み、前記接続板(21)の頂部に固定ブロック(22)が固定して接続され、前記固定ブロック(22)の頂部に引き紐(23)が固定して接続され、前記引き紐(23)の頂部にコード(24)が固定して接続され、前記コード(24)の頂部に嵌合部材(25)が固定して接続されている
ことを特徴とする請求項2に記載の無人機のテスト用治具。
【請求項4】
前記基板(101)の右側の前端及び後端のいずれにも、クランプ機構(4)が設けられ、前記クランプ機構(4)は、回転つまみ(41)を含み、前記回転つまみ(41)が基板(101)の右側の前端及び後端に設けられ、前記回転つまみ(41)の左側に左右ネジガイドスクリュー(42)が固定して接続され、前記左右ネジガイドスクリュー(42)の両端のいずれにもナット(43)が螺接され、前記ナット(43)の頂部に伝動板(44)が固定して接続され、前記伝動板(44)の頂部が基板(101)の外部まで貫通し、前記伝動板(44)のパッドプレート(102)に近い側にクランプ筒(45)が固定して接続されている
ことを特徴とする請求項3に記載の無人機のテスト用治具。
【請求項5】
前記支持板(103)の内部には、昇降機構(5)が設けられ、前記昇降機構(5)は、摺動板(51)を含み、前記摺動板(51)の表面が支持板(103)の内部に摺動可能に接続され、前記摺動板(51)の頂部に昇降板(52)が固定して接続され、前記昇降板(52)の頂部が支持板(103)の頂部を貫通してディスプレイ(54)が固定して接続され、前記ディスプレイ(54)の入力端子がデータ伝送モジュール(38)の出力端子に電気的に接続され、前記昇降板(52)の右側に接続孔(53)が形成されている
ことを特徴とする請求項4に記載の無人機のテスト用治具。
【請求項6】
前記支持板(103)の左側の前端及び後端のいずれにも、固定器(6)が設けられ、前記固定器(6)は、挿入ロッド(61)を含み、前記挿入ロッド(61)が支持板(103)の左側の前端及び後端に設けられ、前記挿入ロッド(61)の右側が接続孔(53)の内部まで通ってボルト(62)が固定して接続され、前記支持板(103)の右側の前端及び後端のいずれにも相手ロッド(63)が設けられ、前記相手ロッド(63)の左側が接続孔(53)の内部まで通り、ネジ孔(64)が形成され、前記ボルト(62)の右側がネジ孔(64)の内部に挿入されてネジ孔(64)に螺接されている
ことを特徴とする請求項5に記載の無人機のテスト用治具。
【請求項7】
前記ナット(43)の底部にスライダ(7)が固定して接続され、前記基板(101)の内壁の底部の両側にスライド溝(8)が形成され、前記スライド溝(8)がスライダ(7)に摺動可能に接続されている
ことを特徴とする請求項6に記載の無人機のテスト用治具。
【請求項8】
使用者が無人機をパッドプレート(102)の頂部に配置してから嵌合部材(25)を無人機の接続装置に嵌め、そして、無人機により嵌合部材(25)を上方へ移動させ、嵌合部材(25)によりコード(24)を介して引き紐(23)を引っ張り、引き紐(23)により固定ブロック(22)を介して接続板(21)を引っ張り、上昇力検知モジュール(33)により接続板(21)の引張力を検知してデータをデータ収集モジュール(32)内に伝送し、データ収集モジュール(32)によりデータをプロセッサ(31)内に伝送し、プロセッサ(31)が数値比較モジュール(35)により上昇力データ記憶モジュール(36)内のデータと比較し、上昇力が上昇力データ記憶モジュール(36)内のデータよりも小さければ、無人機が不合格であると判定するステップS1と、
使用者がディスプレイ(54)を引き上げ、ディスプレイ(54)により昇降板(52)を上方へ移動させ、昇降板(52)により摺動板(51)を上方へ移動させ、そして、使用者が挿入ロッド(61)を支持板(103)の左側の前端及び後端から接続孔(53)内に挿入し、次に相手ロッド(63)を支持板(103)の右側の前端及び後端から接続孔(53)内に挿入することで、ボルト(62)をネジ孔(64)内に挿入し、固定器(6)により昇降板(52)を固定し、昇降板(52)によりディスプレイ(54)が固定されることで、ディスプレイ(54)のぐらつきが防止されるステップS2と、
使用者が無人機と嵌合部材(25)とを分離してから無人機を飛行させ、レーダ距離検知モジュール(34)により無人機の飛行距離を検知し、そして、レーダ距離検知モジュール(34)によりデータをデータ収集モジュール(32)内に伝送し、データ収集モジュール(32)によりデータをプロセッサ(31)内に伝送し、プロセッサ(31)が数値比較モジュール(35)により距離データ記憶モジュール(37)内のデータと比較し、最遠距離区間まで無人機が飛行できなければ、無人機が不合格であると判定するステップS3と、
を含むことを特徴とする請求項7に記載の無人機のテスト用治具のテスト方法。
発明の詳細な説明
【技術分野】
【0001】
本発明は、無人機の技術分野に関し、具体的には、無人機のテスト用治具及びそのテスト方法に関する。
続きを表示(約 2,900 文字)
【背景技術】
【0002】
無人航空機は、略して「無人機(UAV:unmanned aerial vehicle)」と称され、無線遠隔制御装置又は内蔵のプログラム制御装置により操縦される、或いは車載コンピュータにより完全に又は間欠的に自主運転する、人の搭乗しない航空機である。有人航空機と比べて、無人機は、あまりにも「単調、汚い、又は危険」な任務により適していることが多い。無人機は、応用される分野に応じて、軍事用と民間用とに分けられてもよい。軍事用では、無人機は、偵察機と標的機とに分かれている。民間用の面では、無人機+業界応用は、無人機の真のニーズである。空撮、農業、植物保護、ミニチュアセルフィー、宅配輸送、災害救助、野生動物観察、感染症監視、測量製図、新聞報道、電力巡回検査、災害救援、映画・テレビ撮影、ロマン掻き立てなどの分野での応用は、無人機そのものの用途を大きく広げている。
【0003】
無人機は、生産時に、無人機のテスト用治具を使用する必要があり、例えば、特許公開番号がCN206511143Uである中国特許は、マルチ回転翼無人機揚力テスト用治具を公開し、ベースと横ビームとを含み、ビームの頂部が横ビームの真ん中部にヒンジ接続され、横ビーム上面の中間部に角度テスターが取り付けられ、横ビームは、一端には動力計が取り付けられ、他端にはテストフレームがヒンジ接続され、テストフレームは、底部フレームと上部フレームとを含み、底部フレームと上部フレームとの間に複数の指示ロッドが固定され、底部フレームの中心部に第1の固定板が設けられ、第1の固定板と底部フレームとの間に複数の第1のリンクが固定され、上部フレームの中間部には、相互に接続された複数の第2のリンクが固定され、複数の第2のリンクの結合部の反対する2つの面には第2の固定板がそれぞれ固定され、第2の固定板は、一方の面にモータが取り付けられ、モータの出力軸には回転翼が接続されている。本発明は、回転翼を上下方向に取り付ける方式を採用し、回転翼の実際の動作効果と一致するため、回転翼の使用状況をシミュレーションするのに有利であり、構造が簡単で、操作が比較的容易で、システムの加工が比較的便利である。
【0004】
特許公開番号が「CN217846614U」である中国特許は、接続アセンブリ、取付アセンブリ及び配線アセンブリを含み、接続アセンブリには接続孔が設けられ、接続孔は第1の孔セグメントと第2の孔セグメントとを含み、無人機の接続柱が第2の孔セグメント内に挿入され且つ第1の孔セグメントに接続され、接続柱には第1の端部開口が設けられ、取付アセンブリの取付前板にはレーダ及びアンテナカバーを取り付けるのに用いられる複数の取付孔が設けられ、配線アセンブリの配線チューブは、一端が取付前板に取り外し可能に接続され、他端が第2の孔セグメント内に挿入され、第2の孔セグメントに挿入される配線チューブの一端に端部板が設けられ、端部板には第1の端部開口に対応する第2の端部開口が設けられ、レーダのリボンケーブルは、配線チューブに挿入され、第2の端部開口に接続されてもよい。このレーダテスト用治具により、レーダを無人機に取り付けることができ、レーダに対して単独のテストを行う必要がなく、テスト工程が簡略化され、又、複数の型番及びサイズのレーダのテスト作業に適応することができる。これら2つの特許は、使用時の操作が比較的簡単であり、テスト工程が簡略化されているため、使用者は使用時に無人機に対して複数のテストを行うことができず、使用者の操作が不便になり、使用者の検査効果が影響されてしまう。
【発明の概要】
【発明が解決しようとする課題】
【0005】
上記背景技術で提起された問題点を解決するために、本発明は、使用者の操作が便利であるという利点を有し、無人機のテスト用治具がユーザの操作に不便であるという問題点を解決した、無人機のテスト用治具及びその試験方法を提供することを目的としている。
【課題を解決するための手段】
【0006】
上記目的を実現するために、本発明により提案される技術案によれば、無人機のテスト用治具は、
テスト用治具機体と、
テスト用治具機体の頂部の前端及び後端に設けられた上昇接続装置と、
テスト用治具機体の内部に設けられた測定システムであって、プロセッサを含み、前記プロセッサの出力端子にデータ収集モジュールが電気的に接続され、前記データ収集モジュールの出力端子に上昇力検知モジュールが電気的に接続され、前記データ収集モジュールの出力端子にレーダ距離検知モジュールが電気的に接続され、前記プロセッサの出力端子に数値比較モジュールが双方向に電気的に接続され、前記数値比較モジュールの出力端子に上昇力データ記憶モジュールが双方向に電気的に接続され、前記数値比較モジュールの出力端子に距離データ記憶モジュールが双方向に電気的に接続され、前記プロセッサの出力端子にデータ伝送モジュールが電気的に接続されている測定システムと、を含む。
【0007】
本発明として、好ましくは、前記テスト用治具機体は、基板を含み、前記基板の頂部にパッドプレートが固定して接続され、前記基板の頂部の左側に支持板が固定して接続され、前記支持板の頂部に筐体が固定して接続され、前記レーダ距離検知モジュールが筐体の右側に固定して接続されている。
【0008】
本発明として、好ましくは、前記上昇接続装置は、接続板を含み、前記接続板の頂部に固定ブロックが固定して接続され、前記固定ブロックの頂部に引き紐が固定して接続され、前記引き紐の頂部にコードが固定して接続され、前記コードの頂部に嵌合部材が固定して接続されている。
【0009】
本発明として、好ましくは、前記基板の右側の前端及び後端のいずれにも、クランプ機構が設けられ、前記クランプ機構は、回転つまみを含み、前記回転つまみが基板の右側の前端及び後端に設けられ、前記回転つまみの左側に左右ネジガイドスクリューが固定して接続され、前記左右ネジガイドスクリューの両端のいずれにもナットが螺接され、前記ナットの頂部に伝動板が固定して接続され、前記伝動板の頂部が基板の外部まで貫通し、前記伝動板のパッドプレートに近い側にクランプ筒が固定して接続されている。
【0010】
本発明として、好ましくは、前記支持板の内部には、昇降機構が設けられ、前記昇降機構は、摺動板を含み、前記摺動板の表面が支持板の内部に摺動可能に接続され、前記摺動板の頂部に昇降板が固定して接続され、前記昇降板の頂部が支持板の頂部を貫通してディスプレイが固定して接続され、前記ディスプレイの入力端子がデータ伝送モジュールの出力端子に電気的に接続され、前記昇降板の右側に接続孔(53)が形成されている。
(【0011】以降は省略されています)
この特許をJ-PlatPat(特許庁公式サイト)で参照する
関連特許
中国計量大学
電子安全クランプ
7日前
中国計量大学
制振型ガイドレール固定システム
25日前
中国計量大学
エレベータベルトの二重安全ブレーキ装置
3日前
中国計量大学
無人機のテスト用治具及びそのテスト方法
2か月前
中国計量大学
エスカレータの非操作逆転と速度超過防止装置
25日前
中国計量大学
骨材の粒径分布の決定方法及びそのシステム及び電子機器
10か月前
中国計量大学
トビイロウンカの抗菌ペプチドの発現を阻害する阻害剤とその応用
5日前
中国計量大学
トビイロウンカのガレクチンNlGAL8遺伝子とその調製および応用
5日前
中国計量大学
ロボットアームの検査及びキャリブレーション用治具及びその使用方法
2か月前
中国計量大学
web3.0向けのサービスデータ損失関数正負例サンプリング及び再推薦方法
4か月前
個人
ドローン
6か月前
個人
人工台風
2か月前
個人
着火ドローン
4か月前
個人
救難消防飛行艇
4か月前
個人
ドローンシステム
8か月前
東レ株式会社
中空回転翼
3か月前
個人
動力原付きグライダー
12日前
個人
連続回転可能な飛行機翼
4か月前
個人
陸海空用の乗り物
5か月前
個人
導風板付き垂直離着陸機
1か月前
個人
空飛ぶクルマ
3か月前
東レ株式会社
プロペラブレード
3か月前
東レ株式会社
プロペラブレード
3か月前
東レ株式会社
プロペラブレード
3か月前
個人
垂直離着陸機用エンジン改
8か月前
個人
ドローン消音装置
11か月前
個人
ドローンを自動離着陸する方法
8か月前
個人
空中移動システム
9か月前
トヨタ自動車株式会社
ドローン
6か月前
個人
エアライナー全自動パラシュート
6か月前
個人
搬送方法および搬送システム
3か月前
合同会社アドエア
パラシュート射出装置
6か月前
個人
ヘリコプター駆動装置
3か月前
合同会社アドエア
飛行体の落下補助装置
9か月前
株式会社ACSL
システム
7か月前
株式会社ACSL
システム
7か月前
続きを見る
他の特許を見る