TOP
|
特許
|
意匠
|
商標
特許ウォッチ
Twitter
他の特許を見る
公開番号
2025146668
公報種別
公開特許公報(A)
公開日
2025-10-03
出願番号
2025008277
出願日
2025-01-21
発明の名称
回転装置及び歯車装置
出願人
ナブテスコ株式会社
代理人
個人
,
個人
,
個人
,
個人
主分類
F16C
35/06 20060101AFI20250926BHJP(機械要素または単位;機械または装置の効果的機能を生じ維持するための一般的手段)
要約
【課題】確実に軸受構造を簡素化、小型化できる回転装置及び歯車装置を提供する。
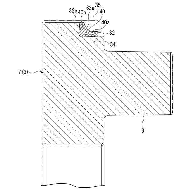
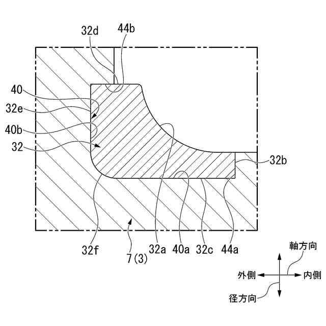
【解決手段】実施形態の減速装置は、ケース2及びキャリア3と、ケース2及びキャリア3を相対回転自在に支持する主軸受6と、を備える。主軸受6は、アウタレース31及びインナレース32と、転動体33と、を備える。ケース2又はキャリア3の少なくともいずれか一方に、アウタレース31又はインナレース32のいずれか一つが鋳ぐるみされており、第1レース接合面32c又は第1基板接合面40aのいずれか一方には、他方に向かって突出する凸部34が形成されているとともに、他方には凸部34が嵌る凹部40が形成されている。
【選択図】図2
特許請求の範囲
【請求項1】
2つの回転体と、
前記2つの回転体を相対回転自在に支持する転がり軸受と、
を備え、
前記転がり軸受は、
それぞれ前記回転体と並んで配置される2つのレースと、
前記2つのレースの間で、かつ前記回転体とは反対側に配置された複数の転動体と、
を備え、
少なくとも1つの前記回転体に少なくとも1つの前記レースが鋳ぐるみされており、
前記回転体の前記レースとの回転体接合面、又は前記レースの前記回転体とのレース接合面のいずれか一方には、他方に向かって突出する凸部が形成されているとともに、前記他方には前記凸部が嵌る凹部が形成されている、
回転装置。
続きを表示(約 1,900 文字)
【請求項2】
前記転がり軸受は、ラジアル玉軸受及びラジアルコロ軸受のいずれかであり、
前記回転体接合面及び前記レース接合面は軸方向に沿っており、
前記回転体には、前記回転体接合面と交差する方向に延びる前記レースとの他の回転体接合面が形成されており、
前記レースには、前記他の回転体接合面に接合される他のレース接合面が形成されており、
前記凸部は、前記レースに形成されているとともに前記他のレース接合面に向かうに従って漸次前記回転体側へと突出するように形成されており、
前記凹部は、前記回転体に形成されているとともに前記他の回転体接合面に向かうに従って漸次深さが深くなるように形成されている、
請求項1に記載の回転装置。
【請求項3】
前記他のレース接合面は前記レース接合面に向かうに従って漸次前記他の回転体接合面側へと突出するように形成されており、
前記他の回転体接合面は前記回転体接合面から離間するに従って漸次前記他のレース接合面側へと突出するように形成されている、
請求項2に記載の回転装置。
【請求項4】
前記凸部、前記凹部、前記他のレース接合面、及び前記他の回転体接合面はそれぞれ傾斜しており、
前記他のレース接合面及び前記他の回転体接合面の径方向に対する傾斜角度は、前記凸部及び前記凹部の軸方向に対する傾斜角度よりも大きい、
請求項3に記載の回転装置。
【請求項5】
前記回転体の熱膨張率は、前記レースの熱膨張率よりも大きい、
請求項4に記載の回転装置。
【請求項6】
前記凸部は、前記レース接合面の全体に渡って形成され、前記他のレース接合面側の角部にレース面取り部が形成されており、
前記凹部は、前記回転体接合面の全体に渡って形成され、前記他の回転体接合面側の角部に回転体面取り部が形成されている、
請求項3から請求項5のいずれか一項に記載の回転装置。
【請求項7】
前記レース面取り部及び前記回転体面取り部は、平面取りにより形成されており前記転がり軸受の荷重作用線と直交している、
請求項6に記載の回転装置。
【請求項8】
前記転がり軸受は、ラジアル玉軸受及びラジアルコロ軸受のいずれかであり、
前記回転体接合面は、
軸方向に沿う軸方向回転体接合面と、
前記軸方向回転体接合面と交差する方向に延びる径方向回転体接合面と、
を有し、
前記レース接合面は、
軸方向に沿う軸方向レース接合面と、
前記軸方向レース接合面と交差する方向に延びる径方向レース接合面と、
を有し、
少なくとも前記径方向回転体接合面又は前記径方向レース接合面のいずれか一方に前記凸部が形成されているとともに、他方に前記凹部が形成されている、
請求項1に記載の回転装置。
【請求項9】
2つの回転体と、
前記2つの回転体を相対回転自在に支持する転がり軸受と、
を備え、
前記転がり軸受は、
それぞれ前記回転体と並んで配置される2つのレースと、
前記2つのレースの間で、かつ前記回転体とは反対側に配置された複数の転動体と、
を備え、
少なくとも1つの前記回転体に少なくとも1つの前記レースが鋳ぐるみされており、
前記回転体の前記レースとの回転体接合面には、前記レースが嵌る凹部が形成されており、
前記凹部は、前記レースの軸方向への移動及び径方向への移動の少なくともいずれか一方の移動を規制する段差面を有する、
回転装置。
【請求項10】
前記転がり軸受は、ラジアル玉軸受及びラジアルコロ軸受のいずれかであり、
前記回転体接合面は、
軸方向に沿う軸方向回転体接合面と、
前記軸方向回転体接合面と交差する方向に延びる径方向回転体接合面と、
を有し、
前記軸方向回転体接合面及び前記径方向回転体接合面の少なくともいずれか一方に前記凹部が形成されており、
形成された前記凹部は、前記軸方向回転体接合面の前記凹部に形成された第1段差面及び前記径方向回転体接合面の前記凹部に形成された第2段差面の少なくもいずれか一方を有し、
前記第1段差面は、前記レースの軸方向への移動を規制し、
前記第2段差面は、前記レースの径方向への移動を規制する、
請求項9に記載の回転装置。
(【請求項11】以降は省略されています)
発明の詳細な説明
【技術分野】
【0001】
本発明は、回転装置及び歯車装置に関する。
続きを表示(約 1,600 文字)
【背景技術】
【0002】
従来から、回転装置や歯車装置として、2つの回転体と、2つの回転体を相対回転可能とする転がり軸受を備えたものが知られている。転がり軸受としては、例えばラジアル軸受がある。ラジアル軸受は、アウタレースと、インナレースと、これらアウタレースとインナレースとの間に配置される複数の転動体と、を備える。このような歯車装置に対し、軸受構造を簡素化、小型化するために、回転体にアウタレースやインナレースを一体化する技術が開示されている(例えば、特許文献1参照)。
このものは、回転体(支持部材及び円板)を球状黒鉛鋳鉄などの鋳物で形成し、インナレース(内輪)にSUJなどの高炭素クロム軸受鋼やS55Cなどの炭素鋼で形成している。そして、これら異種部材を接合し、インナレースに熱処理を施して転動体の転動面としている。
【先行技術文献】
【特許文献】
【0003】
特開平9-14359号公報
【発明の概要】
【発明が解決しようとする課題】
【0004】
しかしながら、上述の従来技術のように異種部材を接合しようとしても、実際は接合が不完全となり、回転体からインナレースが脱落してしまう可能性があった。このため、軸受構造を簡素化、小型化するための実用化は困難という課題があった。
【0005】
本発明は、確実に軸受構造を簡素化、小型化できる回転装置及び歯車装置を提供する。
【課題を解決するための手段】
【0006】
本発明の一態様に係る回転装置は、2つの回転体と、前記2つの回転体を相対回転自在に支持する転がり軸受と、を備え、前記転がり軸受は、それぞれ前記回転体と並んで配置される2つのレースと、前記2つのレースの間で、かつ前記回転体とは反対側に配置された複数の転動体と、を備え、少なくとも1つの前記回転体に少なくとも1つの前記レースが鋳ぐるみされており、前記回転体の前記レースとの回転体接合面、又は前記レースの前記回転体とのレース接合面のいずれか一方には、他方に向かって突出する凸部が形成されているとともに、前記他方には前記凸部が嵌る凹部が形成されている。
【0007】
このように構成することで、回転体と転がり軸受のレースとを一体化できる。回転体とレースとの接合が不完全な場合でも、凸部と凹部とが嵌ることにより回転体からのレースの脱落を防止できる。このため、確実に軸受構造を簡素化、小型化できる。
【0008】
上記構成において、前記転がり軸受は、ラジアル玉軸受及びラジアルコロ軸受のいずれかであり、前記回転体接合面及び前記レース接合面は軸方向に沿っており、前記回転体には、前記回転体接合面と交差する方向に延びる前記レースとの他の回転体接合面が形成されており、前記レースには、前記他の回転体接合面に接合される他のレース接合面が形成されており、前記凸部は、前記レースに形成されているとともに前記他のレース接合面に向かうに従って漸次前記回転体側へと突出するように形成されており、前記凹部は、前記回転体に形成されているとともに前記他の回転体接合面に向かうに従って漸次深さが深くなるように形成されてもよい。
【0009】
上記構成において、前記他のレース接合面は前記レース接合面に向かうに従って漸次前記他の回転体接合面側へと突出するように形成されており、前記他の回転体接合面は前記回転体接合面から離間するに従って漸次前記他のレース接合面側へと突出するように形成されてもよい。
【0010】
上記構成において、前記凸部、前記凹部、前記他のレース接合面、及び前記他の回転体接合面はそれぞれ傾斜しており、前記他のレース接合面及び前記他の回転体接合面の径方向に対する傾斜角度は、前記凸部及び前記凹部の軸方向に対する傾斜角度よりも大きくてもよい。
(【0011】以降は省略されています)
この特許をJ-PlatPat(特許庁公式サイト)で参照する
関連特許
ナブテスコ株式会社
ユニットブレーキ装置
13日前
ナブテスコ株式会社
風力発電装置の制御装置、風力発電装置用の処理回路、風力発電装置用の制御方法、及び風力発電装置用の制御プログラム
1日前
個人
留め具
9日前
個人
鍋虫ねじ
1か月前
個人
回転伝達機構
2か月前
個人
紛体用仕切弁
1か月前
個人
ホース保持具
6か月前
個人
差動歯車用歯形
3か月前
個人
給排気装置
16日前
個人
ジョイント
1か月前
株式会社不二工機
電磁弁
5か月前
個人
地震の揺れ回避装置
3か月前
株式会社不二工機
電磁弁
3か月前
個人
ナット
1か月前
個人
吐出量監視装置
1か月前
カヤバ株式会社
ダンパ
4か月前
カヤバ株式会社
緩衝器
15日前
カヤバ株式会社
緩衝器
3か月前
カヤバ株式会社
ダンパ
4か月前
柿沼金属精機株式会社
分岐管
2か月前
カヤバ株式会社
緩衝器
3か月前
個人
固着具と固着具の固定方法
5か月前
株式会社ノーリツ
分配弁
20日前
個人
固着具と固着具の固定方法
5か月前
個人
固着具と固着具の固定方法
5か月前
株式会社不二工機
電動弁
16日前
株式会社ニフコ
クリップ
20日前
株式会社タカギ
水栓装置
2か月前
株式会社不二工機
電磁弁
1か月前
アズビル株式会社
回転弁
28日前
日東電工株式会社
断熱材
6か月前
株式会社フジキン
ボールバルブ
4か月前
株式会社奥村組
制振機構
24日前
株式会社三五
ドライブシャフト
1日前
株式会社ノーリツ
分配弁
5か月前
株式会社奥村組
制振機構
24日前
続きを見る
他の特許を見る