TOP
|
特許
|
意匠
|
商標
特許ウォッチ
Twitter
他の特許を見る
10個以上の画像は省略されています。
公開番号
2025147358
公報種別
公開特許公報(A)
公開日
2025-10-07
出願番号
2024047572
出願日
2024-03-25
発明の名称
給電装置、及び、電力伝送システム
出願人
カシオ計算機株式会社
代理人
個人
主分類
H02J
50/90 20160101AFI20250930BHJP(電力の発電,変換,配電)
要約
【課題】給電対象の電子機器の位置ずれを抑制する。
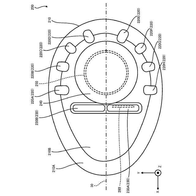
【解決手段】給電装置200は、電子機器100に非接触で電力を供給するために電子機器100を収納する収納部210を備える。収納部210は、電子機器100が配置される床部210Bと、電子機器100の周囲を囲む側壁部210Aとを備える。側壁部210Aには、側壁部210Aの内側に向けて突出した複数の壁側突起部220が設けられている。
【選択図】図4
特許請求の範囲
【請求項1】
電子機器に非接触で電力を供給するために前記電子機器を収納する収納部を備え、
前記収納部は、
前記電子機器が配置される床部と、
前記電子機器の周囲を囲む壁部と、を備え、
前記壁部には、前記壁部の内側に向けて突出した複数の壁側突起部が設けられている、
給電装置。
続きを表示(約 1,700 文字)
【請求項2】
前記床部には、前記床部の上側に向けて突出した床側突起部が設けられており、
前記床側突起部は、前記電子機器の第1方向への移動を制限し、
前記複数の壁側突起部には、前記電子機器の前記第1方向と略直交する第2方向への移動を制限する壁側突起部が含まれている、
請求項1に記載の給電装置。
【請求項3】
前記床側突起部の内部には、磁石が設置されており、
前記電子機器が、前記磁石が発した磁気を検出したときに発する給電要求に応じて、前記電子機器に給電する送電回路を備える、
請求項2に記載の給電装置。
【請求項4】
前記複数の壁側突起部には、前記電子機器の第1方向への移動を制限する壁側突起部と、前記電子機器の前記第1方向と直交する第2方向への移動を制限する壁側突起部とが含まれている、
請求項1に記載の給電装置。
【請求項5】
前記電子機器は、前記電子機器の幅方向における長さが他の部分よりも長い幅広部を備え、
前記複数の壁側突起部には、第1突起部と、前記第1突起部と隣接する第2突起部と、第1方向に延びる軸を対称軸として前記第1突起部に対して線対称の位置に配置された第3突起部と、前記第3突起部と隣接し、前記軸を対称軸として前記第2突起部に対して線対称の位置に配置された第4突起部とが含まれており、
前記収納部は、前記電子機器の幅方向と前記第1方向とが直交するように前記電子機器を収納し、
前記第1突起部と前記第2突起部と前記第3突起部と前記第4突起部とは、前記収納部が前記電子機器を収納しているときに、前記第1突起部、前記第2突起部、前記第3突起部及び前記第4突起部の前記第1方向における位置が、前記幅広部の前記第1方向における両端の前記第1方向における位置の間の位置になるように配置されている、
請求項1から4の何れか1項に記載の給電装置。
【請求項6】
前記第1突起部と前記第2突起部との間隔と前記第3突起部と前記第4突起部との間隔とは、指の太さに応じた間隔である、
請求項5に記載の給電装置。
【請求項7】
前記複数の壁側突起部は、丸みを帯びた形状を有する、
請求項1から4の何れか1項に記載の給電装置。
【請求項8】
頭部と胴体部とを有するペット型のロボットを収納する収納部を備え、
前記収納部は、
前記ロボットが配置される床部と、
前記ロボットの周囲を囲む壁部と、を備え、
前記壁部は、前記壁部の内側に向けて突出し、前記胴体部を覆うように配置された突起部を備えることで、前記胴体部の動きの抑制する一方、前記頭部の動きは抑制しないように構成されている、
給電装置。
【請求項9】
前記床部には、前記床部の上側に向けて突出した床側突起部が設けられており、
前記床側突起部は、前記ロボットの前記頭部と前記胴体部との間の部分を支持することで、前記頭部の動きを抑制しないよう構成されている、
請求項8に記載の給電装置。
【請求項10】
給電装置と電子機器とを備える電力伝送システムであって、
前記給電装置は、
送電コイルと、
前記送電コイルを介して前記電子機器にワイヤレスで電力を供給する送電回路と、
給電時に前記電子機器を収納する収納部と、を備え、
前記電子機器は、
バッテリと、
受電コイルと、
前記受電コイルを介して前記給電装置からワイヤレスで供給される前記電力を前記バッテリに供給する受電回路と、を備え、
前記収納部は、
前記電子機器が配置される床部と、
前記電子機器の周囲を囲む壁部と、を備え、
前記壁部には、前記壁部の内側に向けて突出した複数の壁側突起部が設けられており、
前記電子機器は、前記収納部に収納されているときに、前記複数の壁側突起部により移動が制限される、
電力伝送システム。
発明の詳細な説明
【技術分野】
【0001】
本開示は、給電装置、及び、電力伝送システムに関する。
続きを表示(約 1,200 文字)
【背景技術】
【0002】
近年、給電装置からワイヤレス給電を受けて内蔵したバッテリを充電する電子機器が利用され、特許文献1には、送電側ユニットが、受電側ユニットが適切な位置に配置されたか否かを判定する技術が記載されている。
【先行技術文献】
【特許文献】
【0003】
特開2010-119251号公報
【発明の概要】
【発明が解決しようとする課題】
【0004】
しかしながら、特許文献1に記載された技術では、受電側ユニットの位置ずれが生じることについての抑制が十分でないおそれがあった。
【0005】
本開示は、上記問題に鑑みてなされたものであり、給電対象の電子機器の位置ずれを抑制する給電装置、及び、電力伝送システムを提供することを目的とする。
【課題を解決するための手段】
【0006】
上記目的を達成するために、本開示に係る給電装置は、電子機器に非接触で電力を供給するために前記電子機器を収納する収納部を備え、前記収納部は、前記電子機器が配置される床部と、前記電子機器の周囲を囲む壁部と、を備え、前記壁部には、前記壁部の内側に向けて突出した複数の壁側突起部が設けられている。
【発明の効果】
【0007】
本開示によれば、給電を受ける電子機器の位置ずれを抑制することができる。
【図面の簡単な説明】
【0008】
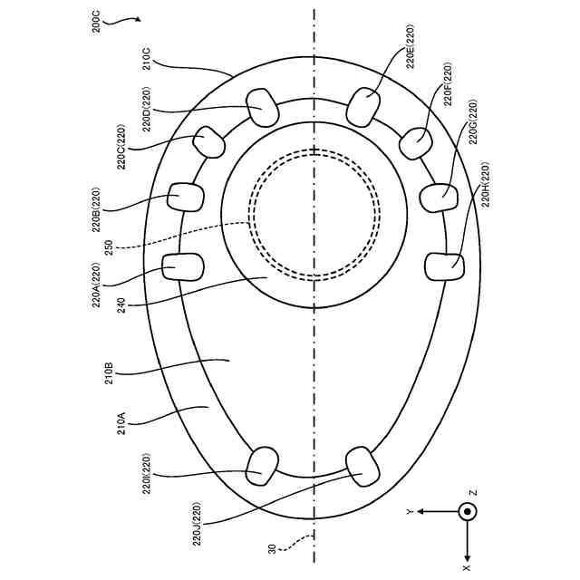
実施の形態1に係る電子機器及び給電装置の斜視図
実施の形態1に係る電子機器の本体部の斜視図
実施の形態1に係る給電装置の上面図
実施の形態1に係る電子機器及び給電装置の収納状態における上面図
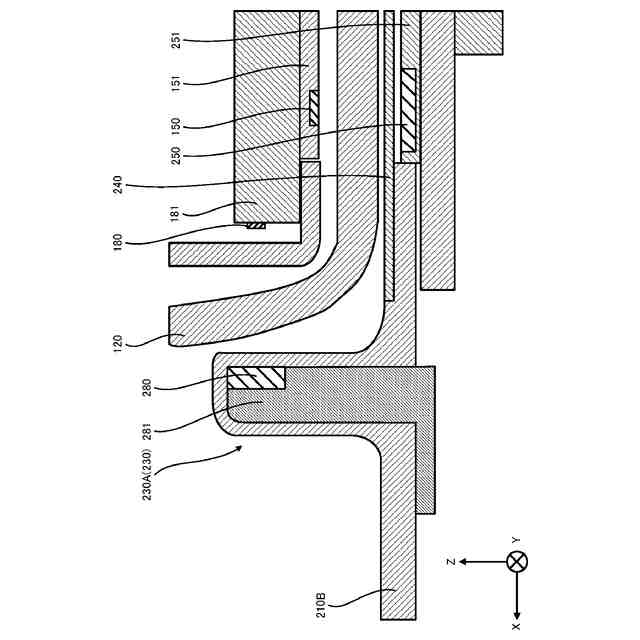
実施の形態1に係る壁側突起部の側面図
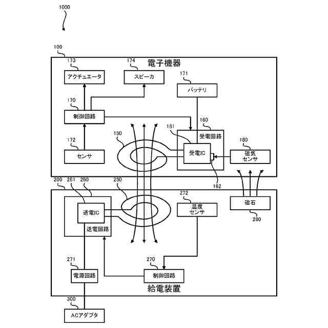
実施の形態1に係る電力伝送システムの構成図
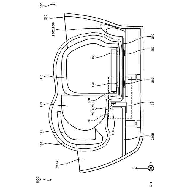
図4に示すA-A線の断面図
図7に示す破線50で囲まれた領域の拡大図
実施の形態2に係る給電装置の上面図
【発明を実施するための形態】
【0009】
以下、本開示の実施の形態について、図面を参照しながら詳細に説明する。なお、図中同一又は相当部分には同一符号を付す。
【0010】
(実施の形態1)
まず、図1を参照して、実施の形態に係る電力伝送システム1000が備える電子機器100及び給電装置200の外観について説明する。電力伝送システム1000は、給電装置200が電子機器100にワイヤレスで給電するシステムである。給電装置200は、給電装置200が備える収納部210に電子機器100が収納されたときに、電子機器100にワイヤレスで給電する。ワイヤレスとは、非接触であることを意味し、ケーブルの接続、電極の接触等がないことを意味する。
(【0011】以降は省略されています)
この特許をJ-PlatPat(特許庁公式サイト)で参照する
関連特許
日本精機株式会社
サージ保護回路
2日前
西部電機株式会社
充電装置
2日前
西部電機株式会社
充電装置
2日前
トヨタ自動車株式会社
固定子
今日
トヨタ自動車株式会社
回転子
6日前
トヨタ自動車株式会社
製造装置
今日
個人
連続ガウス加速器形磁力増幅装置
2日前
カヤバ株式会社
筒型リニアモータ
1日前
株式会社ミツバ
ブラシレスモータ
1日前
東京瓦斯株式会社
通信装置
1日前
個人
太陽エネルギー収集システム
今日
日産自動車株式会社
ステータ
7日前
トヨタ自動車株式会社
ロータ
8日前
ユタカ電業株式会社
ケーブルダクト
10日前
ニチコン株式会社
AC入力検出回路
6日前
トヨタ自動車株式会社
被膜形成装置
今日
株式会社デンソー
電力変換装置
6日前
株式会社ダイヘン
電力システム
2日前
株式会社大林組
可搬式充電設備
7日前
東京瓦斯株式会社
給電システム
1日前
株式会社ダイヘン
電力変換装置
2日前
ASTI株式会社
電力変換装置
今日
大和ハウス工業株式会社
システム
1日前
キヤノン株式会社
無線電力伝送システム
今日
株式会社アイシン
保護装置
今日
株式会社アイシン
駆動装置
8日前
株式会社アイシン
駆動装置
今日
株式会社アイシン
回転電機
2日前
シャープ株式会社
表示装置
今日
株式会社アイシン
回転電機
2日前
株式会社アイシン
回転電機
6日前
株式会社明電舎
回転機
7日前
Astemo株式会社
電動駆動装置
8日前
富士電機株式会社
チャンネルベース
6日前
富士電機株式会社
チャンネルベース
6日前
矢崎総業株式会社
プロテクタ
6日前
続きを見る
他の特許を見る