TOP
|
特許
|
意匠
|
商標
特許ウォッチ
Twitter
他の特許を見る
10個以上の画像は省略されています。
公開番号
2025142696
公報種別
公開特許公報(A)
公開日
2025-10-01
出願番号
2024042204
出願日
2024-03-18
発明の名称
電動駆動装置
出願人
Astemo株式会社
代理人
個人
,
個人
主分類
H02K
5/22 20060101AFI20250924BHJP(電力の発電,変換,配電)
要約
【課題】コネクタ間口の向きと位置を容易に変更することができ、異なるレイアウトの搭載対象装置に適用できる電動駆動装置を提供する。
【解決手段】電動駆動装置は、コネクタブロック4とハウジング1の結合部に、電動モータ2の回転軸2aに対して所定の方向に所定の角度で傾斜した接合面を有し、接合位置を変更することでコネクタ間口が異なる方向に配置可能に構成されている。そして、第1コイル線接続部10は、コネクタ間口が第1の向きとなる状態でコネクタブロックをハウジングに結合したときに巻線端子2cと接続される位置に配置され、第2コイル線接続部11は、コネクタ間口が第1の向きと異なる第2の向きとなる状態でコネクタブロックをハウジングに結合したときに巻線端子と接続される位置に配置される、ことを特徴とする。
【選択図】図2
特許請求の範囲
【請求項1】
複数の巻線組を有する電動モータと、
前記電動モータが収容されるハウジングと、
外部に接続されるコネクタ間口を有し、前記ハウジングの開口部に結合されて前記ハウジング内を封止するコネクタブロックと、
前記電動モータを駆動する電子回路が搭載され、前記コネクタブロック内の前記コネクタ間口に対応する位置に収容される回路基板と、
前記コネクタブロックの異なる位置に配置され、前記複数の巻線組における巻線端子が択一的に接続される第1、第2コイル線接続部と、
前記コネクタブロック中に形成され、選択された前記第1または第2コイル線接続部と前記電子回路とを接続するブロック内配線と、を備え、
前記コネクタブロックと前記ハウジングの結合部は、前記電動モータの回転軸に対して所定の方向に所定の角度で傾斜した接合面を有し、接合位置を変更することで前記コネクタ間口が異なる方向に配置可能に構成され、
前記第1コイル線接続部は、前記コネクタ間口が第1の向きとなる状態で前記コネクタブロックを前記ハウジングに結合したときに前記巻線端子と接続される位置に配置され、
前記第2コイル線接続部は、前記コネクタ間口が前記第1の向きと異なる第2の向きとなる状態で前記コネクタブロックを前記ハウジングに結合したときに前記巻線端子と接続される位置に配置される、
ことを特徴とする電動駆動装置。
続きを表示(約 470 文字)
【請求項2】
前記接合面は、シール部材が配置されるシール構造であり、
前記第1コイル線接続部及び第2コイル線接続部はそれぞれ、前記接合面に対して垂直な方向から前記巻線端子に接続される、ことを特徴とする請求項1に記載の電動駆動装置。
【請求項3】
前記コネクタブロックを前記ハウジングに結合した状態で、前記巻線端子に接続されていない状態となる前記第1コイル線接続部または前記第2コイル線接続部は、前記ハウジングに接触している、または放熱材を介して熱的に接続されている、ことを特徴とする請求項1に記載の電動駆動装置。
【請求項4】
前記電動モータは、前記回転軸におけるコネクタブロック側に配置され、前記回転軸の回転を検出するセンサ素子が実装されたセンサ基板と、このセンサ基板と前記回路基板とを電気的に接続する電気接続部材とを更に備え、
前記センサ基板は、前記ハウジングに固定され、
前記回路基板は、前記コネクタブロックに固定される、ことを特徴とする請求項1に記載の電動駆動装置。
発明の詳細な説明
【技術分野】
【0001】
本発明は、電動モータと、この電動モータの駆動を制御する制御装置とを一体化した電動駆動装置に関し、例えば車両用の電動パワーステアリング装置に適用されるものである。
続きを表示(約 2,200 文字)
【背景技術】
【0002】
特許文献1には、車両のハンドルに対して補助トルクを出力する電動モータと、この電動モータの駆動を制御する制御装置とを備えた電動式パワーステアリング装置が記載されている。制御装置が実装された基板は、モータ軸と水平に配置されて電動モータに取り付けられる。また、基板の下面に、モータ軸に対して垂直方向にコネクタ間口が設置され、この設置面と同一面(もしくは水平面)にシール構造が設けられている。
【先行技術文献】
【特許文献】
【0003】
特開2007-137302号公報
【発明の概要】
【発明が解決しようとする課題】
【0004】
ところで、この種の装置にあっては、通常、コネクタ間口の向きは予め決まっており、搭載される車両の要求に合わせてコネクタ間口の向きを設定し、新規製品の開発を行っている。
【0005】
しかしながら、特許文献1の制御装置では、コネクタ間口とハウジング側のシール部の位置関係が固定されているため、シール部の位置に対してコネクタ間口の向きを変更することはできない。また、コネクタベースがECU(Electronic Control Unit)の外装部と結合したときに、コネクタ間口の向きを確定する構造になっているため、コネクタ間口の変更が必要なときには、コネクタベースから再設計と作り直しが必要となる。
この結果、異なる車両レイアウトの電動パワーステアリング装置に適用するには多大な開発工数を要し、製品コストの上昇を招く、という課題がある。
【0006】
本発明は上記のような事情に鑑みてなされたもので、その目的とするところは、コネクタ間口の向きと位置を容易に変更することができ、異なるレイアウトの搭載対象装置に適用できる電動駆動装置を提供することにある。
【課題を解決するための手段】
【0007】
本発明の一側面に係る電動駆動装置は、コネクタブロックとハウジングの結合部に、電動モータの回転軸に対して所定の方向に所定の角度で傾斜した接合面を有し、結合する向きが変更されることで、コネクタ間口が異なる向きと位置に配置可能に構成される。そして、コネクタ間口が第1の向きでコネクタブロックをハウジングに結合したときに、第1コイル線接続部が巻線端子と接続される位置に配置され、コネクタ間口が第1の向きと異なる第2の向きでコネクタブロックをハウジングに結合したときに、第2コイル線接続部が巻線端子と接続される位置に配置されている、ことを特徴とする。
【発明の効果】
【0008】
本発明では、回路基板をコネクタブロック内におけるコネクタ形成面の裏面側に設置することで、コネクタ間口と回路基板の配置関係を崩さずにハウジングに対するコネクタ間口の向きと位置を変更することができる。コネクタ間口の向きと位置の変更に伴って回路基板の位置も変動するため、電動モータの巻線組の接続位置の変更が必要となるが、コネクタブロックに予め巻線組の接続構造を2箇所設けたことで、巻線組の接続位置を容易に変更できる。
これによって、同一部品でコネクタ間口の向きと位置を容易に変更することができ、異なるレイアウトの搭載対象装置に適用できる電動駆動装置を提供することできる。
【図面の簡単な説明】
【0009】
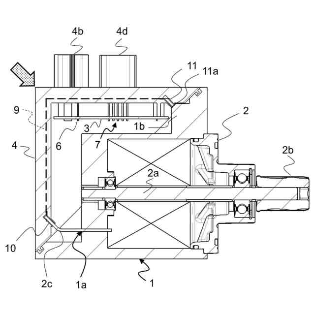
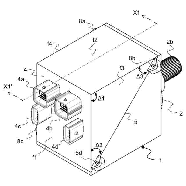
本発明の第1の実施形態に係る電動駆動装置における第1態様の概略構成例を示す斜視図である。
図1に示した電動駆動装置の分解斜視図である。
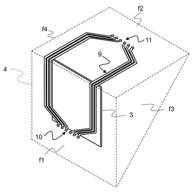
図2に示したコネクタブロック中に形成されるブロック内配線を示す斜視図である。
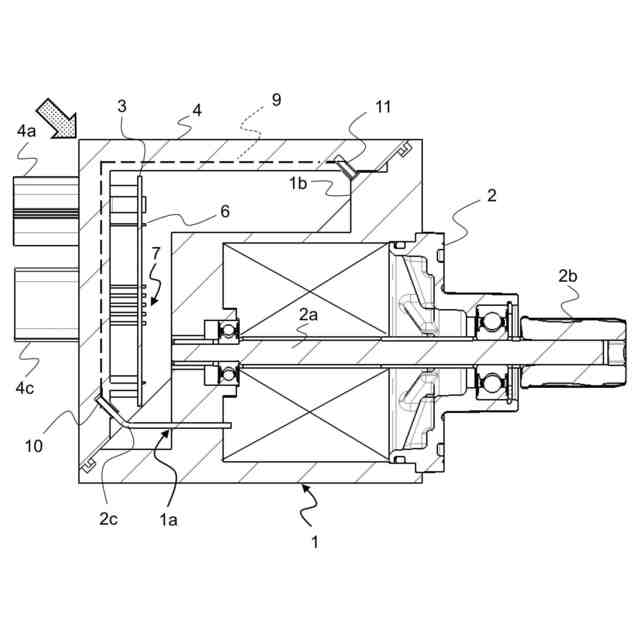
図1に示した電動駆動装置のX1-X1’線に沿った断面図である。
本発明の第1の実施形態に係る電動駆動装置における第2態様の概略構成例を示す斜視図である。
図5に示した電動駆動装置の分解斜視図である。
図6に示したコネクタブロック中に形成されるブロック内配線を示す斜視図である。
図5に示した電動駆動装置のX2-X2’線に沿った断面図である。
本発明の第2の実施形態に係る電動駆動装置における第1態様について説明するためのもので、図4に対応する断面図である。
本発明の第2の実施形態に係る電動駆動装置における第2態様について説明するためのもので、図8に対応する断面図である。
【発明を実施するための形態】
【0010】
以下、本発明の実施形態について図面を参照して説明する。
[第1の実施形態]
図1乃至図4はそれぞれ、本発明の第1の実施形態に係る電動駆動装置における第1態様の構成例を示しており、図1は概略構成を示す斜視図、図2は分解斜視図、図3はブロック内配線を示す斜視図、図4は図1のX1-X1’線に沿った断面図である。この電動駆動装置は、例えば車両用の電動パワーステアリング装置に搭載されるものである。本第1態様は、コネクタ間口が電動モータの回転軸と同一方向で、出力軸と逆向き配置された構成になっている。
(【0011】以降は省略されています)
この特許をJ-PlatPat(特許庁公式サイト)で参照する
関連特許
Astemo株式会社
樹脂筐体
3日前
Astemo株式会社
電池監視装置
3日前
Astemo株式会社
電圧検出装置
5日前
Astemo株式会社
電流検出装置
5日前
Astemo株式会社
電動駆動装置
3日前
Astemo株式会社
電圧検出装置
1日前
Astemo株式会社
電動モータ装置
2日前
Astemo株式会社
電池管理システム
1日前
Astemo株式会社
バッテリー充電装置
5日前
Astemo株式会社
緩衝装置、懸架装置
3日前
Astemo株式会社
インジェクタ駆動装置
1日前
Astemo株式会社
回転電機のロータ構造
1日前
Astemo株式会社
バンプストッパ、緩衝器
5日前
Astemo株式会社
支持ユニット、懸架装置
5日前
Astemo株式会社
インジェクタ故障検出装置
1日前
Astemo株式会社
インジェクタ故障検出装置
5日前
Astemo株式会社
放電装置及び電力変換装置
2日前
Astemo株式会社
制御装置及び鍵情報秘匿方法
5日前
Astemo株式会社
タスク処理方法および制御装置
5日前
Astemo株式会社
温度検出装置及び電圧検出装置
1日前
Astemo株式会社
ナット部材、緩衝装置、加圧工具
2日前
Astemo株式会社
電池監視装置及び電池管理システム
1日前
Astemo株式会社
電池監視装置及び電池管理システム
3日前
Astemo株式会社
車両制御装置及びセンサデータ処理方法
3日前
Astemo株式会社
自動車用電子制御装置およびメモリ管理装置
5日前
Astemo株式会社
半導体装置
1日前
Astemo株式会社
被牽引車用制御装置及び被牽引車バッテリ充電率調整システム
1日前
Astemo株式会社
車両制御システム
4日前
Astemo株式会社
改善システム、改善方法
9日前
Astemo株式会社
サスペンション制御装置、サスペンション制御方法、およびサスペンション制御プログラム
3日前
個人
電源装置
16日前
個人
永久磁石モーター
1か月前
個人
バッテリ内蔵直流電源
15日前
株式会社FUJI
制御盤
5日前
オムロン株式会社
電源回路
9日前
オムロン株式会社
電源回路
9日前
続きを見る
他の特許を見る