TOP
|
特許
|
意匠
|
商標
特許ウォッチ
Twitter
他の特許を見る
10個以上の画像は省略されています。
公開番号
2025145984
公報種別
公開特許公報(A)
公開日
2025-10-03
出願番号
2024046532
出願日
2024-03-22
発明の名称
チャンネルベース
出願人
富士電機株式会社
代理人
個人
,
個人
主分類
H02B
1/01 20060101AFI20250926BHJP(電力の発電,変換,配電)
要約
【課題】チャンネルベースにおいて、疲労強度を向上させる。
【解決手段】据付フレーム16は、床12と盤13との間に介在させてあり、下開き部材21と、上開き部材22と、を備えている。下開き部材21は、断面形状が下方に向かって開いたコ字状であり、天板31に盤13が据え付けられる。上開き部材22は、断面形状が上方に向かって開いたコ字状であり、底板41が床12に据え付けられ、下開き部材21に嵌め合わせて接合される。
【選択図】図3
特許請求の範囲
【請求項1】
床と盤との間に介在させる据付フレームを備え、
前記据付フレームは、
断面形状が下方に向かって開いたコ字状であり、天板に前記盤が据え付けられる下開き部材と、
断面形状が上方に向かって開いたコ字状であり、底板が前記床に据え付けられ、前記下開き部材に嵌め合わせて接合される上開き部材と、を備えることを特徴とするチャンネルベース。
続きを表示(約 830 文字)
【請求項2】
前記上開き部材は、一対の側板が前記下開き部材における一対の側板の内側に嵌まり合っていることを特徴とする請求項1に記載のチャンネルベース。
【請求項3】
前記下開き部材、及び前記上開き部材は、互いに重なり合う前記側板同士が接合されていることを特徴とする請求項2に記載のチャンネルベース。
【請求項4】
前記下開き部材、及び前記上開き部材は、締結具を介して接合されていることを特徴とする請求項3に記載のチャンネルベース。
【請求項5】
前記上開き部材は、前記下開き部材よりも延在方向に短く、前記床への据え付け点のみに設けられることを特徴とする請求項1に記載のチャンネルベース。
【請求項6】
前記上開き部材は、前記下開き部材の延在方向に沿って前記床への据え付け点を調整可能であることを特徴とする請求項1に記載のチャンネルベース。
【請求項7】
前記上開き部材の前記底板には、前記床への据え付け用の貫通穴が形成されていることを特徴とする請求項1に記載のチャンネルベース。
【請求項8】
前記下開き部材の前記天板には、前記盤の据え付け用の貫通穴が形成されていることを特徴とする請求項1に記載のチャンネルベース。
【請求項9】
前記下開き部材の前記天板には、前記上開き部材を前記床に据え付けるときのために据え付け作業用の開口が形成されていることを特徴とする請求項1に記載のチャンネルベース。
【請求項10】
平行に並んだ一対の前記据付フレームと、
前記据付フレームに直交して平行に並んだ一対の連結フレームと、を備え、
一対の前記据付フレーム、及び一対の前記連結フレームにおける互いの端部同士を連結したロ字状の枠体であることを特徴とする請求項1に記載のチャンネルベース。
(【請求項11】以降は省略されています)
発明の詳細な説明
【技術分野】
【0001】
本発明は、チャンネルベースに関するものである。
続きを表示(約 1,900 文字)
【背景技術】
【0002】
電気機器などを収容する自立型の盤は、チャンネルベースを介して床に設置される。チャンネルベースのフレームとして、例えば特許文献1には、下方に向かって開いたコ字状で、且つ側板の一方を外側に折り曲げたL字状に形成し、L字状の底板を床に据え付け、コ字状の天板に盤を据え付ける構造が開示されている。
【先行技術文献】
【特許文献】
【0003】
特開2001-275212号公報
【発明の概要】
【発明が解決しようとする課題】
【0004】
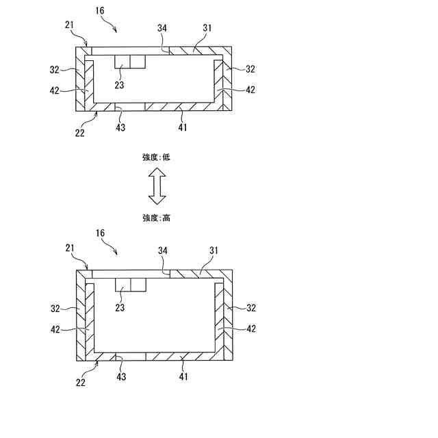
風や地震などの外力によって盤が揺れると、チャンネルベースのフレームは、モーメントを受けてL字状の屈曲部に応力が集中し、疲労する可能性がある。
本発明の目的は、チャンネルベースにおいて、疲労強度を向上させることである。
【課題を解決するための手段】
【0005】
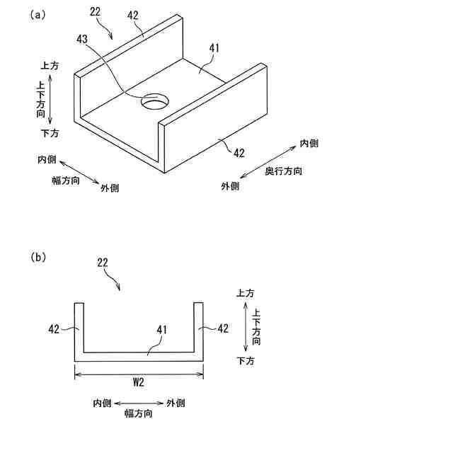
本発明の一態様に係るチャンネルベースは、床と盤との間に介在させる据付フレームを備えている。据付フレームは、下開き部材と、上開き部材と、を備えている。下開き部材は、断面形状が下方に向かって開いたコ字状であり、天板に盤が据え付けられる。上開き部材は、断面形状が上方に向かって開いたコ字状であり、底板が床に据え付けられ、下開き部材に嵌め合わせて接合される。
【発明の効果】
【0006】
本発明によれば、下開き部材に上開き部材を嵌め合わせることで、少なくとも床への据え付け点において据付フレームを閉断面にすることができる。しかも、下開き部材における盤の据え付け点から、上開き部材における床への据え付け点までの距離を短くすることができるので、盤が揺れるときのモーメントアームを小さくすることができる。したがって、応力の集中を緩和させ据付フレームの疲労強度を向上させることができる。
【図面の簡単な説明】
【0007】
チャンネルベースの設置例を示す図である。
チャンネルベースを示す図である。
据付フレームを示す図である。
下開き部材を示す図である。
上開き部材を示す図である。
連結フレームを示す図である。
変形例1について説明した図である。
チャンネルベースを示す図である。
据付フレームを示す図である。
下開き部材を示す図である。
上開き部材を示す図である。
連結フレームを示す図である。
【発明を実施するための形態】
【0008】
以下、本発明の実施形態を図面に基づいて説明する。なお、各図面は模式的なものであって、現実のものとは異なる場合がある。また、以下の実施形態は、本発明の技術的思想を具体化するための装置や方法を例示するものであり、構成を下記のものに特定するものでない。すなわち、本発明の技術的思想は、特許請求の範囲に記載された技術的範囲内において、種々の変更を加えることができる。
【0009】
《第一実施形態》
《構成》
以下の説明では、互いに直交する三方向を、幅方向、奥行方向、及び上下方向とする。幅方向及び奥行方向に沿った平面は、水平であるものとする。
図1は、チャンネルベース11の設置例を示す図である。
ここでは、チャンネルベース11の設置例を、幅方向の一方、奥行方向の一方、及び上下方向の上方から見た状態を示している。チャンネルベース11は、床12と盤13との間に介在させてあり、盤13を据え付けるための土台を構成している。チャンネルベース11は、盤13に合わせた幅寸法及び奥行寸法であり、幅方向が長手方向となり、奥行方向が短手方向となる。
【0010】
図2は、チャンネルベース11を示す図である。
図中の(a)は、チャンネルベース11を、幅方向の一方、奥行方向の一方、及び上下方向の上方から見た状態を示している。図中の(b)は、チャンネルベース11を、幅方向の他方、奥行方向の一方、及び上下方向の下方から見た状態を示している。チャンネルベース11は、一対の据付フレーム16と、一対の連結フレーム17と、を備えている。一対の据付フレーム16は、奥行方向に延び、幅方向に離れて平行に並んでいる。一対の連結フレーム17は、幅方向に延び、奥行方向に離れて平行に並んでいる。チャンネルベース11は、一対の据付フレーム16、及び一対の連結フレーム17における互いの端部同士を連結したロ字状の枠体である。
(【0011】以降は省略されています)
この特許をJ-PlatPat(特許庁公式サイト)で参照する
関連特許
富士電機株式会社
搬送機構
15日前
富士電機株式会社
冷却装置
18日前
富士電機株式会社
溶接装置
15日前
富士電機株式会社
エンコーダ
12日前
富士電機株式会社
電磁接触器
11日前
富士電機株式会社
電磁接触器
11日前
富士電機株式会社
電磁接触器
11日前
富士電機株式会社
電磁接触器
11日前
富士電機株式会社
電磁接触器
11日前
富士電機株式会社
半導体装置
15日前
富士電機株式会社
半導体装置
11日前
富士電機株式会社
回路遮断器
12日前
富士電機株式会社
商品収納装置
7日前
富士電機株式会社
ショーケース
7日前
富士電機株式会社
電力変換システム
11日前
富士電機株式会社
電力変換システム
15日前
富士電機株式会社
半導体モジュール
今日
富士電機株式会社
チャンネルベース
11日前
富士電機株式会社
チャンネルベース
11日前
富士電機株式会社
エレベータ制御装置
13日前
富士電機株式会社
エレベータ制御装置
13日前
富士電機株式会社
測定方法及び製造方法
18日前
富士電機株式会社
自動販売機の保護装置
18日前
富士電機株式会社
冷却器及び半導体装置
11日前
富士電機株式会社
半導体モジュール及び車両
19日前
富士電機株式会社
冷却装置および電力変換装置
19日前
富士電機株式会社
店舗用冷却装置制御システム
19日前
富士電機株式会社
冷却器及び半導体モジュール
11日前
富士電機株式会社
測定装置および冷却システム
13日前
富士電機株式会社
半導体装置及びその製造方法
11日前
富士電機株式会社
店舗内位置情報取得システム
12日前
富士電機株式会社
窒化物半導体装置の製造方法
11日前
富士電機株式会社
電力変換装置及びその制御方法
7日前
富士電機株式会社
炭化珪素半導体装置の製造方法
11日前
富士電機株式会社
最適制御方法、及び最適制御装置
15日前
富士電機株式会社
過電圧保護回路および半導体装置
19日前
続きを見る
他の特許を見る