TOP
|
特許
|
意匠
|
商標
特許ウォッチ
Twitter
他の特許を見る
公開番号
2025145650
公報種別
公開特許公報(A)
公開日
2025-10-03
出願番号
2024045943
出願日
2024-03-22
発明の名称
プロテクタ
出願人
矢崎総業株式会社
代理人
個人
,
個人
,
個人
主分類
H02G
3/04 20060101AFI20250926BHJP(電力の発電,変換,配電)
要約
【課題】カバーを正規の向きと逆向きでベースに組み付けることを防止できるプロテクタを提供する。
【解決手段】プロテクタ1は、複数の電線が束ねられた電線束にコルゲートチューブが被せられたものが内側に通され、これら電線束及びコルゲートチューブを保護するものである。プロテクタ1は、樋状に形成されたベース2と、ベース2に組み付けられて該ベース2の開口を塞ぐカバー3と、を備えている。カバー3を正規の向きでベース2に重ねた際は、カバー3に設けられた逆付け規制リブ35a,35b,36,37がベース2の側壁22,23に設けられた切り欠き25,26,27に進入してカバー3がベース2に組み付け可能となる。カバー3を逆向きでベース2に重ねた際は、逆付け規制リブ35b,36がベース2の側壁22,23に干渉してカバー3がベース2に組み付け不能となる。
【選択図】図7
特許請求の範囲
【請求項1】
底壁と、互いに対向した一対の側壁と、を有する樋状に形成され、前記一対の側壁間に電線を位置付けるベースと、
前記ベースに組み付けられ、前記底壁との間に前記電線を位置付けるカバーと、を備え、
前記カバーに逆付け規制リブが設けられ、前記ベースの前記側壁に切り欠きが設けられており、
前記カバーを正規の向きで前記ベースに重ねた際は、前記逆付け規制リブが前記切り欠きに進入して前記カバーが前記ベースに組み付け可能となるように設けられており、
前記カバーを正規の向きと逆向きで前記ベースに重ねた際は、少なくとも一つの前記逆付け規制リブが前記ベースの前記側壁に干渉して前記カバーが前記ベースに組み付け不能となるように設けられている
ことを特徴とするプロテクタ。
続きを表示(約 280 文字)
【請求項2】
前記カバーの一端側と他端側とにそれぞれ前記逆付け規制リブが設けられ、
前記カバーの中心から一端側の逆付け規制リブまでの距離と、前記カバーの中心から他端側の逆付け規制リブまでの距離と、が異なっている
ことを特徴とする請求項1に記載のプロテクタ。
【請求項3】
前記カバーに、前記電線に外装されたコルゲートチューブの溝に入り込むコルゲートチューブ係止リブが設けられ、
前記逆付け規制リブが、前記コルゲートチューブ係止リブに連続して設けられている
ことを特徴とする請求項1又は2に記載のプロテクタ。
発明の詳細な説明
【技術分野】
【0001】
本発明は、内側に電線を通すプロテクタに関するものである。
続きを表示(約 1,500 文字)
【背景技術】
【0002】
車両に配索されるワイヤハーネスの一例として、電線と、プロテクタと、を備えたものがある(例えば特許文献1を参照)。プロテクタは、内側に通された電線を保護すると共に、車体に固定されて電線の配索経路を規制するものであり、樋状のベースと、ベースの開口を塞ぐカバーと、を備えている。カバーには係止部が設けられ、ベースには係止受け部が設けられている。カバーは、ベースに重ねられて押圧されることで係止部が係止受け部に係止して、ベースに組み付けられる。
【先行技術文献】
【特許文献】
【0003】
特開2023-58059号公報
【発明の概要】
【発明が解決しようとする課題】
【0004】
上記プロテクタは、カバーを正規の向きと逆向きでベースに組み付けるおそれがあり、改善が必要であった。即ち、正規の向きにした場合と逆向きにした場合とでカバーの形状が全く同じであれば問題はないが、微妙に合致しない場合に係止部と係止受け部とが半係止になったりするため、改善が必要であった。
【0005】
そこで、本発明は、カバーを正規の向きと逆向きでベースに組み付けることを防止できるプロテクタを提供することを目的とする。
【課題を解決するための手段】
【0006】
本発明は、底壁と、互いに対向した一対の側壁と、を有する樋状に形成され、前記一対の側壁間に電線を位置付けるベースと、前記ベースに組み付けられ、前記底壁との間に前記電線を位置付けるカバーと、を備え、前記カバーに逆付け規制リブが設けられ、前記ベースの前記側壁に切り欠きが設けられており、前記カバーを正規の向きで前記ベースに重ねた際は、前記逆付け規制リブが前記切り欠きに進入して前記カバーが前記ベースに組み付け可能となるように設けられており、前記カバーを正規の向きと逆向きで前記ベースに重ねた際は、少なくとも一つの前記逆付け規制リブが前記ベースの前記側壁に干渉して前記カバーが前記ベースに組み付け不能となるように設けられていることを特徴とするプロテクタである。
【発明の効果】
【0007】
本発明によれば、プロテクタのカバーを正規の向きと逆向きでベースに組み付けることを防止できる。
【図面の簡単な説明】
【0008】
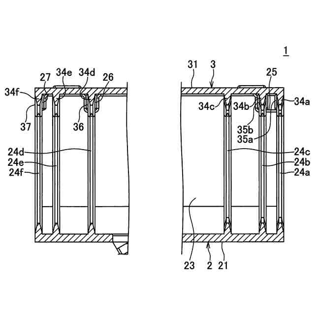
本発明の一実施形態にかかるプロテクタの斜視図であり、カバーが正規の向きでベースに組み付けられた状態を示す図である。
図1のベースの斜視図である。
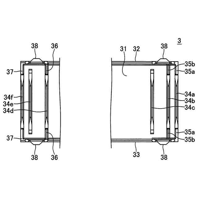
図1のカバーの斜視図である。
図1のカバーの底面図である。
図1のプロテクタの断面図である。
図1と逆向きでカバーをベースに重ねた状態のプロテクタの斜視図である。
図1と逆向きでカバーをベースに重ねた状態のプロテクタの断面図である。
【発明を実施するための形態】
【0009】
本発明の一実施形態にかかる「プロテクタ」について、図1~7を参照して説明する。
【0010】
図1に示すプロテクタ1は、複数の電線が束ねられた電線束にコルゲートチューブが被せられたものが内側に通され、これら電線束及びコルゲートチューブを保護すると共に、車体に固定されて電線束及びコルゲートチューブの配索経路を規制するものである。また、プロテクタ1は、電線束及びコルゲートチューブと共に自動車用ワイヤハーネスを構成する。
(【0011】以降は省略されています)
この特許をJ-PlatPat(特許庁公式サイト)で参照する
関連特許
矢崎総業株式会社
電線
2か月前
矢崎総業株式会社
端子
1か月前
矢崎総業株式会社
端子
1か月前
矢崎総業株式会社
箱状体
1か月前
矢崎総業株式会社
照明灯
23日前
矢崎総業株式会社
バスバ
1か月前
矢崎総業株式会社
導電体
2か月前
矢崎総業株式会社
導電体
2か月前
矢崎総業株式会社
箱状体
1か月前
矢崎総業株式会社
雌端子
1か月前
矢崎総業株式会社
コネクタ
28日前
矢崎総業株式会社
コネクタ
2か月前
矢崎総業株式会社
コネクタ
16日前
矢崎総業株式会社
コネクタ
16日前
矢崎総業株式会社
コネクタ
1か月前
矢崎総業株式会社
コネクタ
23日前
矢崎総業株式会社
コネクタ
23日前
矢崎総業株式会社
コネクタ
23日前
矢崎総業株式会社
コネクタ
2か月前
矢崎総業株式会社
コネクタ
2か月前
矢崎総業株式会社
照明装置
1か月前
矢崎総業株式会社
コネクタ
28日前
矢崎総業株式会社
コネクタ
1か月前
矢崎総業株式会社
コネクタ
1か月前
矢崎総業株式会社
コネクタ
1か月前
矢崎総業株式会社
コネクタ
14日前
矢崎総業株式会社
コネクタ
2か月前
矢崎総業株式会社
コネクタ
1か月前
矢崎総業株式会社
コネクタ
1か月前
矢崎総業株式会社
コネクタ
2か月前
矢崎総業株式会社
配索構造
1か月前
矢崎総業株式会社
コネクタ
1か月前
矢崎総業株式会社
コネクタ
2か月前
矢崎総業株式会社
コネクタ
28日前
矢崎総業株式会社
コネクタ
8日前
矢崎総業株式会社
止水部材
今日
続きを見る
他の特許を見る