TOP
|
特許
|
意匠
|
商標
特許ウォッチ
Twitter
他の特許を見る
10個以上の画像は省略されています。
公開番号
2025149083
公報種別
公開特許公報(A)
公開日
2025-10-08
出願番号
2024049522
出願日
2024-03-26
発明の名称
クラウドデータベースシステム及びデータ管理方法
出願人
株式会社日立製作所
代理人
青稜弁理士法人
主分類
G06F
16/11 20190101AFI20251001BHJP(計算;計数)
要約
【課題】クラウドにおいて業務に影響を与えずに無停止でDBを再編成することができるクラウドデータベースシステム及びデータ管理方法を提供する。
【解決手段】クラウドデータベースシステムは、クラウドサービスにより提供される仮想マシンと、オブジェクトストレージと、DBを格納するボリュームとを有する。仮想マシンは、DBの再編成を行う場合、IOの発行先を第1擬似デバイスから第2擬似デバイスに切り替え、第2擬似デバイスによってDBを格納するボリュームである複製元ボリュームへのIO発行を継続しながら、複製機能によって、複製ボリュームを作成し、第1擬似デバイスによって、複製ボリュームに格納されたDBの再編成を行う。
【選択図】図1
特許請求の範囲
【請求項1】
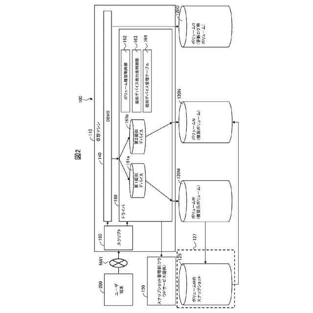
クラウドサービスにより提供される、仮想計算環境とデータベースを格納するブロックストレージであるボリュームとを備えた、
クラウドデータベースシステムであって、
前記仮想計算環境は、
IOを要求するデータベース管理システムと、
前記IOを受信し、前記ボリュームに前記IOを発行可能であり、且つ、前記IOの発行先の前記ボリュームを切替可能な第1擬似デバイスと、
前記IOを受信し、前記ボリュームに前記IOを発行可能であり、且つ、前記IOの発行先の前記ボリュームを切替可能な第2擬似デバイスと、
を備え、
前記データベース管理システムは、
前記第1擬似デバイス及び前記第2擬似デバイスの何れかに前記IOを要求し、前記第1擬似デバイス及び前記第2擬似デバイスの何れかによって、前記ボリュームにIOを発行させる、
クラウドデータベースシステム。
続きを表示(約 2,000 文字)
【請求項2】
請求項1に記載のクラウドデータベースシステムにおいて、
前記クラウドサービスにより提供されるオブジェクトストレージを備え、
前記クラウドサービスは、前記データベースを格納する前記ボリュームである複製元ボリュームのデータコピーを前記オブジェクトストレージに作成し、前記データコピーから複製ボリュームを作成可能な複製機能を有し、
前記データベース管理システムは、
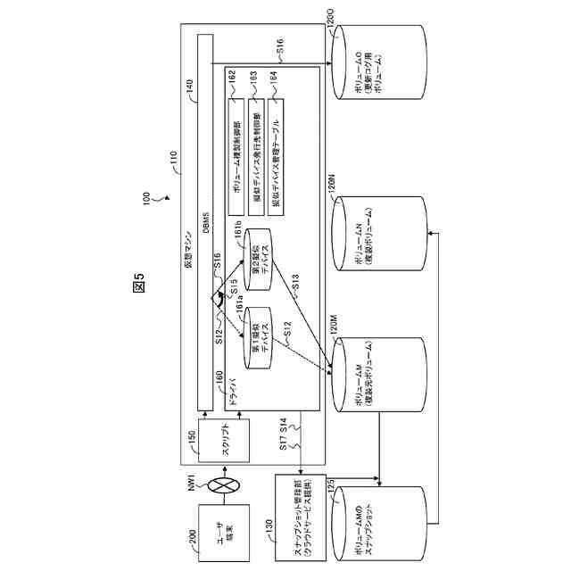
前記IOを前記第1擬似デバイスに要求し、前記第1擬似デバイスによって前記IOを前記複製元ボリュームに発行している通常業務状態において、前記データベースの再編成を行う場合、
前記IOの要求先を前記第1擬似デバイスから前記第2擬似デバイスに切り替え、前記第2擬似デバイスによって前記複製元ボリュームへのIO発行を継続しながら、前記複製機能によって前記複製ボリュームを作成し、前記第1擬似デバイスによって、前記複製ボリュームに格納された前記データベースの再編成を行う、
クラウドデータベースシステム。
【請求項3】
請求項2に記載のクラウドデータベースシステムにおいて、
前記データベース管理システムは、
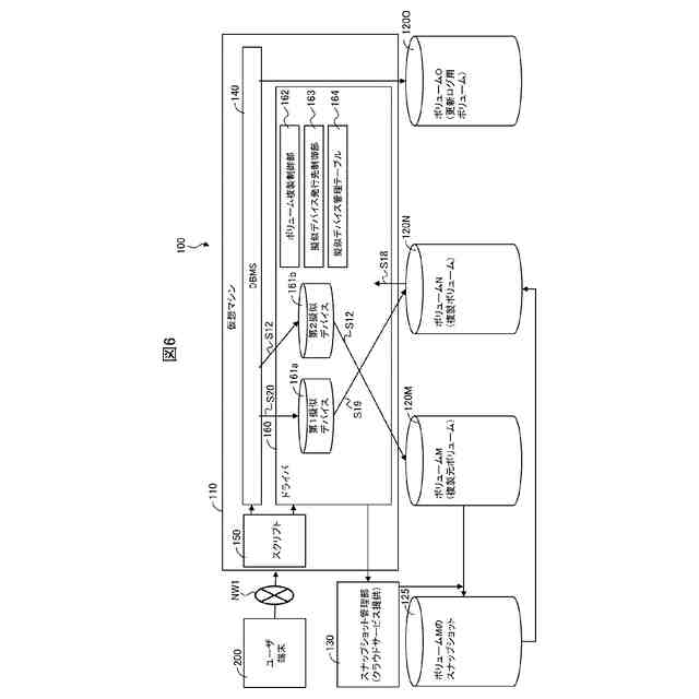
前記第1擬似デバイスによって前記データベースの再編成を完了した後、前記IOの要求先を、前記第2擬似デバイスから前記第1擬似デバイスに切り替え、前記第1擬似デバイスによって、前記IOを、再編成後の前記データベースを格納する前記複製ボリュームに発行する、
クラウドデータベースシステム。
【請求項4】
請求項2に記載のクラウドデータベースシステムにおいて、
前記データベース管理システムは、
前記複製ボリュームの作成が完了した後、前記第1擬似デバイスによって、前記複製ボリュームの全領域を読み込むことにより、前記データコピーから未転送のデータを前記複製ボリュームに転送させる、
クラウドデータベースシステム。
【請求項5】
請求項3に記載のクラウドデータベースシステムにおいて、
更新ログ用の前記ボリュームを有し、
前記データベース管理システムは、
前記第2擬似デバイスによって前記データベースを格納する前記ボリュームである前記複製元ボリュームへのIO発行を継続している間、更新ログ用の前記ボリュームに、前記データベースへの更新IO要求のログを記録する、
クラウドデータベースシステム。
【請求項6】
請求項5に記載のクラウドデータベースシステムにおいて、
前記データベース管理システムは、
前記データベースの再編成を完了した後、前記第1擬似デバイスによって、前記IOを再編成後の前記データベースを格納する前記複製ボリュームに発行する前に、前記更新IO要求のログを、再編成後の前記データベースを格納する前記複製ボリュームに反映させる、
クラウドデータベースシステム。
【請求項7】
請求項3に記載のクラウドデータベースシステムにおいて、
前記データベース管理システムは、
前記データベースの再編成が完了し、前記IOの要求先を、前記第2擬似デバイスから前記第1擬似デバイスに切り替えた後、前記複製元ボリュームを削除する、
クラウドデータベースシステム。
【請求項8】
請求項2に記載のクラウドデータベースシステムにおいて、
前記仮想計算環境は、
前記第1擬似デバイス及び前記第2擬似デバイスを含み、前記第1擬似デバイス及び前記第2擬似デバイスのIO発行先の前記ボリュームを制御するドライバを備える、
クラウドデータベースシステム。
【請求項9】
クラウドサービスにより提供される、仮想計算環境とデータベースを格納するブロックストレージであるボリュームとを備えた、クラウドデータベースシステムに適用されるデータ管理方法であって、
前記仮想計算環境は、
IOを要求するデータベース管理システムと、
前記IOを受信し、前記ボリュームに前記IOを発行可能であり、且つ、前記IOの発行先の前記ボリュームを切替可能な第1擬似デバイスと、
前記IOを受信し、前記ボリュームに前記IOを発行可能であり、且つ、前記IOの発行先の前記ボリュームを切替可能な第2擬似デバイスと、
を備え、
前記データベース管理システムによって、
前記第1擬似デバイス及び前記第2擬似デバイスの何れかに前記IOを要求し、前記第1擬似デバイス及び前記第2擬似デバイスの何れかによって、前記ボリュームにIOを発行させる、
データ管理方法。
発明の詳細な説明
【技術分野】
【0001】
本発明は、クラウドデータベースシステム及びデータ管理方法に関する。
続きを表示(約 2,500 文字)
【背景技術】
【0002】
金融、公共、交通及び通信などに適用されるミッションクリティカルシステムは、社会インフラを支え、障害及び停止が許されない重要なシステムである。ミッションクリティカルシステムにおいて、DBMS(Data Base Management System:データベース管理システム)は、データを安全に保存し、必要なデータに高速にアクセスするために使用される。DBMSには、ミッションクリティカルを支えるために高い品質が求められる。
【0003】
DBMSでは、長期間運用するとDB(Data Base)の断片化が発生し、性能が低下するため、定期的にDBの再編成が必要である。ミッションクリティカルシステムのDBMSに求められる高い品質としては、24時間無停止で高性能な稼働を実現することが重要である。このような稼働を実現するためには、定期的なDBの再編成を業務無停止で実施することが不可欠となる。
【0004】
オンプレミスでは、DBMSの性能を低下させずにDBを再編成することができる。その方式は、次の通りである。
(1)DBの再編成を始める前は、DBMSは、ボリューム#1でDBの更新処理をしている。また、ストレージの機能で、ボリューム#1に書き込まれたデータはボリューム#2にも反映される。
(2)DBの更新処理を停止し、ボリューム#1へIOを発行しない状態にする。これを静止化という。
(3)静止化中に、ストレージの機能で、ボリューム#1とボリューム#2を完全に同じデータに揃った状態にし、ボリューム#2へIOを発行できるようにする。
(4)DBMSでDBの更新処理をするボリュームをボリューム#2へ切り替える。
(5)静止化を解除し、ボリューム#2でDBの更新処理を再開する。また、実行したトランザクションによるデータの更新の記録を開始する(即ち、データの更新に関する情報の記録を開始する。)。
(6)ボリューム#1に格納されているDBを再編成する。
(7)再編成完了後、DB再編成中に記録したデータの更新に関する情報により、更新内容をボリューム#1に反映する。
(8)反映完了と同時に、DBを静止化し、データの更新の記録を停止する。
(9)DBMSでDBの更新処理をするボリュームをボリューム#1へ切り替える。
(10)静止化を解除して、ボリューム#1でDBの更新処理を再開する。
【0005】
一方で、クラウドでは、前記の再編成方式で使用しているストレージのボリューム複製機能がなく、異なる方式でボリュームの複製機能を提供している。例えば、クラウドとしてAWS(Amazon Web Services)で、ブロックデバイスであるEBS(Amazon Elastic Block Store)を複製する場合、次のような手順で実行される。
(1)複製元のEBSを使用中の業務アプリケーション等を停止し、複製元のEBSが更新されない状態にする。
(2)複製元のEBSのスナップショットをS3(Amazon Simple Storage Service (Amazon S3))に作成する。なお、このスナップショットの作成には、時間(例えば100GBのEBSのスナップショットの作成に約20分程度)がかかる。
(3)スナップショットの作成完了後、スナップショットから新しい複製EBSを作成する。
【0006】
特許文献1は、オンプレミスで、データベースシステムの処理を停止することなく、データベースの再編成処理が可能とするための技術を開示する。特許文献2は、オンプレミスでデータベース処理をできるだけ継続させたまま所定処理を実行することが可能な技術を開示する。
【先行技術文献】
【特許文献】
【0007】
特開2006-119822号公報
特開2004-318288号公報
【発明の概要】
【発明が解決しようとする課題】
【0008】
ミッションクリティカルシステムのクラウドへの移行が進んでいる。ミッションクリティカルシステムをクラウドに移行した場合においても、定期的なDBの再編成を業務に影響を与えないで業務無停止で実施することが不可欠となる。
【0009】
DBMSの性能を低下させずにDBを再編成するためには、DBを再編成している間、再編成中のDBが格納されているボリュームとは別のボリュームに格納されたDBに業務を引き継いでDBの更新ができる必要がある。このため、データを揃えた状態でボリュームを複製する仕組みが必要になる。
【0010】
例えば、クラウドとしてAWSを利用して、再編成対象のDBが格納されたEBSを複製し、再編成を実行する場合、EBSスナップショットを利用して、次のような手順で実行される。
(1)再編成対象のDBが格納された複製元のEBSを使用中のDBMSからIOを出さないようにし、再編成対象のDBが格納された複製元のEBSにデータを書き込まない状態にする。
(2)再編成対象のDBが格納された複製元のEBSのスナップショットをS3に作成する。なお、このスナップショットの作成には、時間(例えば100GBのEBSのスナップショットの作成に約20分程度)がかかる。
(3)スナップショットの作成完了後、スナップショットから新しい複製EBSを作成する。
(4)複製EBSを作成後、複製元のEBSのDBを再編成し、再編成中、複製EBSをDBMSが使用すると同時に、実行したトランザクションにより更新されるデータの記録を開始する(当該データは、例えばEBSに記録される。)。
(5)再編成完了後、EBSに記録された更新されたデータを複製元EBSに反映し、実行したトランザクションにより更新されるデータの記録を停止し、複製元のEBSをDBMSが使用する。
(【0011】以降は省略されています)
この特許をJ-PlatPat(特許庁公式サイト)で参照する
関連特許
株式会社日立製作所
鉄道車両
今日
株式会社日立製作所
ガス分離システム
今日
株式会社日立製作所
調停案提示システム
1日前
株式会社日立製作所
部品管理装置及び方法
7日前
株式会社日立製作所
治療効果予測システムおよび方法
1日前
株式会社日立製作所
蒸発乾固装置および蒸発乾固方法
8日前
株式会社日立製作所
情報処理システム、及び情報処理方法
7日前
株式会社日立製作所
計算機システム及び障害対処支援方法
1日前
株式会社日立製作所
圧延設定支援装置及び圧延設定支援方法
今日
株式会社日立製作所
説明情報生成装置及び説明情報生成方法
8日前
株式会社日立製作所
燃料電池ブロックおよび燃料電池システム
1日前
株式会社日立製作所
搬送装置を制御する制御システム及び制御方法
今日
株式会社日立製作所
制御装置,移動体,制御システム及び制御方法
3日前
株式会社日立製作所
生産ラインを編成する装置、システムおよび方法
2日前
株式会社日立製作所
異常事象対処支援装置および異常事象対処支援方法
2日前
株式会社日立製作所
エンティティ抽出システム、エンティティ選択方法
2日前
株式会社日立製作所
ストレージシステム及びストレージシステムの制御方法
8日前
株式会社日立製作所
飛行体検知装置、飛行体検知方法、及び飛行体制御システム
7日前
株式会社日立製作所
情報処理方法、情報処理プログラム、及び情報処理システム
7日前
株式会社日立製作所
ロボット制御装置、ロボット、及び、ロボット制御システム
8日前
株式会社日立製作所
自動画面操作テスト支援装置及び自動画面操作テスト支援方法
8日前
株式会社日立製作所
管路推定システム、管路推定方法、および管路推定プログラム
今日
株式会社日立製作所
データ連動システム、データ連動方法及びデータ連動プログラム
7日前
株式会社日立製作所
障害分析システム、障害分析方法、及び障害分析モデル生成方法
7日前
株式会社日立製作所
栄養塩類徐放性ブロックの製造方法および栄養塩類徐放性ブロック
8日前
株式会社日立製作所
ロボット管理装置、ロボット管理システムおよびロボット管理方法
8日前
株式会社日立製作所
脅威インテリジェンス生成装置、及び脅威インテリジェンス生成方法
8日前
株式会社日立製作所
ロボットの動作学習装置、動作学習システム、および、動作学習方法
7日前
株式会社日立製作所
浄水薬品注入制御システム、浄水薬品注入制御方法、及びプログラム
8日前
株式会社日立製作所
治療選択支援装置、治療選択支援方法、および治療選択支援プログラム
7日前
株式会社日立製作所
電力貯蔵装置監視システム及び電力貯蔵装置監視方法、並びに、電力貯蔵システム
8日前
株式会社日立製作所
計画立案システム、生産管理システム、計画立案方法、および計画立案プログラム
8日前
株式会社日立製作所
セキュリティ侵害分析装置、セキュリティ侵害分析方法、及びセキュリティ分析システム
7日前
株式会社日立製作所
ストレージコントローラにおいて実行されるソフトウェアの起動における改ざん検証のテストを行うシステム
7日前
個人
詐欺保険
3日前
個人
縁伊達ポイン
3日前
続きを見る
他の特許を見る