TOP
|
特許
|
意匠
|
商標
特許ウォッチ
Twitter
他の特許を見る
公開番号
2025149125
公報種別
公開特許公報(A)
公開日
2025-10-08
出願番号
2024049583
出願日
2024-03-26
発明の名称
電子部品包装装置
出願人
株式会社村田製作所
代理人
弁理士法人深見特許事務所
主分類
B65B
15/04 20060101AFI20251001BHJP(運搬;包装;貯蔵;薄板状または線条材料の取扱い)
要約
【課題】包装過程における電子部品の破損のリスクの低減が図られた電子部品包装装置を提供する。
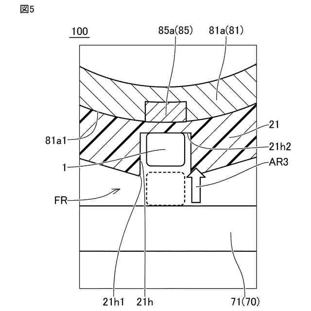
【解決手段】電子部品包装装置100は、複数の電子部品1を搬送する第1搬送機構70と、複数の電子部品1をそれぞれ収容するための複数の凹部21hの各々の開口21h1が並んでいる主面を有するキャリアテープ21を搬送する第2搬送機構81と、第1搬送機構70によって搬送された複数の電子部品1を、複数の凹部21hの各々の底面21h2を介して順次吸引して複数の凹部21の各々の開口21h1を通じて複数の凹部21hの各々に収容させる吸引部85aとを備える。
【選択図】図5
特許請求の範囲
【請求項1】
複数の電子部品を搬送する第1搬送機構と、
複数の電子部品をそれぞれ収容するための複数の凹部の各々の開口が並んでいる主面を有するキャリアテープを搬送する第2搬送機構と、
前記第1搬送機構によって搬送された複数の電子部品を、前記複数の凹部の各々の底面を介して順次吸引して前記複数の凹部の各々の前記開口を通じて前記複数の凹部の各々に収容させる吸引部とを備える、電子部品包装装置。
続きを表示(約 450 文字)
【請求項2】
前記第2搬送機構は、周面を有するローラを含み、
前記周面には、前記複数の凹部の各々の前記底面が前記周面に対向するように前記キャリアテープが巻き掛けられ、
前記吸引部は、前記周面上に設けられている、請求項1に記載の電子部品包装装置。
【請求項3】
前記第1搬送機構は、円盤状の搬送テーブルを含み、
前記搬送テーブルは、複数の電子部品を当該搬送テーブルの周方向に沿って当該搬送テーブル上に整列させた状態で搬送する、請求項1に記載の電子部品包装装置。
【請求項4】
前記複数の凹部にそれぞれ収容された複数の電子部品の各々を撮像する撮像機構をさらに備える、請求項1に記載の電子部品包装装置。
【請求項5】
前記吸引部は、磁力により発生する吸引力、静電気力により発生する吸引力、および、圧力差により発生する吸引力のうちのいずれかを用いて電子部品を吸引するものである、請求項1から4のいずれか1項に記載の電子部品包装装置。
発明の詳細な説明
【技術分野】
【0001】
本発明は、電子部品包装装置に関する。
続きを表示(約 1,400 文字)
【背景技術】
【0002】
従来、キャリアテープに複数の電子部品等のワークを収容するための電子部品包装装置が知られている。たとえば特開2022-41118号公報(特許文献1)に開示された電子部品包装装置においては、ワークが、搬送テーブルの収容部に個別に収容された状態で検査された後に、搬送テーブルからキャリアテープの凹部に個別に繰り出される。
【先行技術文献】
【特許文献】
【0003】
特開2022-41118号公報
【発明の概要】
【発明が解決しようとする課題】
【0004】
ここで、上記特許文献1に開示の電子部品包装装置においては、上述した搬送テーブルからキャリアテープへのワークの繰り出しの際に、ワークは、搬送テーブルの収容部からキャリアテープの凹部へワークを案内するために設けられたガイド壁に接触しながら移動される。そのため、ガイド壁との接触によりワークに破損が生じてしまうおそれがある。
【0005】
したがって、本発明は、上述した問題を解決すべくなされたものであり、包装過程における電子部品の破損のリスクの低減が図られた電子部品包装装置を提供することを目的とする。
【課題を解決するための手段】
【0006】
本発明に基づく電子部品包装装置は、複数の電子部品を搬送する第1搬送機構と、複数の電子部品をそれぞれ収容するための複数の凹部の各々の開口が並んでいる主面を有するキャリアテープを搬送する第2搬送機構と、上記第1搬送機構によって搬送された複数の電子部品を、上記複数の凹部の各々の底面を介して順次吸引して上記複数の凹部の各々の上記開口を通じて上記複数の凹部の各々に収容させる吸引部とを備える。
【発明の効果】
【0007】
本発明によれば、包装過程における電子部品の破損のリスクの低減が図られた電子部品包装装置を提供することができる。
【図面の簡単な説明】
【0008】
コンデンサの外観を示す斜視図である。
図1中のII-II線に沿ったコンデンサの模式断面図である。
実施の形態に係る電子部品包装装置の構成を示す模式平面図である。
図3に示す電子部品包装装置の模式正面図である。
図4中の領域Vを拡大した電子部品包装装置の模式図である。
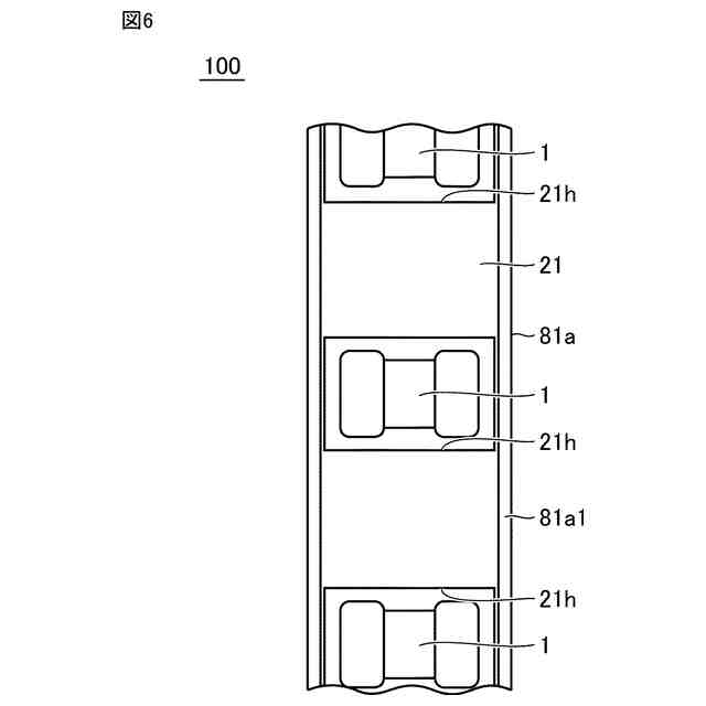
図4中の矢印VI方向から見た電子部品包装装置の模式図である。
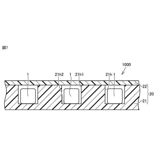
図4中の領域VIIにおけるコンデンサ連の模式断面図である。
【発明を実施するための形態】
【0009】
以下、実施の形態について、図を参照して詳細に説明する。以下に示す実施の形態は、電子部品としてのコンデンサを包装するための電子部品包装装置を例示するものである。なお、以下に示す実施の形態においては、同一のまたは共通する部分について図中同一の符号を付し、その説明は繰り返さない。
【0010】
(実施の形態)
<A.電子部品の構成>
図1は、コンデンサの外観を示す斜視図である。図2は、図1中のII-II線に沿ったコンデンサの模式断面図である。まず、図1および図2を参照して、本発明の実施の形態に係る電子部品包装装置100によって包装される電子部品としてのコンデンサ1の構成について説明する。
(【0011】以降は省略されています)
この特許をJ-PlatPat(特許庁公式サイト)で参照する
関連特許
株式会社村田製作所
移相回路
1日前
株式会社村田製作所
コイル部品
1日前
株式会社村田製作所
高周波回路
2日前
株式会社村田製作所
電子聴診器
1日前
株式会社村田製作所
ネブライザ
1日前
株式会社村田製作所
コイル部品
1日前
株式会社村田製作所
フィルタ装置
2日前
株式会社村田製作所
電池モジュール
1日前
株式会社村田製作所
ファブリペロー干渉計
2日前
株式会社村田製作所
造粒粉及びインダクタ
2日前
株式会社村田製作所
コンデンサモジュール
1日前
株式会社村田製作所
濾過装置および濾過方法
2日前
株式会社村田製作所
積層セラミックコンデンサ
2日前
株式会社村田製作所
積層セラミックコンデンサ
2日前
株式会社村田製作所
二次電池および電池パック
2日前
株式会社村田製作所
プラグの端子構造及びプラグ
2日前
株式会社村田製作所
積層セラミック電子部品の製造方法
2日前
株式会社村田製作所
聴診デバイスおよび聴診システムに関する。
1日前
株式会社村田製作所
端末装置、判定方法、コンピュータプログラム及びシステム
1日前
株式会社村田製作所
押圧位置推定システム、押圧位置推定方法、及び押圧位置推定プログラム
1日前
個人
箱
12か月前
個人
収容箱
2か月前
個人
ゴミ箱
11か月前
個人
コンベア
4か月前
個人
容器
8か月前
個人
段ボール箱
6か月前
個人
段ボール箱
6か月前
個人
ゴミ収集器
6か月前
個人
宅配システム
6か月前
個人
角筒状構造体
5か月前
個人
パウチ補助具
11か月前
個人
土嚢運搬器具
8か月前
個人
バンド
1か月前
個人
楽ちんハンド
4か月前
個人
コード類収納具
7か月前
個人
包装容器
22日前
続きを見る
他の特許を見る