TOP
|
特許
|
意匠
|
商標
特許ウォッチ
Twitter
他の特許を見る
10個以上の画像は省略されています。
公開番号
2025151857
公報種別
公開特許公報(A)
公開日
2025-10-09
出願番号
2024053473
出願日
2024-03-28
発明の名称
積層セラミック電子部品の製造方法
出願人
株式会社村田製作所
代理人
弁理士法人WisePlus
主分類
H01F
41/04 20060101AFI20251002BHJP(基本的電気素子)
要約
【課題】押し切り工法において斜めカットとカット時のクラック発生を抑制する積層セラミック電子部品の製造方法を提供する。
【解決手段】方法は、刃先角が互いに異なる非対称刃のカット刃150を用い、カットされていないマザーブロック100に対して、製品部と外周部の境界部より外周部側に位置する第1カット位置PX1において、カット刃の刃先角が小さい刃面を製品部側に向けて押し切る第1カット工程と、第1カット工程後のマザーブロックに対して、製品部と外周部との境界部である第2カット位置PX2において、カット刃の刃先角が小さい刃面を第1カット位置とは反対側に向けて押し切る第2カット工程と、第2カット工程後のマザーブロックに対して、製品部と外周部との境界部よりも製品部側に位置する第3カット位置PX3において、カット刃の刃先角が小さい刃面を第2カット位置とは反対側に向けて押し切る第3カット工程と、を含む。
【選択図】図13
特許請求の範囲
【請求項1】
複数のセラミックグリーンシートが積層されてなり、互いに直交するX軸方向及びY軸方向のうち、前記X軸方向に平行な2辺及び前記Y軸方向に平行な2辺から構成される主面を有するマザーブロックを準備する、マザーブロック準備工程と、
前記X軸方向に沿って配置されたカット刃を、前記マザーブロックの前記主面に対して垂直なZ軸方向に沿って動作させることによって前記マザーブロックを押し切り、前記マザーブロックから複数個のグリーンブロック体を得る、X軸方向カット工程と、
前記Y軸方向に沿って配置された前記カット刃を、前記Z軸方向に沿って動作させることによって前記複数個のグリーンブロック体を押し切り、前記複数個のグリーンブロック体から複数個のチップを得る、Y軸方向カット工程と、を備え、
前記マザーブロックは、カット前の前記複数個のチップが配列されている製品部と、前記製品部の周囲を取り囲む外周部と、を含み、
前記カット刃は、刃先角が互いに異なる2つの刃面を先端に有する非対称刃であり、
前記X軸方向カット工程は、
前記X軸方向に沿ってカットされていない前記マザーブロックに対して、前記製品部と前記外周部との境界部よりも前記外周部側に位置するX軸方向第1カット位置において、前記カット刃の前記刃先角が小さい方の刃面を前記製品部側に向けて、前記マザーブロックを押し切る、X軸方向第1カット工程と、
前記X軸方向第1カット工程後の前記マザーブロックに対して、前記製品部と前記外周部との境界部であるX軸方向第2カット位置において、前記カット刃の前記刃先角が小さい方の刃面を前記X軸方向第1カット位置とは反対側に向けて、前記マザーブロックを押し切る、X軸方向第2カット工程と、
前記X軸方向第2カット工程後の前記マザーブロックに対して、前記製品部と前記外周部との境界部よりも前記製品部側に位置するX軸方向第3カット位置において、前記カット刃の前記刃先角が小さい方の刃面を前記X軸方向第2カット位置とは反対側に向けて、前記マザーブロックを押し切る、X軸方向第3カット工程と、を含み、
前記Y軸方向カット工程は、
前記Y軸方向に沿ってカットされていない前記複数個のグリーンブロック体に対して、前記製品部と前記外周部との境界部よりも前記外周部側に位置するY軸方向第1カット位置において、前記カット刃の前記刃先角が小さい方の刃面を前記製品部側に向けて、前記複数個のグリーンブロック体を押し切る、Y軸方向第1カット工程と、
前記Y軸方向第1カット工程後の前記複数個のグリーンブロック体に対して、前記製品部と前記外周部との境界部であるY軸方向第2カット位置において、前記カット刃の前記刃先角が小さい方の刃面を前記Y軸方向第1カット位置とは反対側に向けて、前記複数個のグリーンブロック体を押し切る、Y軸方向第2カット工程と、
前記Y軸方向第2カット工程後の前記複数個のグリーンブロック体に対して、前記製品部と前記外周部との境界部よりも前記製品部側に位置するY軸方向第3カット位置において、前記カット刃の前記刃先角が小さい方の刃面を前記Y軸方向第2カット位置とは反対側に向けて、前記複数個のグリーンブロック体を押し切る、Y軸方向第3カット工程と、を含む、
積層セラミック電子部品の製造方法。
続きを表示(約 1,100 文字)
【請求項2】
前記X軸方向第1カット位置と前記X軸方向第2カット位置との間の距離は、前記X軸方向第2カット位置と前記X軸方向第3カット位置との間の距離の0倍より大きく、3.00倍以下である、請求項1に記載の積層セラミック電子部品の製造方法。
【請求項3】
前記X軸方向第1カット位置と前記X軸方向第2カット位置との間の距離は、前記X軸方向第2カット位置と前記X軸方向第3カット位置との間の距離の0倍より大きく、2.00倍以下である、請求項1に記載の積層セラミック電子部品の製造方法。
【請求項4】
前記X軸方向第1カット位置と前記X軸方向第2カット位置との間の距離は、前記X軸方向第2カット位置と前記X軸方向第3カット位置との間の距離の0倍より大きく、1.75倍以下である、請求項1に記載の積層セラミック電子部品の製造方法。
【請求項5】
前記Y軸方向第1カット位置と前記Y軸方向第2カット位置との間の距離は、前記Y軸方向第2カット位置と前記Y軸方向第3カット位置との間の距離の0倍より大きく、3.00倍以下である、請求項1~4のいずれか1項に記載の積層セラミック電子部品の製造方法。
【請求項6】
前記Y軸方向第1カット位置と前記Y軸方向第2カット位置との間の距離は、前記Y軸方向第2カット位置と前記Y軸方向第3カット位置との間の距離の0倍より大きく、2.00倍以下である、請求項1~4のいずれか1項に記載の積層セラミック電子部品の製造方法。
【請求項7】
前記Y軸方向第1カット位置と前記Y軸方向第2カット位置との間の距離は、前記Y軸方向第2カット位置と前記Y軸方向第3カット位置との間の距離の0倍より大きく、1.75倍以下である、請求項1~4のいずれか1項に記載の積層セラミック電子部品の製造方法。
【請求項8】
前記チップは、長さ方向の寸法が幅方向の寸法及び厚さ方向の寸法よりも大きい直方体形状を有し、
前記チップの前記長さ方向が、前記カット刃を動作させる前記Z軸方向に平行である、請求項1~4のいずれか1項に記載の積層セラミック電子部品の製造方法。
【請求項9】
前記X軸方向カット工程と前記Y軸方向カット工程とは、この順に行われる、請求項1~4のいずれか1項に記載の積層セラミック電子部品の製造方法。
【請求項10】
前記X軸方向第1カット工程の直後に、前記Y軸方向第1カット工程が行われる、請求項1~4のいずれか1項に記載の積層セラミック電子部品の製造方法。
発明の詳細な説明
【技術分野】
【0001】
本発明は、積層セラミック電子部品の製造方法に関する。
続きを表示(約 3,500 文字)
【背景技術】
【0002】
積層セラミック電子部品を製造する場合、焼成前の板状のセラミックブロック(以下、マザーブロックともいう)から複数個のチップを得るため、セラミックブロックをカットする工程が行われる。セラミックブロックをカットする方法としては、例えば、ダイシングソーを用いるダイシング工法、カット刃をセラミックブロックの主面に対して垂直方向に動作させる押し切り工法等が知られている。
【0003】
しかしながら、後者の押し切り工法では、セラミックブロックをカットする際、カット面が斜めになる「斜めカット」と呼ばれる問題が発生することがある。このような斜めカットは、セラミックブロックをカットして得られるチップの形状不良を発生させる原因となる。また、セラミックブロックにカット刃を進入させる押し切り工法では、カット時に、クラック等の構造欠陥がチップの内部に生じるおそれがある。
【0004】
特許文献1には、焼成前の板状のセラミックブロックから複数個のチップを得るため、当該セラミックブロックの主面に対して垂直方向にカット刃を動作させることによって上記セラミックブロックをカットする工程を少なくとも備える、セラミック電子部品の製造方法であって、上記カット刃を動作させる方向に対して上記カット刃を所定の角度だけ傾けた状態で上記カットする工程が実施されることを特徴とする、セラミック電子部品の製造方法が開示されている。
【先行技術文献】
【特許文献】
【0005】
特開平4-255207号公報
【発明の概要】
【発明が解決しようとする課題】
【0006】
特許文献1によれば、カット刃に与えられる傾きは、カット刃が傾けられない場合に生じる斜めカットを是正する作用を有するため、低コスト性を維持しながら、斜めカットを抑制したカットを行うことが可能になる、とされている。
【0007】
本発明は、上記の問題を解決するためになされたものであり、特許文献1とは異なる観点から、押し切り工法において斜めカットを抑制することが可能で、かつ、カット時におけるクラックの発生を抑制することが可能な積層セラミック電子部品の製造方法を提供することを目的とする。
【課題を解決するための手段】
【0008】
本発明の積層セラミック電子部品の製造方法は、複数のセラミックグリーンシートが積層されてなり、互いに直交するX軸方向及びY軸方向のうち、上記X軸方向に平行な2辺及び上記Y軸方向に平行な2辺から構成される主面を有するマザーブロックを準備する、マザーブロック準備工程と、上記X軸方向に沿って配置されたカット刃を、上記マザーブロックの上記主面に対して垂直なZ軸方向に沿って動作させることによって上記マザーブロックを押し切り、上記マザーブロックから複数個のグリーンブロック体を得る、X軸方向カット工程と、上記Y軸方向に沿って配置された上記カット刃を、上記Z軸方向に沿って動作させることによって上記複数個のグリーンブロック体を押し切り、上記複数個のグリーンブロック体から複数個のチップを得る、Y軸方向カット工程と、を備える。上記マザーブロックは、カット前の上記複数個のチップが配列されている製品部と、上記製品部の周囲を取り囲む外周部と、を含む。上記カット刃は、刃先角が互いに異なる2つの刃面を先端に有する非対称刃である。上記X軸方向カット工程は、上記X軸方向に沿ってカットされていない上記マザーブロックに対して、上記製品部と上記外周部との境界部よりも上記外周部側に位置するX軸方向第1カット位置において、上記カット刃の上記刃先角が小さい方の刃面を上記製品部側に向けて、上記マザーブロックを押し切る、X軸方向第1カット工程と、上記X軸方向第1カット工程後の上記マザーブロックに対して、上記製品部と上記外周部との境界部であるX軸方向第2カット位置において、上記カット刃の上記刃先角が小さい方の刃面を上記X軸方向第1カット位置とは反対側に向けて、上記マザーブロックを押し切る、X軸方向第2カット工程と、上記X軸方向第2カット工程後の上記マザーブロックに対して、上記製品部と上記外周部との境界部よりも上記製品部側に位置するX軸方向第3カット位置において、上記カット刃の上記刃先角が小さい方の刃面を上記X軸方向第2カット位置とは反対側に向けて、上記マザーブロックを押し切る、X軸方向第3カット工程と、を含む。上記Y軸方向カット工程は、上記Y軸方向に沿ってカットされていない上記複数個のグリーンブロック体に対して、上記製品部と上記外周部との境界部よりも上記外周部側に位置するY軸方向第1カット位置において、上記カット刃の上記刃先角が小さい方の刃面を上記製品部側に向けて、上記複数個のグリーンブロック体を押し切る、Y軸方向第1カット工程と、上記Y軸方向第1カット工程後の上記複数個のグリーンブロック体に対して、上記製品部と上記外周部との境界部であるY軸方向第2カット位置において、上記カット刃の上記刃先角が小さい方の刃面を上記Y軸方向第1カット位置とは反対側に向けて、上記複数個のグリーンブロック体を押し切る、Y軸方向第2カット工程と、上記Y軸方向第2カット工程後の上記複数個のグリーンブロック体に対して、上記製品部と上記外周部との境界部よりも上記製品部側に位置するY軸方向第3カット位置において、上記カット刃の上記刃先角が小さい方の刃面を上記Y軸方向第2カット位置とは反対側に向けて、上記複数個のグリーンブロック体を押し切る、Y軸方向第3カット工程と、を含む。
【発明の効果】
【0009】
本発明によれば、押し切り工法において斜めカットを抑制することが可能で、かつ、カット時におけるクラックの発生を抑制することが可能な積層セラミック電子部品の製造方法を提供することができる。
【図面の簡単な説明】
【0010】
図1は、本発明の一実施形態に係る積層セラミック電子部品の製造方法により作製される積層インダクタの一例を模式的に示す斜視図である。
図2は、図1に示す積層インダクタを構成する積層体の一例を模式的に示す分解斜視図である。
図3は、マザーブロックの一例を模式的に示す分解斜視図である。
図4は、マザーブロックをX軸方向に沿ってカットすることにより得られるグリーンブロック体の一例を模式的に示す斜視図である。
図5は、グリーンブロック体をY軸方向に沿ってカットすることにより得られるチップの一例を模式的に示す斜視図である。
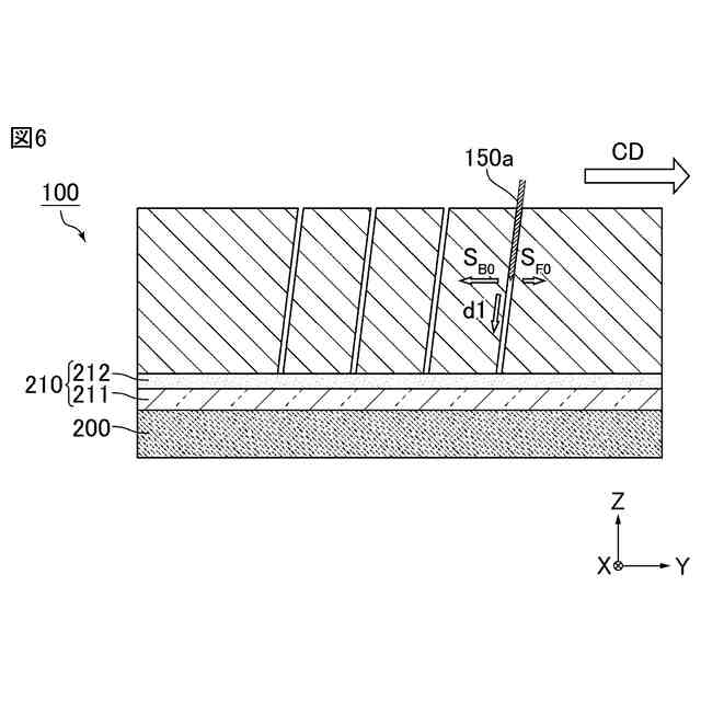
図6は、斜めカットが発生するメカニズムの一例を説明するための模式図である。
図7は、図6で使用されるカット刃の一例を模式的に示す拡大図である。
図8は、斜めカットを抑制するメカニズムの一例を説明するための模式図である。
図9は、図8で使用されるカット刃の一例を模式的に示す拡大図である。
図10は、図6とは逆方向に斜めカットが発生するメカニズムの一例を説明するための模式図である。
図11は、X軸方向第1カット工程の一例を説明するための模式図である。
図12は、X軸方向第2カット工程の一例を説明するための模式図である。
図13は、X軸方向第3カット工程の一例を説明するための模式図である。
図14は、X軸方向カット工程により得られるグリーンブロック体の一例を示す模式図である。
図15は、Y軸方向第1カット工程の一例を説明するための模式図である。
図16は、Y軸方向第2カット工程の一例を説明するための模式図である。
図17は、Y軸方向第3カット工程の一例を説明するための模式図である。
図18は、Y軸方向カット工程により得られるチップの一例を示す模式図である。
図19は、X軸方向第2カット工程においてクラックが発生するメカニズムの一例を説明するための模式図である。
図20は、DX1/DX2及びDY1/DY2とクラック発生率との関係を示すグラフである。
図21は、DX1/DX2及びDY1/DY2と斜めカット量との関係を示すグラフである。
図22は、斜めカット量を測定する方法の一例を説明するための模式図である。
【発明を実施するための形態】
(【0011】以降は省略されています)
この特許をJ-PlatPat(特許庁公式サイト)で参照する
関連特許
株式会社村田製作所
電池
16日前
株式会社村田製作所
釣り具
15日前
株式会社村田製作所
移相回路
1日前
株式会社村田製作所
測定装置
3日前
株式会社村田製作所
電子部品
8日前
株式会社村田製作所
ネブライザ
1日前
株式会社村田製作所
高周波回路
2日前
株式会社村田製作所
コイル部品
1日前
株式会社村田製作所
コイル部品
1日前
株式会社村田製作所
コイル部品
22日前
株式会社村田製作所
電池パック
3日前
株式会社村田製作所
噴霧ノズル
10日前
株式会社村田製作所
電子聴診器
1日前
株式会社村田製作所
フィルタ回路
12日前
株式会社村田製作所
フィルタ装置
2日前
株式会社村田製作所
流体制御装置
23日前
株式会社村田製作所
弾性波フィルタ
22日前
株式会社村田製作所
圧力センサ装置
3日前
株式会社村田製作所
インダクタ部品
22日前
株式会社村田製作所
積層インダクタ
12日前
株式会社村田製作所
複合型電子部品
8日前
株式会社村田製作所
電池モジュール
1日前
株式会社村田製作所
電子部品包装装置
3日前
株式会社村田製作所
呼吸検出システム
12日前
株式会社村田製作所
多層基板及び電子機器
12日前
株式会社村田製作所
多層基板及び電子機器
12日前
株式会社村田製作所
コンデンサモジュール
1日前
株式会社村田製作所
造粒粉及びインダクタ
2日前
株式会社村田製作所
ファブリペロー干渉計
2日前
株式会社村田製作所
積層セラミック電子部品
9日前
株式会社村田製作所
積層セラミック電子部品
24日前
株式会社村田製作所
積層セラミック電子部品
24日前
株式会社村田製作所
積層セラミック電子部品
9日前
株式会社村田製作所
光学的パターン表示物品
8日前
株式会社村田製作所
積層セラミック電子部品
8日前
株式会社村田製作所
積層セラミック電子部品
24日前
続きを見る
他の特許を見る