TOP
|
特許
|
意匠
|
商標
特許ウォッチ
Twitter
他の特許を見る
10個以上の画像は省略されています。
公開番号
2025154243
公報種別
公開特許公報(A)
公開日
2025-10-10
出願番号
2024057137
出願日
2024-03-29
発明の名称
聴診デバイスおよび聴診システムに関する。
出願人
株式会社村田製作所
代理人
個人
,
個人
主分類
A61B
7/04 20060101AFI20251002BHJP(医学または獣医学;衛生学)
要約
【課題】生体音を発生する音源が存在する方向を特定可能な聴診デバイスにおいて、小型化および簡単な構造を実現する。
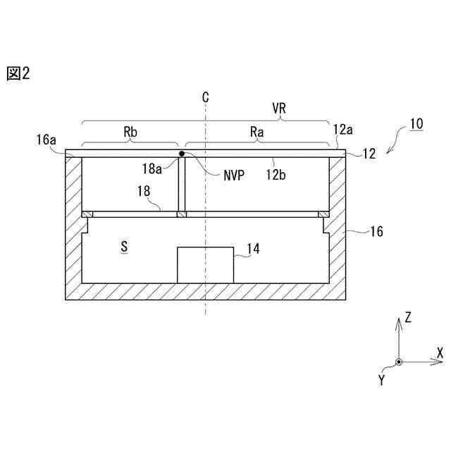
【解決手段】聴診デバイス10は、生体に接触するダイヤフラム12と、ダイヤフラム12から伝播した振動を受振して電気信号に変換する音センサ14と、ダイヤフラム12上の振動抑制点の振動を抑制する振動抑制部材18とを有する。ダイヤフラム12が、第1の固有振動数を備える第1の振動領域Raと、第1の固有振動数と異なる第2の固有振動数を備える第2の振動領域Rbとを含み、ダイヤフラム12と生体の接触方向である第1の方向視で、第1および第2の振動領域Ra、Rbが第1の方向と交差する第2の方向に並んでいる。振動抑制点が、第1の方向視で第1の振動領域Raと第2の振動領域Rbの間に位置しつつ、第1の方向視でダイヤフラム12の第2の方向の中心点から第2の方向にずれている。
【選択図】図2
特許請求の範囲
【請求項1】
生体に接触する第1の表面と前記第1の表面に対して反対側の第2の表面とを備えるダイヤフラムと、
前記ダイヤフラムから伝播した振動を受振して電気信号に変換する音センサと、
前記ダイヤフラムを支持し、前記音センサを収容するハウジングと、
前記ダイヤフラム上の振動抑制点の振動を抑制する振動抑制部材と、を有し、
前記ダイヤフラムが、第1の固有振動数を備える第1の振動領域と、前記第1の固有振動数と異なる第2の固有振動数を備える第2の振動領域とを含み、
前記ダイヤフラムと生体の接触方向である第1の方向視で、前記第1および第2の振動領域が、前記第1の方向と交差する第2の方向に並び、
前記振動抑制点が、前記第1の方向視で前記第1の振動領域と前記第2の振動領域の間に位置しつつ、前記第1の方向視で前記ダイヤフラムの前記第2の方向の中心点から前記第2の方向にずれている、聴診デバイス。
続きを表示(約 1,500 文字)
【請求項2】
前記振動抑制部材が、前記第1の方向視で前記ダイヤフラムの前記振動抑制点に一致した状態で、前記ダイヤフラムの前記第2の表面に接触する先端を備える部材である、請求項1に記載の聴診デバイス。
【請求項3】
前記振動抑制部材が、前記第1の方向視で前記ダイヤフラムの前記振動抑制点に一致した状態で、前記ダイヤフラムの前記第2の表面に設けられた錘である、請求項1に記載の聴診デバイス。
【請求項4】
前記振動抑制部材が、前記第1の方向視で前記ダイヤフラムの前記振動抑制点に一致した状態で、前記ダイヤフラムの前記第1の表面に設けられた突起である、請求項1に記載の聴診デバイス。
【請求項5】
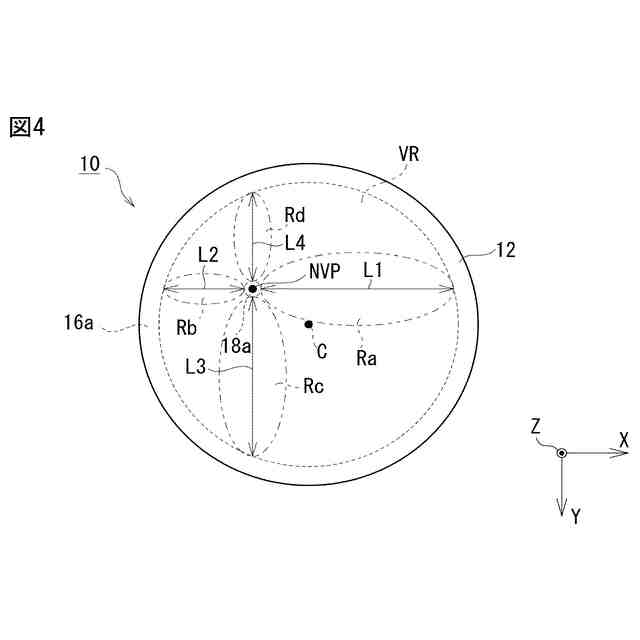
前記ダイヤフラムが、前記第1および第2の固有振動数と異なる第3の固有振動数を備える第3の振動領域と、前記第1、第2、および第3の固有振動数と異なる第4の固有振動数を備える第4の振動領域とを含み、
前記第1の方向視で、前記第1、第2、第3、および第4の振動領域が、前記ダイヤフラムの周方向に並んでいる、請求項1に記載の聴診デバイス。
【請求項6】
前記ダイヤフラムの前記第1の表面に接触する生体が発生する生体音が所定の周波数であって、
前記第1および第2の固有振動数が、前記所定の周波数と異なる、請求項1に記載の聴診デバイス。
【請求項7】
請求項1に記載の聴診デバイスと、
プロセッサと、
通知デバイスと、を含み、
前記プロセッサが、前記聴診デバイスの前記音センサからの電気信号を処理して前記第1および第2の固有振動数それぞれのピーク値を検出し、前記第1および第2の固有振動数の前記ピーク値の大小関係に基づいて、生体内の音源が、前記第1および第2の振動領域の並列方向の一方側または他方側に存在するかを特定し、
前記通知デバイスが、前記プロセッサによって特定された前記音源が存在する方向を通知する、聴診システム。
【請求項8】
生体に接触する第1の表面と前記第1の表面に対して反対側の第2の表面とを備えるダイヤフラムと、
前記ダイヤフラムから伝播した振動を受振して電気信号に変換する音センサと、
前記ダイヤフラムを支持し、前記音センサを収容するハウジングと、を有し、
前記ダイヤフラムが、第1の固有振動数を備える第1の振動領域と、前記第1の固有振動数と異なる第2の固有振動数を備える第2の振動領域とを含み、
前記ダイヤフラムと生体の接触方向である第1の方向視で、前記第1および第2の振動領域が、前記第1の方向と交差する第2の方向に並び、
前記第1および第2の振動領域は、前記第1および第2の固有振動数が互いに異なるように、ヤング率、密度、および厚さの少なくとも1つについて異なる、聴診デバイス。
【請求項9】
前記ダイヤフラムが、前記第1および第2の固有振動数と異なる第3の固有振動数を備える第3の振動領域と、前記第1、第2、および第3の固有振動数と異なる第4の固有振動数を備える第4の振動領域とを含み、
前記第1の方向視で、前記第1、第2、第3、および第4の振動領域が、前記ダイヤフラムの周方向に並んでいる、請求項8に記載の聴診デバイス。
【請求項10】
前記ダイヤフラムの前記第1の表面に接触する生体が発生する生体音が所定の周波数であって、
前記第1および第2の固有振動数が、前記所定の周波数と異なる、請求項8に記載の聴診デバイス。
(【請求項11】以降は省略されています)
発明の詳細な説明
【技術分野】
【0001】
本開示は、聴診デバイスおよび聴診システムに関する。
続きを表示(約 2,200 文字)
【背景技術】
【0002】
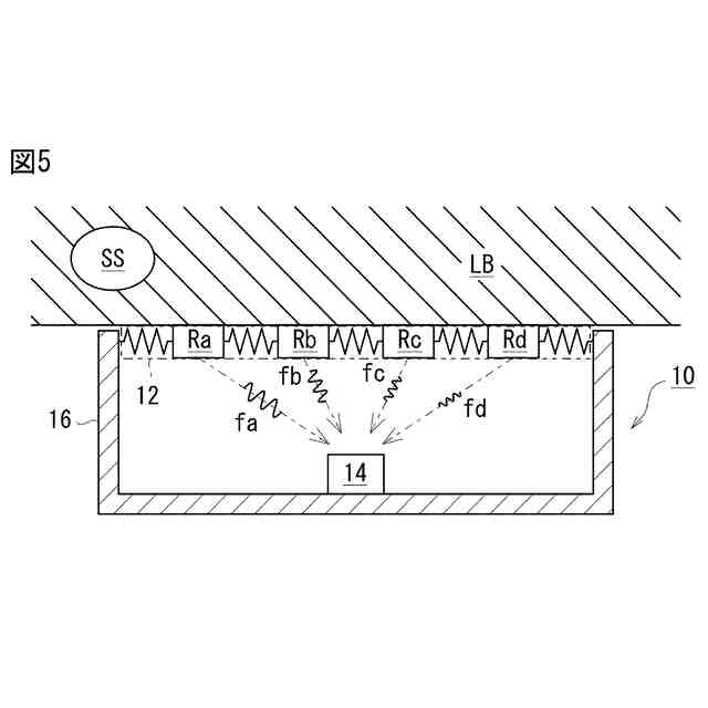
例えは特許文献1には、生体音をとらえる複数のセンサが搭載された電子聴診器(聴診デバイス)が開示されている。複数(4つ)のセンサは、電子聴診器が生体と接触する接触方向視で、平行四辺形状に配列されている。複数のセンサそれぞれがとらえた生体音(振動)の大きさに基づいて、生体音を発生する音源(例えば心音を発生する心臓)が存在する方向を特定する。音源が存在する方向を特定することにより、電子聴診器を音源近くの生体部分に接触させることができ、音源から発生する生体音をよりクリアにとらえることができる。
【先行技術文献】
【特許文献】
【0003】
特開2023-16317号公報
【発明の概要】
【発明が解決しようとする課題】
【0004】
しかしながら、特許文献1に記載された電子聴診器は、生体と接触して生体音をとらえるセンサが複数個搭載されているために、大型化且つ複雑化されている。
【0005】
そこで、本開示は、生体音を発生する音源が存在する方向を特定可能な聴診デバイスにおいて、小型化および簡単な構造を実現することを課題とする。
【課題を解決するための手段】
【0006】
上記技術的課題を解決するために、本開示の一態様によれば、
生体に接触する第1の表面と前記第1の表面に対して反対側の第2の表面とを備えるダイヤフラムと、
前記ダイヤフラムから伝播した振動を受振して電気信号に変換する音センサと、
前記ダイヤフラムを支持し、前記音センサを収容するハウジングと、
前記ダイヤフラム上の振動抑制点の振動を抑制する振動抑制部材と、を有し、
前記ダイヤフラムが、第1の固有振動数を備える第1の振動領域と、前記第1の固有振動数と異なる第2の固有振動数を備える第2の振動領域とを含み、
前記ダイヤフラムと生体の接触方向である第1の方向視で、前記第1および第2の振動領域が、前記第1の方向と交差する第2の方向に並び、
前記振動抑制点が、前記第1の方向視で前記第1の振動領域と前記第2の振動領域の間に位置しつつ、前記第1の方向視で前記ダイヤフラムの前記第2の方向の中心点から前記第2の方向にずれている、聴診デバイスが提供される。
【0007】
また、本開示の別態様によれば、
生体に接触する第1の表面と前記第1の表面に対して反対側の第2の表面とを備えるダイヤフラムと、
前記ダイヤフラムから伝播した振動を受振して電気信号に変換する音センサと、
前記ダイヤフラムを支持し、前記音センサを収容するハウジングと、を有し、
前記ダイヤフラムが、第1の固有振動数を備える第1の振動領域と、前記第1の固有振動数と異なる第2の固有振動数を備える第2の振動領域とを含み、
前記ダイヤフラムと生体の接触方向である第1の方向視で、前記第1および第2の振動領域が、前記第1の方向と交差する第2の方向に並び、
前記第1および第2の振動領域は、前記第1および第2の固有振動数が互いに異なるように、ヤング率、密度、および厚さの少なくとも1つについて異なる、聴診デバイスが提供される。
【0008】
また、本開示の別態様によれば、
上述の聴診デバイスと、
プロセッサと、
通知デバイスと、を含み、
前記プロセッサが、前記聴診デバイスの前記音センサからの電気信号を処理して前記第1および前記第2の固有振動数それぞれのピーク値を検出し、前記第1および前記第2の固有振動数の前記ピーク値の大小関係に基づいて、生体内の音源が、前記第1および第2の振動領域の並列方向の一方側または他方側に存在するかを特定し、
前記通知デバイスが、前記プロセッサによって特定された前記音源が存在する方向を通知する、聴診システムが提供される。
【発明の効果】
【0009】
本開示によれば、生体音を発生する音源が存在する方向を特定可能な聴診デバイスにおいて、小型化および簡単な構造を実現することができる。
【図面の簡単な説明】
【0010】
実施の形態1に係る聴診デバイスの概略的な斜視図
図1のA-A線に沿った聴診デバイスの断面図
聴診デバイスの分解斜視図
ダイヤフラムの複数の振動領域を示す聴診デバイスの上面図
ダイヤフラムの振動系を示す概念図
聴診デバイスのダイヤフラムの振動の周波数スペクトルの一例を示す図
聴診デバイスを含む一例の聴診システムのブロック図
音源が存在する方向を示す複数のインジケータを備える聴診デバイスの底面図
実施の形態2に係る聴診デバイスの断面図
実施の形態3に係る聴診デバイスの断面図
実施の形態4に係る聴診デバイスの上面図
実施の形態5に係る聴診デバイスの上面図
ベクトルを用いて音源が存在する方向を特定する方法を説明するための図
実施の形態6に係る聴診デバイスの上面図
別の実施の形態に係る聴診デバイスの上面図
【発明を実施するための形態】
(【0011】以降は省略されています)
この特許をJ-PlatPat(特許庁公式サイト)で参照する
関連特許
株式会社村田製作所
電子部品
8日前
株式会社村田製作所
測定装置
3日前
株式会社村田製作所
移相回路
1日前
株式会社村田製作所
電子聴診器
1日前
株式会社村田製作所
噴霧ノズル
10日前
株式会社村田製作所
高周波回路
2日前
株式会社村田製作所
コイル部品
1日前
株式会社村田製作所
コイル部品
1日前
株式会社村田製作所
電池パック
3日前
株式会社村田製作所
ネブライザ
1日前
株式会社村田製作所
フィルタ回路
12日前
株式会社村田製作所
フィルタ装置
2日前
株式会社村田製作所
圧力センサ装置
3日前
株式会社村田製作所
複合型電子部品
8日前
株式会社村田製作所
積層インダクタ
12日前
株式会社村田製作所
電池モジュール
1日前
株式会社村田製作所
呼吸検出システム
12日前
株式会社村田製作所
電子部品包装装置
3日前
株式会社村田製作所
ファブリペロー干渉計
2日前
株式会社村田製作所
コンデンサモジュール
1日前
株式会社村田製作所
造粒粉及びインダクタ
2日前
株式会社村田製作所
積層セラミック電子部品
8日前
株式会社村田製作所
積層セラミック電子部品
9日前
株式会社村田製作所
積層セラミック電子部品
2日前
株式会社村田製作所
積層セラミック電子部品
9日前
株式会社村田製作所
積層セラミック電子部品
2日前
株式会社村田製作所
積層セラミック電子部品
2日前
株式会社村田製作所
光学的パターン表示物品
8日前
株式会社村田製作所
濾過装置および濾過方法
2日前
株式会社村田製作所
積層セラミックコンデンサ
9日前
株式会社村田製作所
タブおよび電池モジュール
8日前
株式会社村田製作所
積層セラミックコンデンサ
10日前
株式会社村田製作所
タブおよび電池モジュール
8日前
株式会社村田製作所
積層セラミックコンデンサ
12日前
株式会社村田製作所
積層インダクタの製造方法
8日前
株式会社村田製作所
電池および電池の製造方法
8日前
続きを見る
他の特許を見る