TOP
|
特許
|
意匠
|
商標
特許ウォッチ
Twitter
他の特許を見る
10個以上の画像は省略されています。
公開番号
2025153832
公報種別
公開特許公報(A)
公開日
2025-10-10
出願番号
2024056487
出願日
2024-03-29
発明の名称
コンデンサモジュール
出願人
株式会社村田製作所
,
株式会社指月電機製作所
代理人
弁理士法人WisePlus
主分類
H01G
4/32 20060101AFI20251002BHJP(基本的電気素子)
要約
【課題】基板、装置等の接続対象物に対する一対のバスバーの位置精度を高めつつ、一対のバスバー間の距離を小さくすることが可能なコンデンサモジュールを提供する。
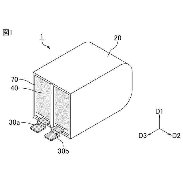
【解決手段】第1外部電極12a及び第2外部電極12bを有するコンデンサ素子10と、コンデンサ素子10が内部に収納された外装ケース20と、第1外部電極12aに電気的に接続され、外装ケース20の外部に引き出された第1バスバー30aと、第2外部電極12bに電気的に接続され、外装ケース20の外部に引き出された第2バスバー30bと、第1バスバー30a及び第2バスバー30bの各々の一部を覆う絶縁体40と、を備え、絶縁体40が、第1バスバー30a及び第2バスバー30bと一体的に成形されている、コンデンサモジュール1。
【選択図】図2
特許請求の範囲
【請求項1】
第1外部電極及び第2外部電極を有するコンデンサ素子と、
前記コンデンサ素子が内部に収納された外装ケースと、
前記第1外部電極に電気的に接続され、前記外装ケースの外部に引き出された第1バスバーと、
前記第2外部電極に電気的に接続され、前記外装ケースの外部に引き出された第2バスバーと、
前記第1バスバー及び前記第2バスバーの各々の一部を覆う絶縁体と、を備え、
前記絶縁体が、前記第1バスバー及び前記第2バスバーと一体的に成形されている、ことを特徴とするコンデンサモジュール。
続きを表示(約 690 文字)
【請求項2】
前記外装ケース及び前記絶縁体が、嵌合されている、請求項1に記載のコンデンサモジュール。
【請求項3】
前記外装ケースの内面と前記絶縁体の外面とのうち、一方には凹部が設けられ、他方には凸部が設けられ、
前記凹部及び前記凸部が、嵌合されている、請求項2に記載のコンデンサモジュール。
【請求項4】
前記絶縁体が、面状に延びる面状部を有し、
前記絶縁体の前記面状部が、互いに相対する第1主面及び第2主面を有し、
前記絶縁体の前記面状部の前記第1主面が、前記外装ケースの内面に接している、請求項1~3のいずれか1つに記載のコンデンサモジュール。
【請求項5】
前記絶縁体が、前記面状部の前記第2主面から柱状に延びる柱状部を更に有し、
前記絶縁体の前記柱状部が、前記面状部と反対側に位置する端面を有し、
前記絶縁体の前記柱状部の前記端面が、前記外装ケースの内面に接している、請求項4に記載のコンデンサモジュール。
【請求項6】
前記第1バスバーと前記第2バスバーとの間の最短距離が、5mm以下である、請求項1~3のいずれか1つに記載のコンデンサモジュール。
【請求項7】
前記コンデンサ素子を埋設するように前記外装ケースの内部に充填された充填樹脂を更に備えている、請求項1~3のいずれか1つに記載のコンデンサモジュール。
【請求項8】
前記コンデンサ素子が、フィルムコンデンサである、請求項1~3のいずれか1つに記載のコンデンサモジュール。
発明の詳細な説明
【技術分野】
【0001】
本発明は、コンデンサモジュールに関する。
続きを表示(約 2,500 文字)
【背景技術】
【0002】
特許文献1には、軸方向両端に異極一対の電極を有するコンデンサ素子と、上記コンデンサ素子の上記各電極に接続される基端部を延出して上記コンデンサ素子の側面に沿って配設される側面板部、上記側面板部から立ち上げ状態で延出される対向板部、および上記対向板部から延出される外部接続端子部をそれぞれ有する板状の第1および第2のバスバーと、上記両バスバーにおける一対の対向板部どうしが互いに近接して対向する状態で、両対向板部どうし間に介在される絶縁体と、上記コンデンサ素子の全体と上記一対のバスバーにおける基端部および側面板部を覆うモールド樹脂とを有するコンデンサのバスバー構造であって、上記絶縁体は、上記一対のバスバーのうち一方のバスバーに対してのみ一体化されていて、その一体化は、上記一方のバスバーにおける対向板部をインサート部品として上記絶縁体のもとになる樹脂材料を充填するインサート成形で構成され、上記インサート成形の樹脂材料が、上記一方の対向板部の他方のバスバーの対向板部に面していない表面側から裏面側に回り込む状態で、上記一方の対向板部を全体的に包み込むように囲繞し、上記一方の対向板部から延出される上記外部接続端子部は上記絶縁体の端部から上方に突出し、上記一対のバスバーのうち他方のバスバーにおける対向板部は一方のバスバーに面する対向面が上記絶縁体の上記裏面側に当接していることを特徴とするコンデンサのバスバー構造が開示されている。
【0003】
特許文献2には、底部および開口を有するコンデンサケースと、上記コンデンサケースに収容され、第一電極E1および第二電極E2を備えるコンデンサ素子と、上記第一電極E1に接続される第一端子T1と、上記第二電極E2に接続され、上記第一端子T1に対向する対向部を有する第二端子T2と、上記第一端子T1と上記第二端子T2との間に介在し、少なくとも上記対向部を第一端子T1から絶縁する絶縁板を具備する絶縁部材と、を備え、上記第一端子T1および上記第二端子T2は、それぞれ上記コンデンサケースの外部に延出する延出部TEを有し、上記コンデンサケースは、上記絶縁板を固定する固定部Aを有し、上記絶縁部材は、上記固定部Aと嵌合する固定部B1、および、上記第一端子T1および上記第二端子T2の少なくとも一方を固定する固定部B2を有する、コンデンサが開示されている。
【先行技術文献】
【特許文献】
【0004】
特開2021-153120号公報
特開2016-152243号公報
【発明の概要】
【発明が解決しようとする課題】
【0005】
コンデンサ素子が外装ケースの内部に収納された形態のコンデンサモジュールでは、一般的に、コンデンサ素子の外部電極に電気的に接続されたバスバーが、外装ケースの外部に引き出されて、基板、装置等の接続対象物に接続される。このように、バスバーを接続対象物に接続するにあたっては、特に、バスバーを接続対象物にレーザー溶接する場合を想定すると、接続対象物へのバスバーの接続を容易にし、バスバーと接続対象物との間の接続を確保するために、接続対象物に対するバスバーの位置精度を高くすることが求められる。
【0006】
しかしながら、バスバーを接続対象物に接続するにあたっては、バスバーを作製する(例えば、板金加工する)際にバスバーの大きさ(例えば、寸法)がばらついたり、バスバーをコンデンサ素子の外部電極に接続する(例えば、溶接する)際にバスバーが歪んだりする、といった理由により、接続対象物に対するバスバーの位置精度を高くすることが難しい。
【0007】
一方、コンデンサモジュールでは、一般的に、互いに異なる極性を有する外部電極に個別に電気的に接続された一対のバスバーが用いられる。このように、互いに異なる極性を有する一対のバスバーを用いるにあたっては、コンデンサモジュールの特性を向上させるために、一対のバスバー間の距離を小さくすることにより、一対のバスバーによる等価直列インダクタンス(ESL)を低くすることが求められる。
【0008】
しかしながら、一対のバスバー間の距離を小さくしすぎると、一対のバスバー同士が短絡するおそれがある。一対のバスバー同士の短絡を防止するためには、絶縁紙、絶縁板等を一対のバスバー間に挿入することが考えられるが、距離が小さい一対のバスバー間に絶縁紙、絶縁板等を挿入する作業は、絶縁紙、絶縁板等の薄さに起因するたわみ、しわ等も原因となって、手動及び自動を問わず難しい。更に、一対のバスバー間に絶縁紙、絶縁板等を挿入する作業では、例えば、以下のような弊害を引き起こすおそれがある。一対のバスバー間に絶縁紙、絶縁板等を挿入する作業を手動で行う場合、作業時間の増加によってコンデンサモジュールの製造効率が低下したり、作業し忘れることによってコンデンサモジュールの品質が低下したりするおそれがある。また、一対のバスバー間に絶縁紙、絶縁板等を挿入する作業を自動で行う場合、一対のバスバー間に必要以上の余計な空間(マージン)を確保することによってコンデンサモジュールの品質が低下するおそれがある。このような理由により、一対のバスバー間の距離を小さくすることが難しい。
【0009】
以上のことから、従来のコンデンサモジュールでは、基板、装置等の接続対象物に対する一対のバスバーの位置精度を高めつつ、一対のバスバー間の距離を小さくする点で改善の余地がある。
【0010】
例えば、特許文献1に記載のコンデンサのバスバー構造では、絶縁体が、一対のバスバーのうち一方のバスバーにおける対向板部に対してのみインサート成形で一体化されていることにより、対向板部と絶縁体との相対位置関係、位置精度、寸法精度が所期通りの正確なものとなる、とされている。
(【0011】以降は省略されています)
この特許をJ-PlatPat(特許庁公式サイト)で参照する
関連特許
株式会社村田製作所
測定装置
3日前
株式会社村田製作所
移相回路
1日前
株式会社村田製作所
電子部品
8日前
株式会社村田製作所
コイル部品
1日前
株式会社村田製作所
高周波回路
2日前
株式会社村田製作所
電子聴診器
1日前
株式会社村田製作所
コイル部品
1日前
株式会社村田製作所
電池パック
3日前
株式会社村田製作所
ネブライザ
1日前
株式会社村田製作所
フィルタ装置
2日前
株式会社村田製作所
圧力センサ装置
3日前
株式会社村田製作所
電池モジュール
1日前
株式会社村田製作所
電子部品包装装置
3日前
株式会社村田製作所
コンデンサモジュール
1日前
株式会社村田製作所
造粒粉及びインダクタ
2日前
株式会社村田製作所
ファブリペロー干渉計
2日前
株式会社村田製作所
積層セラミック電子部品
2日前
株式会社村田製作所
積層セラミック電子部品
8日前
株式会社村田製作所
積層セラミック電子部品
2日前
株式会社村田製作所
光学的パターン表示物品
8日前
株式会社村田製作所
積層セラミック電子部品
2日前
株式会社村田製作所
濾過装置および濾過方法
2日前
株式会社村田製作所
二次電池および電池パック
2日前
株式会社村田製作所
積層セラミックコンデンサ
2日前
株式会社村田製作所
積層セラミックコンデンサ
2日前
株式会社村田製作所
積層インダクタの製造方法
8日前
株式会社村田製作所
高周波回路および通信装置
3日前
株式会社村田製作所
タブおよび電池モジュール
8日前
株式会社村田製作所
タブおよび電池モジュール
8日前
株式会社村田製作所
電池および電池の製造方法
8日前
株式会社村田製作所
積層セラミックコンデンサ
4日前
株式会社村田製作所
二次電池および電池パック
4日前
株式会社村田製作所
二次電池および電池パック
4日前
株式会社村田製作所
二次電池および電池パック
2日前
株式会社村田製作所
光学的パターン表示システム
8日前
株式会社村田製作所
プラグの端子構造及びプラグ
2日前
続きを見る
他の特許を見る