TOP
|
特許
|
意匠
|
商標
特許ウォッチ
Twitter
他の特許を見る
公開番号
2025150915
公報種別
公開特許公報(A)
公開日
2025-10-09
出願番号
2024052077
出願日
2024-03-27
発明の名称
プラグの端子構造及びプラグ
出願人
株式会社村田製作所
代理人
弁理士法人酒井国際特許事務所
主分類
H01R
24/60 20110101AFI20251002BHJP(基本的電気素子)
要約
【課題】信号品位の低下を抑制可能なプラグの端子構造及びプラグを実現する。
【解決手段】USB Type-C規格に準拠したレセプタクルコネクタに接続可能に構成されたプラグの端子構造であって、レセプタクルコネクタのシェル内に差し込まれることにより機器のGND電位に接続されるプラグシェル2aと、レセプタクルコネクタの複数のピンに対応して、プラグシェル2aの挿抜方向に延びて設けられる複数のピンA1,A2,・・・,A12,B1,B2,・・・,B12と、を備える。複数のピンA1,A2,・・・,A12,B1,B2,・・・,B12のうち、第1の信号が割り当てられた第1のピンと、第1のピンに割り当てられた第1の信号とは異なる種別の第2の信号が割り当てられた第2のピンとは、それぞれ、プラグシェル2aのGND面との距離が異なる。
【選択図】図4
特許請求の範囲
【請求項1】
USB Type-C規格に準拠したレセプタクルコネクタに接続可能に構成されたプラグの端子構造であって、
前記レセプタクルコネクタのシェル内に差し込まれることにより機器のGND電位に接続されるプラグシェルと、
前記レセプタクルコネクタの複数のピンに対応して、前記プラグシェルの挿抜方向に延びて設けられる複数のピンと、
を備え、
複数の前記ピンのうち、第1の信号が割り当てられた第1のピンと、前記第1のピンに割り当てられた第1の信号とは異なる種別の第2の信号が割り当てられた第2のピンとは、それぞれ、前記プラグシェルのGND面との距離が異なる、
プラグの端子構造。
続きを表示(約 590 文字)
【請求項2】
請求項1に記載のプラグの端子構造であって、
前記プラグシェルは、少なくとも前記プラグシェルの端部から一定距離離れた位置において、複数の前記ピンと前記プラグシェルの挿抜方向に沿って対向する箇所の厚みがそれぞれ異なっている、
プラグの端子構造。
【請求項3】
請求項2に記載のプラグの端子構造であって、
複数の前記ピンのうち、少なくともSuperSpeed規格に準拠した高速データ通信用のピンは、電源供給用のVbusピンよりも前記プラグシェルのGND面との間の距離が大きい、
プラグの端子構造。
【請求項4】
請求項3に記載のプラグの端子構造であって、
複数の前記ピンのうち、電源供給用のVbusピンは、当該Vbusピンを除く他のピンよりも前記プラグシェルのGND面との間の距離が小さい、
プラグの端子構造。
【請求項5】
請求項3又は4に記載のプラグの端子構造を有するプラグであって、
前記高速データ通信用のピンは、差動伝送のピンに対応するコモンモードチョークコイルが接続されている、
プラグ。
【請求項6】
請求項5に記載のプラグであって、
前記コモンモードチョークコイルは、プラグハウジング内に設けられている、
プラグ。
発明の詳細な説明
【技術分野】
【0001】
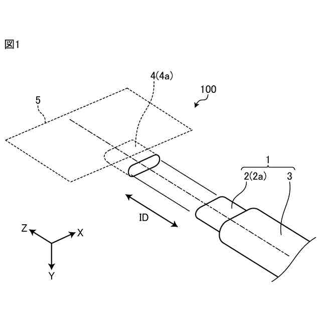
本発明は、プラグの端子構造及びプラグに関する。
続きを表示(約 1,200 文字)
【背景技術】
【0002】
特許文献1には、プラグの表面及び裏面が入れ替わった場合でも利用可能なリバーシブルタイプのコネクタを使用して、例えばテレビジョン放送の受信波のような高周波信号を伝送する技術が開示されている(例えば、特許文献1)。下記特許文献1では、リバーシブルタイプのコネクタとして、USB Type-C(登録商標)、Lightning(登録商標)等のコネクタが例示されている。
【先行技術文献】
【特許文献】
【0003】
国際公開第2017/170419号
【発明の概要】
【発明が解決しようとする課題】
【0004】
USB Type-C規格に準拠したコネクタにおいて、機器のGND電位に接続されるシェルと各ピンとの物理的な距離は一定となる。このため、各ピンに割り当てられる信号の種別に応じた最適な特性インピーダンスを得ることができず、信号品位が低下する可能性がある。
【0005】
本開示は、上記に鑑みてなされたものであって、信号品位の低下を抑制可能なプラグの端子構造及びプラグを実現することを目的とする。
【課題を解決するための手段】
【0006】
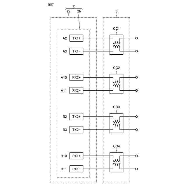
本開示の一側面のプラグの端子構造は、USB Type-C規格に準拠したレセプタクルコネクタに接続可能に構成されたプラグの端子構造であって、前記レセプタクルコネクタのシェル内に差し込まれることにより機器のGND電位に接続されるプラグシェルと、前記レセプタクルコネクタの複数のピンに対応して、前記プラグシェルの挿抜方向に延びて設けられる複数のピンと、を備え、複数の前記ピンのうち、第1の信号が割り当てられた第1のピンと、前記第1のピンに割り当てられた第1の信号とは異なる種別の第2の信号が割り当てられた第2のピンとは、それぞれ、前記プラグシェルのGND面との距離が異なる。
【0007】
この構成では、複数のピンに対してそれぞれ割り当てられている信号の種別に応じた最適な特性インピーダンスとすることができる。これにより、インピーダンス不整合による信号品位の低下を抑制可能なプラグの端子構造及びプラグを実現することができる。
【0008】
本開示の一側面のプラグは、上記プラグの端子構造を有するプラグであって、前記高速データ通信用のピンは、差動伝送のピンに対応するコモンモードチョークコイルが接続されている。
【0009】
この構成では、高速データ通信による電源供給ラインや低速信号線への高周波電磁ノイズの漏洩を効果的に抑制することができる。
【発明の効果】
【0010】
本開示によれば、信号品位の低下を抑制可能なプラグの端子構造及びプラグを実現することができる。
【図面の簡単な説明】
(【0011】以降は省略されています)
この特許をJ-PlatPat(特許庁公式サイト)で参照する
関連特許
株式会社村田製作所
電子部品
9日前
株式会社村田製作所
移相回路
2日前
株式会社村田製作所
測定装置
4日前
株式会社村田製作所
高周波回路
3日前
株式会社村田製作所
電池パック
4日前
株式会社村田製作所
電子聴診器
2日前
株式会社村田製作所
噴霧ノズル
11日前
株式会社村田製作所
コイル部品
2日前
株式会社村田製作所
コイル部品
2日前
株式会社村田製作所
ネブライザ
2日前
株式会社村田製作所
フィルタ装置
3日前
株式会社村田製作所
複合型電子部品
9日前
株式会社村田製作所
電池モジュール
2日前
株式会社村田製作所
圧力センサ装置
4日前
株式会社村田製作所
電子部品包装装置
4日前
株式会社村田製作所
造粒粉及びインダクタ
3日前
株式会社村田製作所
ファブリペロー干渉計
3日前
株式会社村田製作所
コンデンサモジュール
2日前
株式会社村田製作所
光学的パターン表示物品
9日前
株式会社村田製作所
積層セラミック電子部品
10日前
株式会社村田製作所
積層セラミック電子部品
10日前
株式会社村田製作所
積層セラミック電子部品
3日前
株式会社村田製作所
積層セラミック電子部品
3日前
株式会社村田製作所
濾過装置および濾過方法
3日前
株式会社村田製作所
積層セラミック電子部品
3日前
株式会社村田製作所
積層セラミック電子部品
9日前
株式会社村田製作所
積層インダクタの製造方法
9日前
株式会社村田製作所
積層セラミックコンデンサ
13日前
株式会社村田製作所
タブおよび電池モジュール
9日前
株式会社村田製作所
タブおよび電池モジュール
9日前
株式会社村田製作所
積層セラミックコンデンサ
10日前
株式会社村田製作所
積層セラミックコンデンサ
11日前
株式会社村田製作所
電池および電池の製造方法
9日前
株式会社村田製作所
高周波回路および通信装置
4日前
株式会社村田製作所
二次電池および電池パック
5日前
株式会社村田製作所
積層セラミックコンデンサ
5日前
続きを見る
他の特許を見る