TOP
|
特許
|
意匠
|
商標
特許ウォッチ
Twitter
他の特許を見る
公開番号
2025150018
公報種別
公開特許公報(A)
公開日
2025-10-09
出願番号
2024050659
出願日
2024-03-27
発明の名称
案内システム
出願人
株式会社アイシン
代理人
Knowledge Partners弁理士法人
主分類
G01C
21/26 20060101AFI20251002BHJP(測定;試験)
要約
【課題】目的地までの所要時間をより細分化して案内することが可能な技術を提供する。
【解決手段】目的地までの経路探索が行われた場合に、出発地点から目的地前地点までの道中走行時間と、前記目的地前地点から目的地入口までの目的地手前走行時間と、前記目的地入口から駐車地点までの駐車場内走行時間と、を特定する走行時間特定部と、前記道中走行時間と、前記目的地手前走行時間と、前記駐車場内走行時間と、を表示する表示処理部と、を備える。
【選択図】図1
特許請求の範囲
【請求項1】
目的地までの経路探索が行われた場合に、出発地点から目的地前地点までの道中走行時間と、前記目的地前地点から目的地入口までの目的地手前走行時間と、前記目的地入口から駐車地点までの駐車場内走行時間と、を特定する走行時間特定部と、
前記道中走行時間と、前記目的地手前走行時間と、前記駐車場内走行時間と、を表示する表示処理部と、
を備える、案内システム。
続きを表示(約 270 文字)
【請求項2】
前記表示処理部は、前記道中走行時間及び前記目的地手前走行時間それぞれにおいて、経由する走行経路を、識別可能に表示する、請求項1に記載の案内システム。
【請求項3】
前記目的地前地点は、前記目的地へ向かう走行経路における交通量に応じて決定される、請求項1に記載の案内システム。
【請求項4】
前記表示処理部は、前記目的地に対して複数の目的地入口が存在する場合に、各目的地入口に対して、前記道中走行時間、前記目的地手前走行時間及び前記駐車場内走行時間を表示する、請求項1に記載の案内システム。
発明の詳細な説明
【技術分野】
【0001】
本発明は、案内システムに関する。
続きを表示(約 1,400 文字)
【背景技術】
【0002】
従来、出発地から目的地までの走行予定経路と、所要時間とを案内する案内システムが知られている。このようなシステムとして、特許文献1には、目的地の駐車場の入庫待ち時間を考慮した所要時間と、入庫待ち時間を考慮しない所要時間と、の少なくとも一方を表示し、所要時間に入庫待ち時間が考慮されているか否かを乗員に報知する技術が開示されている。
【先行技術文献】
【特許文献】
【0003】
特開2009-186408号公報
【発明の概要】
【発明が解決しようとする課題】
【0004】
経路探索において目的地を設定した場合、目的地付近のノードが目的地として経路探索されることが多い。目的地となる施設の周辺が混雑している場合には、経路探索において目的地として設定された地点から駐車場に入庫するまでにさらに時間を要する場合や、入庫から駐車完了までに時間を要する場合がある。しかしながら、従来は、入庫までに時間を要するのか入庫以降に時間を要するのかわからないため、これらの時間を考慮した運転計画を立てられないという問題があった。
【0005】
本発明は、上記課題に鑑みてなされたものであって、目的地までの所要時間をより細分化して案内することが可能な技術を提供することを目的とする。
【課題を解決するための手段】
【0006】
上記の目的を達成するため、案内システムは、目的地までの経路探索が行われた場合に、出発地点から目的地前地点までの道中走行時間と、前記目的地前地点から目的地入口までの目的地手前走行時間と、前記目的地入口から駐車地点までの駐車場内走行時間と、を特定する走行時間特定部と、前記道中走行時間と、前記目的地手前走行時間と、前記駐車場内走行時間と、を表示する表示処理部と、を備える。
【0007】
すなわち、案内システムは、道中走行時間と、目的地手前走行時間と、駐車場内走行時間とを表示する。これにより、ユーザは、目的地に到達するまでの所要時間だけでなく、道中経路の走行に時間がかかるのか、入庫に時間がかかるのか、駐車場内で時間がかかるのかを把握することができる。
【図面の簡単な説明】
【0008】
案内システムの構成を示すブロック図である。
入庫時間情報のデータ構成例を示す図である。
図3A、図3B及び図3Cは、目的地手前経路特定処理の説明図である。
入庫時間実測値特定処理を示すフローチャートである。
入庫時間実測値の説明図である。
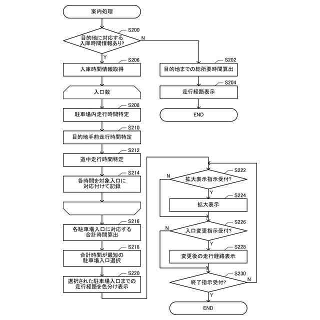
案内処理を示すフローチャートである。
走行経路の表示例を示す図である。
拡大表示の例を示す図である。
【発明を実施するための形態】
【0009】
ここでは、下記の順序に従って本発明の実施の形態について説明する。
(1)案内システムの構成:
(2)入庫情報生成処理:
(3)案内処理:
(4)付記:
【0010】
(1)案内システムの構成:
図1は、案内システム10の構成を示すブロック図である。案内システム10は、車両に搭載されたシステムである。なお、他の例としては、案内システム10は、据置型又は携帯型の情報処理装置であってもよい。
(【0011】以降は省略されています)
この特許をJ-PlatPat(特許庁公式サイト)で参照する
関連特許
株式会社アイシン
ロータ
3日前
株式会社アイシン
ロータ
7日前
株式会社アイシン
歯車機構
3日前
株式会社アイシン
環境認識装置
7日前
株式会社アイシン
車両制御装置
7日前
株式会社アイシン
折り畳み装置
7日前
株式会社アイシン
牽引支援装置
7日前
株式会社アイシン
牽引支援装置
7日前
株式会社アイシン
折り畳み装置
7日前
株式会社アイシン
走行制御装置
7日前
株式会社アイシン
折り畳み装置
7日前
株式会社アイシン
ガス検出装置
7日前
株式会社アイシン
折り畳み装置
7日前
株式会社アイシン
運転支援装置
7日前
株式会社アイシン
ドアロック装置
1日前
株式会社アイシン
サンルーフ装置
3日前
株式会社アイシン
露光制御システム
7日前
株式会社アイシン
燃料電池システム
3日前
株式会社アイシン
燃料電池システム
3日前
株式会社アイシン
燃料電池システム
3日前
株式会社アイシン
生体情報検出装置
7日前
株式会社アイシン
被牽引車両用マークおよびマーク検出装置
7日前
株式会社豊田中央研究所
非接触給電可能な回転電機
1日前
株式会社豊田中央研究所
体重推定装置、体重推定方法、及び体重推定プログラム
2日前
個人
メジャー文具
10日前
個人
アクセサリー型テスター
3日前
個人
高精度同時多点測定装置
2日前
ユニパルス株式会社
ロードセル
9日前
株式会社チノー
放射光測温装置
9日前
株式会社ヨコオ
ソケット
9日前
トヨタ自動車株式会社
監視装置
8日前
株式会社ヨコオ
ソケット
8日前
ダイキン工業株式会社
監視装置
7日前
エイブリック株式会社
磁気センサ回路
15日前
TDK株式会社
ガスセンサ
9日前
ローム株式会社
半導体装置
1日前
続きを見る
他の特許を見る