TOP
|
特許
|
意匠
|
商標
特許ウォッチ
Twitter
他の特許を見る
10個以上の画像は省略されています。
公開番号
2025154565
公報種別
公開特許公報(A)
公開日
2025-10-10
出願番号
2024057636
出願日
2024-03-29
発明の名称
折り畳み装置
出願人
株式会社アイシン
代理人
弁理士法人酒井国際特許事務所
主分類
B62K
15/00 20060101AFI20251002BHJP(鉄道以外の路面車両)
要約
【課題】折り畳み装置において折り畳み操作の容易性を向上させる。
【解決手段】折り畳み装置は、第1のフレームと、第2のフレームと、第3のフレームと、第1のフレームと第2のフレームとの折り畳み動作を可能に、第1のフレームと第2のフレームとを連結する第1の折畳部と、第1のフレームと第3のフレームとの折り畳み動作を可能に、第1のフレームと第3のフレームとを連結する第2の折畳部と、第1のフレームと第2のフレームとの折り畳み動作と、第1のフレームと第3のフレームとの折り畳み動作と、を連動させる折り畳み動作連動部と、を備え、折り畳み動作連動部は、第2のフレームとともに第1のフレームに対して回転可能な第1の連動回転部材と、第3のフレームとともに第1のフレームに対して回転可能な第2の連動回転部材と、第1の連動回転部材と第2の連動回転部材とを連動させる連動部材と、を有する。
【選択図】図4
特許請求の範囲
【請求項1】
第1のフレームと、
第2のフレームと、
第3のフレームと、
第1の回転中心軸回りの前記第1のフレームと前記第2のフレームとの相対回転による前記第1のフレームと前記第2のフレームとの折り畳み動作を可能に、前記第1のフレームと前記第2のフレームとを連結する第1の折畳部と、
第2の回転中心軸回りの前記第1のフレームと前記第3のフレームとの相対回転による前記第1のフレームと前記第3のフレームとの折り畳み動作を可能に、前記第1のフレームと前記第3のフレームとを連結する第2の折畳部と、
前記第1のフレームと前記第2のフレームとの折り畳み動作と、前記第1のフレームと前記第3のフレームとの折り畳み動作と、を連動させる折り畳み動作連動部と、
回転部材を有し、前記回転部材の回転により前記折り畳み動作を許容する許容状態と、前記折り畳み動作を禁止する禁止状態とが切り替わるロック部と、
を備え、
前記折り畳み動作連動部は、
前記第2のフレームとともに前記第1のフレームに対して前記第1の回転中心軸回りに回転可能な第1の連動回転部材と、
前記第3のフレームとともに前記第1のフレームに対して前記第2の回転中心軸回りに回転可能な第2の連動回転部材と、
前記第1の連動回転部材と前記第2の連動回転部材とを連動させる連動部材と、
を有する、
折り畳み装置。
続きを表示(約 470 文字)
【請求項2】
前記折り畳み動作連動部は、前記第3のフレームと前記第2の連動回転部材とを前記第2の回転中心軸回りの遊びをもって連結する遊び連結部を有する、
請求項1に記載の折り畳み装置。
【請求項3】
前記遊び連結部は、
前記第2の連動回転部材に固定され、前記第2の連動回転部材と一体に前記第2の回転中心軸回りに回転可能な連動部材側シャフトと、
前記第3のフレームに固定され、前記第3のフレームと一体に前記第2の回転中心軸回りに回転可能なフレーム側シャフトと、
前記フレーム側シャフトと前記連動部材側シャフトとの一方に設けられる溝部と、
前記フレーム側シャフトと前記連動部材側シャフトとの他方に設けられ、前記溝部に前記遊びをもって入れられる引掛部と、
を有する、
請求項2に記載の折り畳み装置。
【請求項4】
前記第3のフレームは、車輪を回転可能に支持するスイングアームを有する、
請求項1~請求項3のうちいずれか一つに記載の折り畳み装置。
発明の詳細な説明
【技術分野】
【0001】
本発明の実施形態は、折り畳み装置に関する。
続きを表示(約 2,700 文字)
【背景技術】
【0002】
従来、車両等に設けられ、展開状態と折り畳み状態とに変更可能な折り畳み装置が知られている。例えば、前輪と後輪との間のメインフレームとリアフォークとを軸線上に設けた三箇所のヒンジで折り畳み及び展開可能に連結した折り畳装置がある(例えば、特許文献1参照)。
【先行技術文献】
【特許文献】
【0003】
特開平10-291488号公報
【発明の概要】
【発明が解決しようとする課題】
【0004】
この種の折り畳み装置は、折り畳みの節となるヒンジ等の折畳部の数を増やすほど小さく折り畳むことが可能であるが、折畳部毎にロック部を設けるため、折畳部の数が増加するほどロック部の数も増加し、折り畳みの操作性が悪化してしまう。
【0005】
本発明の実施形態が解決しようとする課題の一つは、折り畳み操作の容易性を向上させることである。
【課題を解決するための手段】
【0006】
本発明の実施形態に係る折り畳み装置は、第1のフレームと、第2のフレームと、第3のフレームと、第1の回転中心軸回りの前記第1のフレームと前記第2のフレームとの相対回転による前記第1のフレームと前記第2のフレームとの折り畳み動作を可能に、前記第1のフレームと前記第2のフレームとを連結する第1の折畳部と、第2の回転中心軸回りの前記第1のフレームと前記第3のフレームとの相対回転による前記第1のフレームと前記第3のフレームとの折り畳み動作を可能に、前記第1のフレームと前記第3のフレームとを連結する第2の折畳部と、前記第1のフレームと前記第2のフレームとの折り畳み動作と、前記第1のフレームと前記第3のフレームとの折り畳み動作と、を連動させる折り畳み動作連動部と、回転部材を有し、前記回転部材の回転により前記折り畳み動作を許容する許容状態と、前記折り畳み動作を禁止する禁止状態とが切り替わるロック部と、を備え、前記折り畳み動作連動部は、前記第2のフレームとともに前記第1のフレームに対して前記第1の回転中心軸回りに回転可能な第1の連動回転部材と、前記第3のフレームとともに前記第1のフレームに対して前記第2の回転中心軸回りに回転可能な第2の連動回転部材と、前記第1の連動回転部材と前記第2の連動回転部材とを連動させる連動部材と、を有する。
【発明の効果】
【0007】
本発明の実施形態に係る折り畳み装置によれば、折り畳み操作の容易性を向上させることができる。
【図面の簡単な説明】
【0008】
図1は、実施形態の折り畳み装置を備える車両の概略構成を示す例示的かつ模式的な側面図であって、展開状態を示す図である。
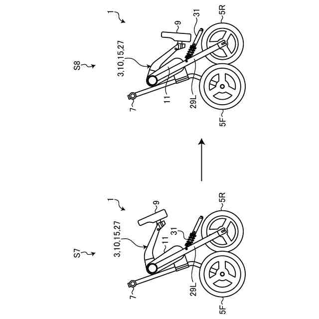
図2は、実施形態の車両の折り畳み手順の一部を示す例示的かつ模式的な図である。
図3は、実施形態の車両の折り畳み手順の一部を示す例示的かつ模式的な図であって、図2に続く手順を示す図である。
図4は、実施形態の車両の折り畳み手順の一部を示す例示的かつ模式的な図であって、図3に続く手順を示す図である。
図5は、実施形態の車両の折り畳み手順の一部を示す例示的かつ模式的な図であって、図4に続く手順を示す図である。
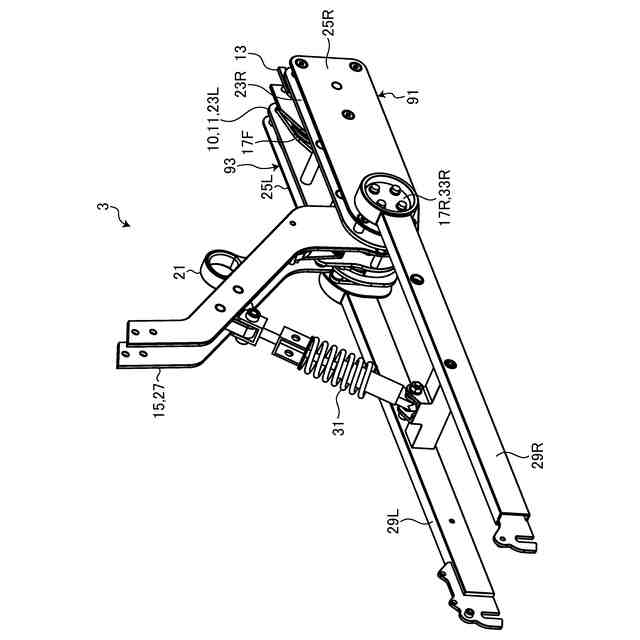
図6は、実施形態の折り畳み装置の一部を示す例示的かつ模式的な斜視図である。
図7は、実施形態の折り畳み装置の一部を示す例示的かつ模式的な断面図である。
図8は、実施形態の折り畳み装置の一部を示す例示的かつ模式的な分解斜視図示す図である。
図9は、実施形態の折り畳み装置車両を示す例示的かつ模式的な分解斜視図である。
図10は、実施形態の折り畳み装置の一部を示す例示的かつ模式的な斜視図である。
図11は、実施形態の折り畳み装置の一部を示す例示的かつ模式的な側面図である。
図12は、実施形態の折り畳み装置の一部を示す例示的かつ模式的な斜視図である。
図13は、実施形態の折り畳み装置の一部を示す例示的かつ模式的な側面図である。
図14は、実施形態の折り畳み装置の動きを説明するための図である。
図15は、実施形態の折り畳み装置の一部を示す例示的かつ模式的な斜視図である。
図16は、実施形態の折り畳み装置の一部を示す例示的かつ模式的な斜視図である。
図17は、実施形態の折り畳み装置の一部を示す例示的かつ模式的な斜視図である。
図18は、実施形態の折り畳み装置の一部を示す例示的かつ模式的な斜視図である。
図19は、実施形態の折り畳み装置の一部を示す例示的かつ模式的な斜視図である。
図20は、実施形態の折り畳み装置の一部を示す例示的かつ模式的な斜視図である。
図21は、実施形態の折り畳み装置の一部の動作を説明するための図であって、図2の手順に対応する状態を示す図である。
図22は、実施形態の折り畳み装置の一部の動作を説明するための図であって、図3の手順に対応する状態を示す図である。
図23は、実施形態の折り畳み装置の一部の動作を説明するための図であって、図4の手順に対応する状態を示す図である。
図24は、実施形態の折り畳み装置の一部の動作を説明するための図であって、図5の手順に対応する状態を示す図である。
図25は、実施形態の折り畳み装置の一部の動作を説明するための図である。
図26は、実施形態の折り畳み装置の操作部材を示す例示的かつ模式的な側面図である。
図27は、実施形態の折り畳み装置の操作部材の一部を示す例示的かつ模式的な側面図である。
図28は、実施形態の折り畳み装置の操作部材及びピンの動作を説明するための図である。
【発明を実施するための形態】
【0009】
以下、本開示の実施形態を図面に基づいて説明する。以下に記載する実施形態の構成、ならびに当該構成によってもたらされる作用及び効果は、あくまで一例であって、以下の記載内容に限られるものではない。
【0010】
なお、図面は模式的なものであり、各要素の寸法の関係、各要素の比率等は、現実と異なる場合がある。また、図面の相互間においても、互いの寸法の関係や比率が異なる部分が含まれている場合がある。
(【0011】以降は省略されています)
この特許をJ-PlatPat(特許庁公式サイト)で参照する
関連特許
株式会社アイシン
ロータ
3日前
株式会社アイシン
ロータ
5日前
株式会社アイシン
空気袋
14日前
株式会社アイシン
保護装置
4日前
株式会社アイシン
検知装置
4日前
株式会社アイシン
ステータ
3日前
株式会社アイシン
ステータ
3日前
株式会社アイシン
ステータ
3日前
株式会社アイシン
制御装置
4日前
株式会社アイシン
駆動装置
4日前
株式会社アイシン
車体構造
10日前
株式会社アイシン
ステータ
3日前
株式会社アイシン
制御装置
4日前
株式会社アイシン
駆動装置
12日前
株式会社アイシン
電子機器
4日前
株式会社アイシン
制御装置
10日前
株式会社アイシン
回転電機
6日前
株式会社アイシン
回転電機
6日前
株式会社アイシン
回転電機
10日前
株式会社アイシン
制御装置
4日前
株式会社アイシン
温度調節器
10日前
株式会社アイシン
鋳ぐるみ品
14日前
株式会社アイシン
レーダ装置
4日前
株式会社アイシン
温度調節器
14日前
株式会社アイシン
運転支援装置
10日前
株式会社アイシン
超音波センサ
5日前
株式会社アイシン
立体構造基板
14日前
株式会社アイシン
牽引支援装置
3日前
株式会社アイシン
運転支援装置
4日前
株式会社アイシン
マニホールド
12日前
株式会社アイシン
心拍検出装置
17日前
株式会社アイシン
衝撃吸収部材
4日前
株式会社アイシン
折り畳み装置
3日前
株式会社アイシン
案内システム
4日前
株式会社アイシン
開閉システム
11日前
株式会社アイシン
電解システム
5日前
続きを見る
他の特許を見る