TOP
|
特許
|
意匠
|
商標
特許ウォッチ
Twitter
他の特許を見る
公開番号
2025150022
公報種別
公開特許公報(A)
公開日
2025-10-09
出願番号
2024050665
出願日
2024-03-27
発明の名称
穀粉生地用改質剤、穀粉生地、及び食品
出願人
日油株式会社
代理人
弁理士法人ユニアス国際特許事務所
主分類
A23L
7/104 20160101AFI20251002BHJP(食品または食料品;他のクラスに包含されないそれらの処理)
要約
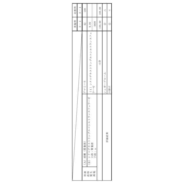
【課題】砂糖を含む穀粉生地に配合することにより、砂糖の結晶化を抑制し、シュガーブルームを抑制することが可能な穀粉生地用改質剤を提供すること。
【解決手段】シクロデキストリングルコシルトランスフェラーゼを含有する穀粉生地用改質剤。
【選択図】なし
特許請求の範囲
【請求項1】
シクロデキストリングルコシルトランスフェラーゼを含有することを特徴とする穀粉生地用改質剤。
続きを表示(約 100 文字)
【請求項2】
穀粉、砂糖及び請求項1記載の穀粉生地用改質剤を含有することを特徴とする穀粉生地。
【請求項3】
請求項2記載の穀粉生地を焼成してなることを特徴とする食品。
発明の詳細な説明
【技術分野】
【0001】
本発明は、穀粉生地中に配合することで穀粉生地焼成後の食品表面に発生するシュガーブルームを抑制できる穀粉生地用改質剤に関する。
続きを表示(約 1,200 文字)
【背景技術】
【0002】
チョコレート菓子では、チョコレート表面に水滴が付き、水滴に含まれる砂糖が溶けだして再び結晶となって固まることで白い斑点が生じるシュガーブルームという現象がある。
【0003】
このシュガーブルームはチョコレートだけでなく穀粉生地を焼成して製造される食品においても見られる現象である。この場合、穀粉生地中の砂糖が十分に分散、溶解されず、焼成後に砂糖の結晶が食品表面に析出することが知られている(非特許文献1)。穀粉生地を焼成して得られる食品の表面に砂糖による白い斑点が生じると外観が悪く、また砂糖が均一分散していないため風味、食感が低下する。シュガーブルームの発生を抑制するためには、穀粉生地中の砂糖を溶解させる必要があるため、攪拌回数を増やす、砂糖以外の原料を調温することで混合時に砂糖が溶けやすくする、製造した穀粉生地を寝かせて砂糖の溶解を促すなどの方法が考えられる。
【0004】
またチョコレートではシュガーブルームの発生を防止する方法について提案されている。(特許文献1)
【先行技術文献】
【特許文献】
【0005】
特開2004-357647号公報
【非特許文献】
【0006】
科学でわかるお菓子の「なぜ?」辻製菓専門学校監修
【発明の概要】
【発明が解決しようとする課題】
【0007】
しかし、攪拌時間を長くする、他の原料を温めて使用する、製造した穀粉生地を長時間寝かせるといった方法はいずれも作業性の低下を招くため、簡便にシュガーブルームを抑制する方法が望まれている。また特許文献1の方法では、特殊な果実入りチョコレート菓子製造方法での限られた効果であり、穀粉生地を焼成してなる食品のシュガーブルームを抑制することはできない。
【0008】
本発明の課題は、砂糖を含む穀粉生地に配合することにより、砂糖の結晶化を抑制し、シュガーブルームを抑制することが可能な穀粉生地用改質剤を提供することである。
【課題を解決するための手段】
【0009】
本発明は、上記課題を解決するために鋭意研究を重ねた結果、シクロデキストリングルコシルトランスフェラーゼを含有する穀粉生地用改質剤により、砂糖の結晶化を抑制し、シュガーブルームの発生を抑制することを見出した。
【0010】
すなわち、本発明は下記の[1]~[3]である。
[1]シクロデキストリングルコシルトランスフェラーゼを含有する穀粉生地用改質剤。
[2]穀粉、砂糖及び前記[1]に記載の穀粉生地用改質剤を含有する穀粉生地。
[3]前記[2]に記載の穀粉生地を焼成してなる食品。
【発明の効果】
(【0011】以降は省略されています)
この特許をJ-PlatPat(特許庁公式サイト)で参照する
関連特許
日油株式会社
皮膚保湿剤
8日前
日油株式会社
重合性組成物
8日前
日油株式会社
導電性組成物
8日前
日油株式会社
分散剤及び樹脂組成物
3日前
日油株式会社
リン酸ジエステルの製造方法
3日前
日油株式会社
ペルフルオロアシル過酸化物の製造方法。
7日前
日油株式会社
イソプロぺニルフェノール共重合体の製造方法
7日前
日油株式会社
保護層形成用組成物、保護層、及び保護層の製造方法
7日前
日油株式会社
水中油型乳化油脂組成物、および水中油型乳化油脂組成物を含有する食品
7日前
日油株式会社
接着剤組成物、光溶融型接着剤、光溶融型接着剤を用いた積層体および光溶融型接着剤を用いた製造方法
8日前
日油株式会社
高純度の2-アミノエチルメタクリレート塩酸塩及び該塩酸塩を構成単位として含む共重合体、並びに、2-アミノエチルメタクリレート塩酸塩の製造方法
3日前
個人
健康促進霊芝茶
28日前
不二製油株式会社
組成物
7日前
不二製油株式会社
グミ類
1か月前
個人
ヨーグルト等の発酵器
25日前
不二製油株式会社
油性食品
18日前
不二製油株式会社
加工食品
1か月前
不二製油株式会社
光照射油脂
7日前
不二製油株式会社
油脂組成物
2か月前
不二製油株式会社
油脂組成物
1か月前
株式会社東洋新薬
経口組成物
1か月前
株式会社東洋新薬
飲料
8日前
東ソー株式会社
食品品質保持剤
2か月前
奥野製薬工業株式会社
処理方法
10日前
不二製油株式会社
被覆用油性食品
9日前
東洋ライス株式会社
搗精米
1か月前
株式会社エポック社
絞出具
10日前
日本メナード化粧品株式会社
飲料
28日前
株式会社ソディック
食品搬送装置
2か月前
個人
発酵あんこの製造方法
1日前
個人
廃棄食品の資源化法とその装置
2か月前
池田食研株式会社
油脂含有造粒顆粒
1か月前
不二製油株式会社
冷凍霜付き抑制剤
14日前
不二製油株式会社
カカオ含有飲食物
8日前
池田食研株式会社
食品生地用組成物
2か月前
長谷川香料株式会社
動物油脂感付与剤
2か月前
続きを見る
他の特許を見る