TOP
|
特許
|
意匠
|
商標
特許ウォッチ
Twitter
他の特許を見る
10個以上の画像は省略されています。
公開番号
2025150654
公報種別
公開特許公報(A)
公開日
2025-10-09
出願番号
2024051653
出願日
2024-03-27
発明の名称
画像読取装置
出願人
ブラザー工業株式会社
代理人
弁理士法人第一テクニカル国際特許事務所
主分類
H04N
1/00 20060101AFI20251002BHJP(電気通信技術)
要約
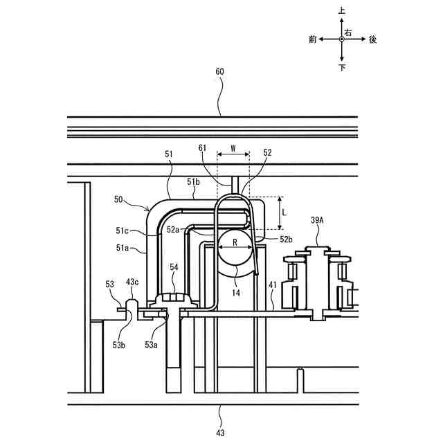
【課題】ガイドシャフトの接地と抜け止めとを両立できる読取装置を提供する。
【解決手段】複合機1は、プラテンガラス12に載置された原稿を読み取るイメージセンサ11と、イメージセンサ11を走査方向に案内する金属製のガイドシャフト14と、ガイドシャフト14を下方から支持する支持部43aを有するベース部43と、ガイドシャフト14と当接するガイドシャフトプレート50と、ガイドシャフトプレート50が取り付けられる駆動板金41と、を有し、ガイドシャフトプレート50は、駆動板金41に取り付けられて導通する被取付部53と、被取付部53から延びてガイドシャフト14の上端に対し所定の隙間を有して位置し、当該ガイドシャフト14の上方への移動を規制する規制部51と、被取付部53から延びて規制部51と離間しており、ガイドシャフト14を径方向外側から挟んで当接する当接部52と、を有する。
【選択図】図4
特許請求の範囲
【請求項1】
原稿台に載置された原稿を読み取る読取センサと、
前記読取センサを走査方向に案内する金属製のガイドシャフトと、
前記ガイドシャフトを下方から支持する支持部を有する読取筐体と、
前記ガイドシャフトと当接する板金部材と、
前記板金部材が取り付けられる取付部材と、
を有し、
前記板金部材は、
前記取付部材に取り付けられて導通する被取付部と、
前記被取付部から延びて前記ガイドシャフトの上端に対し所定の隙間を有して位置し、当該ガイドシャフトの上方への移動を規制する規制部と、
前記被取付部から延びて前記規制部と離間しており、前記ガイドシャフトを径方向外側から挟んで当接する当接部と、
を有することを特徴とする、画像読取装置。
続きを表示(約 1,300 文字)
【請求項2】
前記板金部材の前記当接部は、
前記被取付部から先端に向けて延びた形状を有しており、前記先端と前記被取付部との間に、前記ガイドシャフトと当接する第1当接部と、前記第1当接部よりも先端側に位置し前記ガイドシャフトと当接して前記第1当接部とともに前記ガイドシャフトを挟み込む第2当接部と、を有し、
前記当接部の前記第1当接部と前記第2当接部との間は、前記第1当接部から前記第2当接部に向かって延びる方向が反転するよう屈曲しておりかつ前記ガイドシャフトと離間している、請求項1に記載の画像読取装置。
【請求項3】
前記被取付部は、
貫通孔を有し、
前記板金部材は、
前記被取付部の前記貫通孔を貫通するネジにより前記取付部材に固定されており、
前記読取筐体は、
前記板金部材の位置決めを行うための位置決め部を有し、
前記被取付部の前記貫通孔は、
上方からの平面視において、前記当接部の前記第1当接部又は前記第2当接部と前記読取筐体の前記位置決め部との間に位置するように配置されている、請求項2に記載の画像読取装置。
【請求項4】
前記板金部材の前記規制部は、
前記被取付部側に位置し上方に延びる第1規制部と、前記第1規制部のうち前記被取付部へ接続される側と反対側から前記ガイドシャフト側に向かって屈曲して延び、前記ガイドシャフトの上方に位置する第2規制部と、を有する、請求項1に記載の画像読取装置。
【請求項5】
前記被取付部は、
貫通孔を有し、
前記板金部材は、
前記被取付部の前記貫通孔を貫通するネジにより前記取付部材に固定されており、
前記板金部材は、
前記板金部材の回転を止める係止部を有し、
前記被取付部の前記貫通孔は、
上方からの平面視において、前記規制部の前記第1規制部と前記板金部材の前記係止部との間に位置するように配置されている、請求項4に記載の画像読取装置。
【請求項6】
前記ガイドシャフトは、
前記走査方向において前記規制部に対応する位置に、他の部位よりも外径の小さい小径部を備え、
前記規制部は、
前記小径部の上端に対し前記隙間を空けて配置されており、
前記当接部は、
前記走査方向において、前記規制部から前記ガイドシャフトの軸端部と反対側に位置しており、
前記読取筐体の前記支持部は、
前記ガイドシャフトのうち、前記小径部よりも外径の大きい前記他の部位を下方から支持する、請求項1に記載の画像読取装置。
【請求項7】
前記板金部材の前記規制部は、前記当接部よりも高い剛性を備えている、請求項1に記載の画像読取装置。
【請求項8】
前記取付部材は、
前記読取センサを移動させる駆動力を与えるモータと前記モータの駆動力を伝達するギアとを含む駆動機構を支持し、接地導通がなされている、駆動機構配置板である、請求項1記載の画像読取装置。
発明の詳細な説明
【技術分野】
【0001】
本発明は、原稿に対して読み取りを行う画像読取装置に関する。
続きを表示(約 1,900 文字)
【背景技術】
【0002】
従来、例えば特許文献1に記載のように、読取装置のガイドシャフトに対し、接地手段である板バネの一端側が上側からガイドシャフトに当接するようにして配置され、板バネの他端側がネジでグラウンド部材に固定される構成が知られている。
【先行技術文献】
【特許文献】
【0003】
特開2005-17873号公報(図7、段落[0061][0062])
【発明の概要】
【発明が解決しようとする課題】
【0004】
特許文献1に記載の画像読取装置においては、板バネが、ガイドシャフトの接地と抜け止めの両方の役割を兼ねており、そのために、ガイドシャフトの上側から押さえ込むように板バネを常時当接させた状態となっている。この結果、板バネの当接が強すぎた場合には、他端側を固定したネジ締めが浮いて接地が不十分となったり、時間の経過とともに板バネが変形した場合には抜け止めが不十分となるおそれがある。
【0005】
本発明の目的は、ガイドシャフトの接地と抜け止めとを両立できる読取装置を提供することにある。
【課題を解決するための手段】
【0006】
上記目的を達成するために、本願発明の画像読取装置は、原稿台に載置された原稿を読み取る読取センサと、前記読取センサを走査方向に案内する金属製のガイドシャフトと、前記ガイドシャフトを下方から支持する支持部を有する読取筐体と、前記ガイドシャフトと当接する板金部材と、前記板金部材が取り付けられる取付部材と、を有し、前記板金部材は、前記取付部材に取り付けられて導通する被取付部と、前記被取付部から延びて前記ガイドシャフトの上端に対し所定の隙間を有して位置し、当該ガイドシャフトの上方への移動を規制する規制部と、前記被取付部から延びて前記規制部と離間しており、前記ガイドシャフトを径方向外側から挟んで当接する当接部と、を有する。
【0007】
本願発明においては、板金部材が、規制部と当接部とを有する。規制部がガイドシャフトの上方への移動を規制する一方、当接部がガイドシャフトを径方向外側から挟んで当接し、接地を行う。
規制部は、当接部とは別に離れて配置され接地機能を備える必要がないため、ガイドシャフトから離れた状態、すなわちガイドシャフト上端に対し隙間を空けて配置される。したがって、ガイドシャフトに常時当接する従来構造のように抜け止め機能が劣化することがない。
当接部は、被取付部から延びた形状においてガイドシャフトの径方向外側から挟むように当接するため、ガイドシャフトと常時当接した状態であっても挟み込んだ自由端側が変形するに過ぎず、接地機能が劣化しにくい。
以上の結果、本願発明によれば、ガイドシャフトの接地及び抜け止めの両立を確実に維持することができる。
【発明の効果】
【0008】
本発明によれば、ガイドシャフトの接地と抜け止めとの両立を確実に維持することができる。
【図面の簡単な説明】
【0009】
実施形態に係る複合機の自動原稿搬送部が閉じた状態の外観構成の一例を表す斜視図である。
実施形態に係る複合機の自動原稿搬送部が開いた状態の外観構成の一例を表す斜視図である。
フラットベッド部の内部構造の一例を表す上面図である。
実施形態に係るガイドシャフトプレートの構造の一例を表す斜視図である。
実施形態に係るガイドシャフトプレートの構造の一例を表す上面図である。
実施形態に係るガイドシャフトプレートの構造の一例を表す、シャフトの軸方向に垂直な方向の縦断面図である。
実施形態に係るガイドシャフトプレートの構造の一例を、ベース部の壁部の一部を破断して示す斜視図である。
実施形態に係るガイドシャフトプレートの構造の一例を表す、シャフトの軸方向に平行な方向の縦断面図である。
実施形態に係るガイドシャフトプレートの構造の一例を表す、シャフトの軸方向に垂直な方向の縦断面図である。
実施形態に係るガイドシャフトプレートの当接部の形状を表す図である。
変形例に係るガイドシャフトプレートの当接部の形状を表す図である。
【発明を実施するための形態】
【0010】
以下、本発明を実施するための形態を図面を用いて説明する。
(【0011】以降は省略されています)
この特許をJ-PlatPat(特許庁公式サイト)で参照する
関連特許
ブラザー工業株式会社
ホルダ
8日前
ブラザー工業株式会社
固定具
10日前
ブラザー工業株式会社
ボビン
10日前
ブラザー工業株式会社
ミシン
8日前
ブラザー工業株式会社
ミシン
8日前
ブラザー工業株式会社
空調機
9日前
ブラザー工業株式会社
制御装置
9日前
ブラザー工業株式会社
印刷媒体
8日前
ブラザー工業株式会社
印刷媒体
8日前
ブラザー工業株式会社
印刷媒体
8日前
ブラザー工業株式会社
結紮装置
9日前
ブラザー工業株式会社
結紮装置
9日前
ブラザー工業株式会社
縫製装置
10日前
ブラザー工業株式会社
回収装置
8日前
ブラザー工業株式会社
塗工装置
8日前
ブラザー工業株式会社
塗工装置
8日前
ブラザー工業株式会社
塗布装置
8日前
ブラザー工業株式会社
制御装置
9日前
ブラザー工業株式会社
印刷装置
1日前
ブラザー工業株式会社
塗工装置
8日前
ブラザー工業株式会社
スキャナ
4日前
ブラザー工業株式会社
印刷装置
10日前
ブラザー工業株式会社
スキャナ
4日前
ブラザー工業株式会社
糸巻回装置
10日前
ブラザー工業株式会社
糸巻回装置
10日前
ブラザー工業株式会社
画像形成装置
9日前
ブラザー工業株式会社
静電塗工装置
8日前
ブラザー工業株式会社
液体吐出装置
11日前
ブラザー工業株式会社
液体吐出装置
10日前
ブラザー工業株式会社
画像形成装置
10日前
ブラザー工業株式会社
画像形成装置
8日前
ブラザー工業株式会社
画像形成装置
8日前
ブラザー工業株式会社
画像形成装置
10日前
ブラザー工業株式会社
画像形成装置
9日前
ブラザー工業株式会社
画像形成装置
10日前
ブラザー工業株式会社
画像形成装置
10日前
続きを見る
他の特許を見る