TOP
|
特許
|
意匠
|
商標
特許ウォッチ
Twitter
他の特許を見る
公開番号
2025150662
公報種別
公開特許公報(A)
公開日
2025-10-09
出願番号
2024051671
出願日
2024-03-27
発明の名称
配管固定具および配管固定構造
出願人
古河樹脂加工株式会社
,
古河電気工業株式会社
代理人
個人
主分類
F16L
3/08 20060101AFI20251002BHJP(機械要素または単位;機械または装置の効果的機能を生じ維持するための一般的手段)
要約
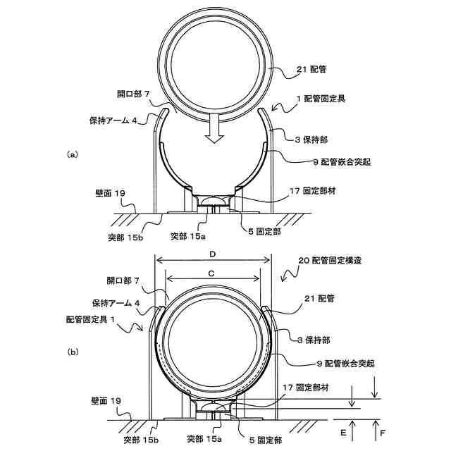
【課題】 美観に優れた配管固定構造を得ることが可能な配管固定具等を提供する。
【解決手段】 配管固定具1は、例えば樹脂等で一体で構成され、保持部3、固定部5等から構成される。保持部3は、配管を保持する部位であり、上方の中央部に開口部7を有し、対向して配置される一対の保持アーム4からなるクリップ形状である。固定部5は、保持部3を設置対象に固定する部位である。一対の固定部5は、保持部3に対して、保持される配管の軸方向にそれぞれ突出するように配置される。保持部3に配管が保持された際に、配管によって、固定部5が隠れるように配管を保持することができる。
【選択図】図1
特許請求の範囲
【請求項1】
配管固定具であって、
配管を保持する保持部と、
前記保持部を設置対象に固定する固定部と、
を具備し、
一対の前記固定部が、前記保持部に対して、保持される配管の軸方向にそれぞれ突出するように配置され、前記保持部に配管が保持された際に、配管によって、前記固定部が隠れるように配管を保持することが可能であることを特徴とする配管固定具。
続きを表示(約 750 文字)
【請求項2】
配管固定具の底面において、前記固定部と、一対の前記固定部の併設方向に直交する前記保持部の幅方向の両端部近傍が、他の部位と比較して、設置対象方向に向けて突出していることを特徴とする請求項1記載の配管固定具。
【請求項3】
前記保持部は、中央部が開口したクリップであり、弾性変形によって開口部を開くことで配管を前記保持部に挿入することが可能であることを特徴とする請求項1記載の配管固定具。
【請求項4】
前記固定部の上面に対して、前記保持部が上方にオフセットして配置されることを特徴とする請求項1記載の配管固定具。
【請求項5】
前記保持部の外面において、保持される配管の軸方向の略中央には、周方向に向けて位置決め用のマークが形成されることを特徴とする請求項1記載の配管固定具。
【請求項6】
前記固定部の上面において、保持される配管の軸方向に直交する前記固定部の幅方向の略中央には、保持される配管の軸方向に向けて位置決め用のマークが形成されることを特徴とする請求項1記載の配管固定具。
【請求項7】
設置対象への配管の固定構造であって、
設置対象に固定される配管固定具と、
前記配管固定具に保持される配管と、
を具備し、
前記配管固定具は、保持部と、固定部と、を有し、
前記保持部には前記配管が保持され、
前記固定部が、前記保持部に対して、前記配管の軸方向にそれぞれ突出するように配置され、一対の前記固定部において前記配管固定具が設置対象に対して固定され、
前記固定部が、前記配管で隠れて正面から視認されないことを特徴とする配管固定構造。
発明の詳細な説明
【技術分野】
【0001】
本発明は、壁面等の設置対象部にケーブルの保護配管等を固定するための配管固定具および配管固定構造に関するものである。
続きを表示(約 1,000 文字)
【背景技術】
【0002】
従来、建物の壁面等に配管を敷設する際には、壁面に対して所定間隔で配管が固定される。配管の固定には、配管固定具が用いられる。配管固定具は、配管を保持する保持部と、保持部を壁面等に固定するための固定部を有する。
【0003】
このような、配管固定具としては、例えば、略U字型の保持部と、保持部の両側に形成された固定部とを有するサドルが提案されている(特許文献1)。
【先行技術文献】
【特許文献】
【0004】
特開平2-107890号公報
【発明の概要】
【発明が解決しようとする課題】
【0005】
しかし、従来の配管固定具は、保持部に配管を保持させた際に、固定部が配管からはみ出してしまうため、見た目が悪い。特に、配管固定具は、所定の間隔で複数個所に設置する必要があるため、配管固定具が目立つ。
【0006】
また、配管固定具を固定するためのスペースが必要となるため、配管固定具を設置可能なスペースのある部位にしか配管を設置することができない。
【0007】
一方、固定部を1か所にすることで、固定部が目立ちにくくなるが、配管を固定した際に、配管からの力で配管固定具が回転してしまい、配管が蛇行するなど、見た目が悪くなるおそれがある。このため、見た目に優れた配管固定構造が望まれる。
【0008】
本発明は、このような問題に鑑みてなされたもので、美観に優れた配管固定構造を得ることが可能な配管固定具等を提供することを目的とする。
【課題を解決するための手段】
【0009】
前述した目的を達するために第1の発明は、配管固定具であって、配管を保持する保持部と、前記保持部を設置対象に固定する固定部と、を具備し、一対の前記固定部が、前記保持部に対して、保持される配管の軸方向にそれぞれ突出するように配置され、前記保持部に配管が保持された際に、配管によって、前記固定部が隠れるように配管を保持することが可能であることを特徴とする配管固定具である。
【0010】
配管固定具の底面において、前記固定部と、一対の前記固定部の併設方向に直交する前記保持部の幅方向の両端部近傍が、他の部位と比較して、設置対象方向に向けて突出していてもよい。
(【0011】以降は省略されています)
この特許をJ-PlatPat(特許庁公式サイト)で参照する
関連特許
個人
鍋虫ねじ
1か月前
個人
回転伝達機構
2か月前
個人
ホース保持具
5か月前
個人
紛体用仕切弁
1か月前
個人
差動歯車用歯形
3か月前
個人
トーションバー
6か月前
個人
ジョイント
22日前
個人
給排気装置
4日前
個人
地震の揺れ回避装置
2か月前
個人
ナット
23日前
株式会社不二工機
電磁弁
4か月前
個人
ボルトナットセット
6か月前
株式会社不二工機
電磁弁
3か月前
個人
吐出量監視装置
1か月前
カヤバ株式会社
緩衝器
7か月前
カヤバ株式会社
緩衝器
3日前
柿沼金属精機株式会社
分岐管
1か月前
株式会社三協丸筒
枠体
6か月前
カヤバ株式会社
緩衝器
3か月前
カヤバ株式会社
ダンパ
3か月前
カヤバ株式会社
ダンパ
3か月前
カヤバ株式会社
緩衝器
3か月前
株式会社ニフコ
クリップ
8日前
株式会社フジキン
ボールバルブ
4か月前
株式会社ノーリツ
分配弁
5か月前
日東電工株式会社
断熱材
5か月前
株式会社ノーリツ
分配弁
5か月前
株式会社ノーリツ
分配弁
5か月前
日東精工株式会社
樹脂被覆ねじ
7か月前
株式会社奥村組
制振機構
12日前
株式会社不二工機
電動弁
6か月前
株式会社ノーリツ
分配弁
8日前
株式会社不二工機
電磁弁
1か月前
アズビル株式会社
回転弁
16日前
個人
固着具と固着具の固定方法
4か月前
株式会社奥村組
制振機構
12日前
続きを見る
他の特許を見る