TOP
|
特許
|
意匠
|
商標
特許ウォッチ
Twitter
他の特許を見る
10個以上の画像は省略されています。
公開番号
2025151200
公報種別
公開特許公報(A)
公開日
2025-10-09
出願番号
2024052506
出願日
2024-03-27
発明の名称
液体噴射ヘッド及び液体噴射装置
出願人
セイコーエプソン株式会社
代理人
個人
,
個人
主分類
B41J
2/01 20060101AFI20251002BHJP(印刷;線画機;タイプライター;スタンプ)
要約
【課題】カバーの変形を容易に検出して液体噴射ヘッドの異常を検出できる液体噴射ヘッド及び液体噴射装置を提供する。
【解決手段】液体を噴射する第1ヘッドチップHcと、第1面162と、前記第1面162とは反対方向を向く面であって前記第1ヘッドチップHcが固定された第2面163と、を有するカバー160と、前記カバー160の変形を検出するための第1検出素子200と、を備える。
【選択図】図7
特許請求の範囲
【請求項1】
液体を噴射する第1ヘッドチップと、
第1面と、前記第1面とは反対方向を向く面であって前記第1ヘッドチップが固定された第2面と、を有するカバーと、
前記カバーの変形を検出するための第1検出素子と、
を備える、
ことを特徴とする液体噴射ヘッド。
続きを表示(約 1,000 文字)
【請求項2】
前記第1検出素子は、前記カバーに配置される、
ことを特徴とする請求項1に記載の液体噴射ヘッド。
【請求項3】
前記第1検出素子は、前記カバーの前記第2面に配置される、
ことを特徴とする請求項2に記載の液体噴射ヘッド。
【請求項4】
前記カバーとの間で前記第1ヘッドチップを保持し、前記第2面に固定された壁部を有するホルダーを備える、
ことを特徴とする請求項1に記載の液体噴射ヘッド。
【請求項5】
前記第1検出素子は、前記カバーに配置され、
前記第1検出素子の少なくとも一部は、前記カバーのうち前記壁部が固定された第1領域から外れた領域に配置されている、
ことを特徴とする請求項4に記載の液体噴射ヘッド。
【請求項6】
前記カバーは、前記第1ヘッドチップが固定された第2領域と、前記第1領域と前記第2領域との間の第3領域とを含み、
前記第1検出素子の少なくとも一部は、前記第3領域に配置されている、
ことを特徴とする請求項5に記載の液体噴射ヘッド。
【請求項7】
前記第1検出素子は、前記第3領域のうち前記第1ヘッドチップの長手方向に沿う部分に配置されている、
ことを特徴とする請求項6に記載の液体噴射ヘッド。
【請求項8】
前記第1検出素子は、前記第1ヘッドチップの長手方向に沿って配置されている、
ことを特徴とする請求項1に記載の液体噴射ヘッド。
【請求項9】
液体を噴射する第2ヘッドチップと、
前記第2面に配置されるとともに前記カバーの変形を検出するための第2検出素子と、
を備える、
ことを特徴とする請求項3に記載の液体噴射ヘッド。
【請求項10】
前記カバーとの間で前記第1ヘッドチップおよび前記第2ヘッドチップを保持し、前記第2面に固定された壁部を有するホルダーを備え、
前記第1ヘッドチップおよび前記第1検出素子は、前記壁部によって画定された第1収容空間に収容され、
前記第2ヘッドチップおよび前記第2検出素子は、前記第1収容空間とは区画された、前記壁部によって画定された第2収容空間に収容される、
ことを特徴とする請求項9に記載の液体噴射ヘッド。
(【請求項11】以降は省略されています)
発明の詳細な説明
【技術分野】
【0001】
本発明は、液体を噴射するヘッドチップを具備する液体噴射ヘッド及び液体噴射装置に関する。
続きを表示(約 1,600 文字)
【背景技術】
【0002】
従来、インクジェット方式のプリンターに代表されるように、インク等の液体を噴射する液体噴射ヘッドを具備する液体噴射装置が知られている。
【0003】
液体噴射ヘッドは、液滴を噴射する複数のノズルを有するヘッドチップと、ヘッドチップを保持するホルダーと、ヘッドチップの液滴吐出面側を保護するカバー(固定板)とを、を具備する(例えば、特許文献1参照)。
【先行技術文献】
【特許文献】
【0004】
特開2022-42753号公報
【発明の概要】
【発明が解決しようとする課題】
【0005】
しかしながら、媒体がカバーに衝突すること等に起因してカバーが変形してしまい、印字不良を引き起こしてしまう虞がある。このため、カバーの変形を検出することが望まれている。
【課題を解決するための手段】
【0006】
上記課題を解決する本発明の態様は、液体を噴射する第1ヘッドチップと、第1面と、前記第1面とは反対方向を向く面であって前記第1ヘッドチップが固定された第2面と、を有するカバーと、前記カバーの変形を検出するための第1検出素子と、を備えることを特徴とする液体噴射ヘッドにある。
【0007】
また、本発明の他の態様は、態様1に記載の液体噴射ヘッドと、前記第1検出素子からの検出信号に基づいて、前記液体噴射ヘッドに異常が生じている旨を使用者に報知するための報知部と、備えることを特徴とする液体噴射装置にある。
【図面の簡単な説明】
【0008】
実施形態1に係る液体噴射装置の外観を示す斜視図である。
実施形態1に係る液体噴射装置の概略構成を示す図である。
実施形態1に係る液体噴射ヘッドの分解斜視図である。
実施形態1に係る液体噴射ヘッドの分解斜視図である。
実施形態1に係る液体噴射ヘッドの一部の平面図である。
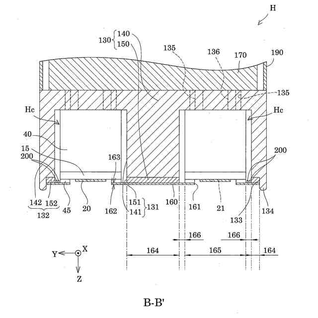
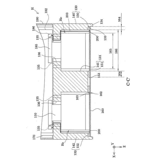
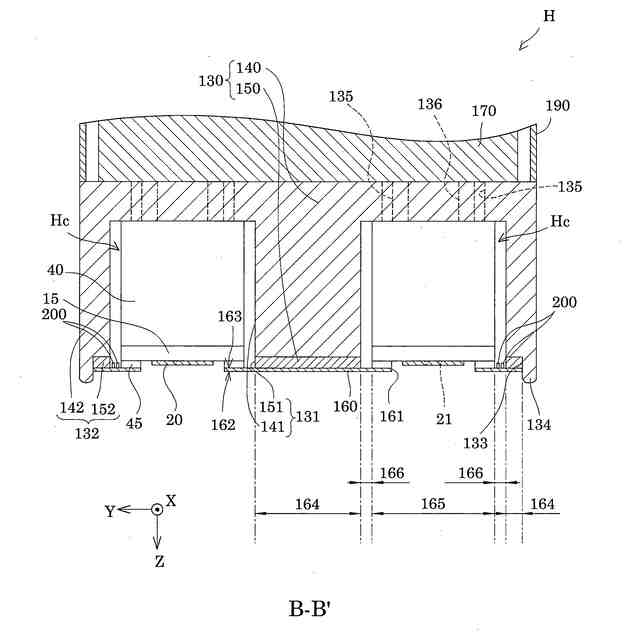
実施形態1に係る液体噴射ヘッドの要部断面図である。
実施形態1に係る液体噴射ヘッドの要部断面図である。
実施形態1に係る液体噴射ヘッドの要部断面図である。
実施形態1に係るカバーの平面図である。
実施形態1に係るヘッドチップの断面図である。
実施形態1に係る液体噴射装置の電気的構成を示すブロック図である。
実施形態1に係る機能実現部を説明するブロック図である。
カバーの変位と検出素子が出力する電圧との関係を示すグラフである。
実施形態2に係るカバーの平面図である。
液体噴射ヘッドの変形例を示す要部断面図である。
液体噴射ヘッドの変形例を示す要部拡大断面図である。
液体噴射ヘッドの変形例を示す要部断面図である。
【発明を実施するための形態】
【0009】
以下に本発明を実施形態に基づいて詳細に説明する。ただし、以下の説明は、本発明の一態様を示すものであって、本発明の範囲内で任意に変更可能である。各図において同じ符号を付したものは、同一の部材を示しており、適宜説明が省略されている。また、各図においてX、Y、Zは、互いに直交する3つの空間軸を表している。本明細書では、これらの軸に沿った方向をX方向、Y方向、及びZ方向とする。各図の矢印が向かう方向を正(+)方向、矢印の反対方向を負(-)方向として説明する。また、Z方向は、鉛直方向を示し、+Z方向は鉛直下向き、-Z方向は鉛直上向きを示す。さらに、正方向及び負方向を限定しない3つの空間軸の方向については、X軸方向、Y軸方向、Z軸方向として説明する。
【0010】
(実施形態1)
図1は、本発明の実施形態1に係る液体噴射装置1の外観図である。図2は、液体噴射装置1の概略構成を示す図である。
(【0011】以降は省略されています)
この特許をJ-PlatPat(特許庁公式サイト)で参照する
関連特許
個人
箔熱転写装置
1か月前
シヤチハタ株式会社
印判
4か月前
東レ株式会社
凸版印刷版原版
10か月前
シヤチハタ株式会社
反転式印判
9か月前
三菱製紙株式会社
感熱記録材料
10か月前
三光株式会社
感熱記録材料
6か月前
キヤノン株式会社
記録装置
23日前
独立行政法人 国立印刷局
印刷物
7か月前
独立行政法人 国立印刷局
貼付機構
1か月前
株式会社リコー
画像形成装置
1か月前
日本製紙株式会社
感熱記録体
7か月前
株式会社リコー
液体吐出装置
7か月前
株式会社リコー
液体吐出装置
7か月前
株式会社リコー
液体吐出装置
4か月前
株式会社リコー
液体吐出装置
8か月前
独立行政法人 国立印刷局
貼付装置
1か月前
株式会社リコー
液体吐出装置
5か月前
独立行政法人 国立印刷局
記録媒体
8か月前
株式会社リコー
液体吐出装置
5か月前
株式会社リコー
液体吐出装置
1か月前
株式会社リコー
画像形成装置
7日前
株式会社リコー
液体吐出装置
4か月前
株式会社リコー
画像形成装置
11日前
株式会社リコー
印刷システム
11日前
ブラザー工業株式会社
プリンタ
6か月前
ブラザー工業株式会社
プリンタ
6か月前
理想科学工業株式会社
印刷装置
6か月前
フジコピアン株式会社
熱転写記録媒体
11か月前
独立行政法人 国立印刷局
潜像形成体
7日前
理想科学工業株式会社
印刷装置
15日前
キヤノン株式会社
情報処理装置
9か月前
ブラザー工業株式会社
プリンタ
8か月前
キヤノン株式会社
印刷制御装置
10か月前
独立行政法人 国立印刷局
潜像印刷物
1か月前
キヤノン株式会社
画像処理装置
4か月前
ブラザー工業株式会社
プリンタ
1か月前
続きを見る
他の特許を見る