TOP
|
特許
|
意匠
|
商標
特許ウォッチ
Twitter
他の特許を見る
公開番号
2025151231
公報種別
公開特許公報(A)
公開日
2025-10-09
出願番号
2024052555
出願日
2024-03-27
発明の名称
推定装置、及び、推定方法
出願人
国立大学法人東北大学
代理人
個人
主分類
G01N
21/3581 20140101AFI20251002BHJP(測定;試験)
要約
【課題】固形廃棄物を構成する材料を高い精度にて推定することが可能な推定装置を提供すること。
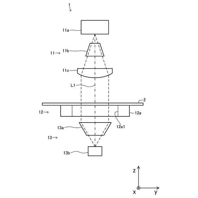
【解決手段】推定装置1は、固形廃棄物2を構成する材料を推定する。推定装置1は、10[GHz]乃至10[THz]の周波数を有する電磁波を生成し、生成された電磁波を入射方向にて固形廃棄物へ入射させる入射部11と、入射部11の固形廃棄物2に対する入射方向回りの回転角度を変更する変更部12と、回転角度が互いに異なる複数の回転角度状態のそれぞれにて電磁波が固形廃棄物2へ入射することによって固形廃棄物2から出射された電磁波を検出する検出部13と、複数の回転角度状態のそれぞれにて検出された電磁波の強度に基づいて、固形廃棄物2を構成する材料を推定する推定部15と、を備える。
【選択図】図1
特許請求の範囲
【請求項1】
固形廃棄物を構成する材料を推定する推定装置であって、
10[GHz]乃至10[THz]の周波数を有する電磁波を生成し、前記生成された電磁波を入射方向にて前記固形廃棄物へ入射させる入射部と、
前記入射部の前記固形廃棄物に対する前記入射方向回りの回転角度を変更する変更部と、
前記回転角度が互いに異なる複数の回転角度状態のそれぞれにて前記電磁波が前記固形廃棄物へ入射することによって前記固形廃棄物から出射された電磁波を検出する検出部と、
前記複数の回転角度状態のそれぞれにて検出された電磁波の強度に基づいて前記材料を推定する推定部と、
を備える、推定装置。
続きを表示(約 1,000 文字)
【請求項2】
請求項1に記載の推定装置であって、
前記変更部は、前記固形廃棄物が載置され且つ前記入射方向にて貫通する穴を中央部に有するとともに、前記入射方向回りに回動可能に支持される載置台を備え、
前記検出部は、前記穴、又は、前記穴の鉛直下方の領域にて前記電磁波を検出する、推定装置。
【請求項3】
請求項1又は請求項2に記載の推定装置であって、
前記推定部は、前記電磁波の強度が前記複数の回転角度状態に対して平均された値に基づいて前記材料を推定する、推定装置。
【請求項4】
請求項1又は請求項2に記載の推定装置であって、
前記推定部は、前記電磁波の強度が前記複数の回転角度状態に対して分散する程度を表す分散パラメータに基づいて前記材料を推定する、推定装置。
【請求項5】
請求項4に記載の推定装置であって、
前記分散パラメータは、前記電磁波の強度が前記複数の回転角度状態に対して分散する程度が大きくなるほど大きくなり、
前記推定部は、前記固形廃棄物に対する前記分散パラメータが閾値よりも小さい場合、前記材料がマテリアルリサイクルの処理対象であるマテリアルリサイクル用材料であることを推定し、一方、前記固形廃棄物に対する前記分散パラメータが前記閾値よりも大きい場合、前記材料がケミカルリサイクルの処理対象であるケミカルリサイクル用材料であることを推定する、推定装置。
【請求項6】
固形廃棄物を構成する材料を推定する推定方法であって、
入射部が、10[GHz]乃至10[THz]の周波数を有する電磁波を生成し、前記生成された電磁波を入射方向にて前記固形廃棄物へ入射させる入射工程と、
前記電磁波が前記固形廃棄物へ入射することによって前記固形廃棄物から出射された電磁波を検出する検出工程と、
前記入射部の前記固形廃棄物に対する前記入射方向回りの回転角度を変更する変更工程と、
を順次に繰り返し実行することにより、前記回転角度が互いに異なる複数の回転角度状態のそれぞれにて前記電磁波が前記固形廃棄物へ入射することによって前記固形廃棄物から出射された電磁波を検出し、
前記複数の回転角度状態のそれぞれにて検出された電磁波の強度に基づいて前記材料を推定する、
ことを含む、推定方法。
発明の詳細な説明
【技術分野】
【0001】
本発明は、推定装置、及び、推定方法に関する。
続きを表示(約 2,000 文字)
【背景技術】
【0002】
固形廃棄物(例えば、使用済みのアクリル板、又は、廃棄プラスチック等)は、固形廃棄物を構成する材料に基づいて選別され、材料毎に再利用される。従って、例えば、固形廃棄物から材料を生成することにより固形廃棄物が再利用される場合、固形廃棄物の選別が高い精度にて行われれば、生成される材料の純度を高めることができる。
【0003】
このため、固形廃棄物を構成する材料を推定する推定装置が知られている。例えば、特許文献1に記載の推定装置は、10GHz乃至10THzの周波数を有する電磁波を生成し、生成された電磁波を入射方向にて固形廃棄物へ入射させる入射部を備える。更に、推定装置は、電磁波が固形廃棄物へ入射することによって固形廃棄物から出射された電磁波を検出する検出部を備える。加えて、推定装置は、検出された電磁波の強度に基づいて、固形廃棄物を構成する材料を推定する推定部を備える。
【先行技術文献】
【特許文献】
【0004】
特開2021-120625号公報
【発明の概要】
【発明が解決しようとする課題】
【0005】
ところで、本願の発明者らは、鋭意検討の結果、入射部の固形廃棄物に対する入射方向回りの回転角度に応じて、検出される電磁波の強度が比較的大きく変動する場合があることを見出した。しかしながら、上記推定装置においては、当該回転角度の変化に伴う電磁波の強度の変化を、固形廃棄物を構成する材料の推定に高い精度にて反映できない。このため、上記推定装置においては、固形廃棄物を構成する材料の推定に対する精度が過度に低くなる虞があった。
【0006】
本発明の目的の一つは、固形廃棄物を構成する材料を高い精度にて推定することである。
【課題を解決するための手段】
【0007】
一つの側面では、推定装置は、固形廃棄物を構成する材料を推定する。
推定装置は、入射部と、変更部と、検出部と、推定部と、を備える。
入射部は、10[GHz]乃至10[THz]の周波数を有する電磁波を生成し、生成された電磁波を入射方向にて固形廃棄物へ入射させる。
変更部は、入射部の固形廃棄物に対する入射方向回りの回転角度を変更する。
検出部は、回転角度が互いに異なる複数の回転角度状態のそれぞれにて電磁波が固形廃棄物へ入射することによって固形廃棄物から出射された電磁波を検出する。
推定部は、複数の回転角度状態のそれぞれにて検出された電磁波の強度に基づいて、固形廃棄物を構成する材料を推定する。
【0008】
他の一つの側面では、推定方法は、固形廃棄物を構成する材料を推定する。
推定方法は、
入射部が、10[GHz]乃至10[THz]の周波数を有する電磁波を生成し、生成された電磁波を入射方向にて固形廃棄物へ入射させる入射工程と、
電磁波が固形廃棄物へ入射することによって固形廃棄物から出射された電磁波を検出する検出工程と、
入射部の固形廃棄物に対する入射方向回りの回転角度を変更する変更工程と、
を順次に繰り返し実行することにより、回転角度が互いに異なる複数の回転角度状態のそれぞれにて電磁波が固形廃棄物へ入射することによって固形廃棄物から出射された電磁波を検出し、
複数の回転角度状態のそれぞれにて検出された電磁波の強度に基づいて材料を推定する、
ことを含む。
【発明の効果】
【0009】
固形廃棄物を構成する材料を高い精度にて推定することができる。
【図面の簡単な説明】
【0010】
第1実施形態の推定装置の構成を概念的に表すブロック図である。
第1実施形態の推定装置の、入射部、変更部、及び、検出部の構成を表す図である。
第1実施形態の推定装置の、固形廃棄物、載置台、及び、第2絞り部を鉛直上方から見た図である。
第1実施形態の変形例の推定装置の、入射部、変更部、及び、検出部の構成を表す図である。
固形廃棄物がアクリル板である場合における、回転角度に対する透過率の変化を表すグラフである。
固形廃棄物が種々のアクリル板である場合における平均透過率を表すグラフである。
固形廃棄物が種々のプラスチック板である場合における、回転角度に対する透過率の変化を表すグラフである。
固形廃棄物が種々のプラスチック板である場合における平均透過率を表すグラフである。
【発明を実施するための形態】
(【0011】以降は省略されています)
特許ウォッチbot のツイートを見る
この特許をJ-PlatPat(特許庁公式サイト)で参照する
関連特許
国立大学法人東北大学
重金属の不溶化方法
9日前
国立大学法人東北大学
駆動装置及び移動体
2日前
国立大学法人東北大学
推定装置、及び、推定方法
2日前
国立大学法人東北大学
推定装置、及び、推定方法
2日前
富士産業株式会社
骨格筋分化促進剤
9日前
株式会社C&A
柱状構造体の作製方法
8日前
住友金属鉱山株式会社
銅精鉱の製錬方法
4日前
住友金属鉱山株式会社
銅精鉱の製錬方法
4日前
国立大学法人東北大学
空間光変調素子、ホログラフィ立体表示装置
4日前
株式会社タムラ製作所
パワー半導体モジュール
2日前
国立大学法人東北大学
二酸化炭素の固定利用方法及び固定利用システム
1日前
株式会社ジーシーMfg
歯科用重合性覆髄材組成物
3日前
国立大学法人東北大学
腎機能の予後予測及び/又はモニタリングのバイオマーカー
2日前
DOWAホールディングス株式会社
シミュレーション装置及びプログラム
1日前
住友金属鉱山株式会社
可燃性粉末の反応挙動評価方法及び反応挙動評価装置
4日前
株式会社不動テトラ
地盤強度推定装置、地盤強度推定システム、及び地盤強度推定方法
2日前
DOWAホールディングス株式会社
扁平化予測方法、扁平化予測装置、及びプログラム
1日前
国立大学法人東京科学大学
燃料デブリの固化方法および固化体
12日前
信越化学工業株式会社
インプリントモールドおよびその製造方法
8日前
コニカミノルタ株式会社
発光性粒子、標識用発光性粒子、発光性粒子の製造方法、評価方法、酸素濃度評価方法及び活性度評価方法
12日前
株式会社豊田中央研究所
推定モデル生成装置、推定モデル生成方法、推定モデル生成プログラム、推定装置、推定方法、及び推定プログラム
4日前
国立大学法人東京科学大学
リン酸カルシウム-炭素原子-酸化ジルコニウム複合体、修復材料、医療機器、リン酸カルシウム-炭素原子-酸化ジルコニウム複合体の製造方法
3日前
個人
メジャー文具
4日前
ユニパルス株式会社
ロードセル
3日前
日本精機株式会社
位置検出装置
10日前
日本精機株式会社
位置検出装置
10日前
日本精機株式会社
位置検出装置
10日前
大和製衡株式会社
組合せ秤
15日前
大和製衡株式会社
組合せ秤
15日前
アズビル株式会社
圧力センサ
9日前
株式会社ヨコオ
ソケット
2日前
株式会社東芝
センサ
15日前
株式会社東芝
センサ
15日前
エイブリック株式会社
磁気センサ回路
9日前
株式会社ユーシン
操作検出装置
12日前
株式会社ヨコオ
ソケット
3日前
続きを見る
他の特許を見る