TOP
|
特許
|
意匠
|
商標
特許ウォッチ
Twitter
他の特許を見る
10個以上の画像は省略されています。
公開番号
2025140997
公報種別
公開特許公報(A)
公開日
2025-09-29
出願番号
2024040684
出願日
2024-03-15
発明の名称
燃料デブリの固化方法および固化体
出願人
国立大学法人東京科学大学
,
学校法人加計学園
,
学校法人五島育英会
,
国立大学法人東北大学
代理人
個人
,
個人
,
個人
,
個人
,
個人
,
個人
主分類
G21F
9/30 20060101AFI20250919BHJP(核物理;核工学)
要約
【課題】長期に渡って安全が確保されるよう、燃料デブリを安定な形態に処理することを目的とする。
【解決手段】本発明に係る燃料デブリの固化方法は、粉砕された燃料デブリと、Ca,Zr,Ti,FeおよびAlを含む酸化物試薬の粉末を混合する混合工程(S2)と、混合工程で得られた混合物を焼成する焼成工程(S4)を備え、燃料デブリの構成元素を結晶格子の構成元素として含み、蛍石型構造関連構造を有するチタン酸塩鉱物系の固化体を形成する。
【選択図】図1
特許請求の範囲
【請求項1】
粉砕された燃料デブリと、Ca,Zr,Ti,FeおよびAlを含む酸化物試薬の粉末を混合する混合工程と、
前記混合工程で得られた混合物を焼成する焼成工程
を備え、前記燃料デブリの構成元素を結晶格子の構成元素として含み、蛍石型構造関連構造を有するチタン酸塩鉱物系の固化体を形成する燃料デブリの固化方法。
続きを表示(約 1,000 文字)
【請求項2】
前記酸化物試薬は、カルシウム酸化物,ジルコニウム酸化物,チタン酸化物,鉄酸化物およびアルミニウム酸化物の混合粉末であり、
前記酸化物試薬と燃料デブリに含まれるイオン構成比が、Ca:Zr(および前記燃料デブリに含まれる放射性核種):Ti:Fe:Al=14.1:14.2:23.1:33.9:14.7(mol)となるように前記酸化物試薬を配合する請求項1に記載の燃料デブリの固化方法。
【請求項3】
前記酸化物試薬は、カルシウム酸化物,ジルコニウム酸化物,マンガン酸化物,チタン酸化物,鉄酸化物およびアルミニウム酸化物の混合粉末であり、
前記酸化物試薬と燃料デブリに含まれるイオン構成比が、Ca:Zr(および前記燃料デブリに含まれる放射性核種):Mn:Ti:Fe:Al=12.5:10.2:8.2:29.8:24.0:15.3(mol)となるように前記酸化物試薬を配合する請求項1に記載の燃料デブリの固化方法。
【請求項4】
前記焼成工程は、大気雰囲気下、1200℃以上1400℃以下で実施される請求項1に記載の燃料デブリの固化方法。
【請求項5】
前記焼成工程の前に、前記混合物を圧縮成形する成形工程を含む請求項1に記載の燃料デブリの固化方法。
【請求項6】
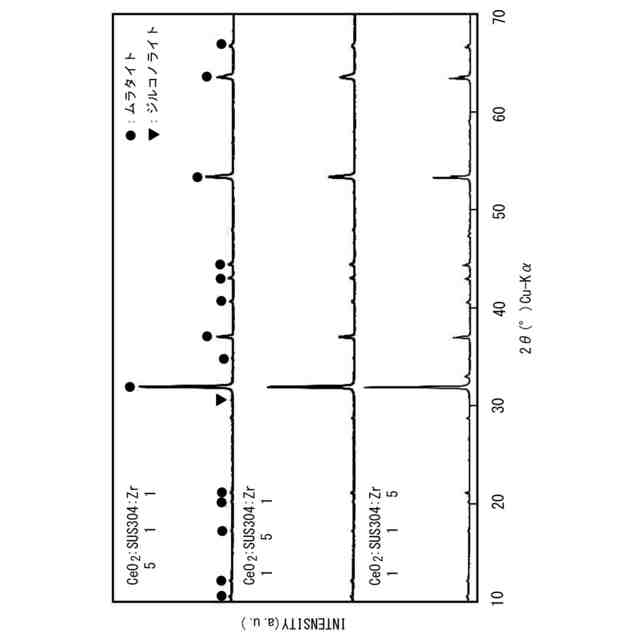
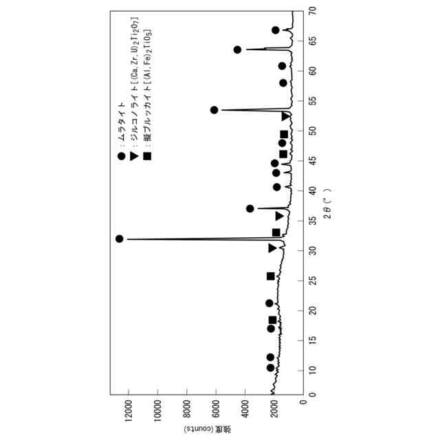
前記結晶格子の構造が、ジルコノライトおよびムラタイトからなる群から選択される少なくとも1種である請求項1に記載の燃料デブリの固化方法。
【請求項7】
前記混合物は、前記燃料デブリを0重量%超20重量%以下含む請求項1に記載の燃料デブリの固化方法。
【請求項8】
Ca,Zr,Ti,FeおよびAlを含み、
一般式:A
x
B
12
C
4
DO
42
で表され、 式中、前記Aは、Ca,MnおよびZrからなる群から選択される少なくも一種の元素およびUであり、
前記Bは、Ti,Fe,CrおよびNiからなる群から選択される少なくも一種の元素であり、
前記Cは、Ti,Fe,Al,CrおよびNiからなる群から選択される少なくも一種の元素であり、
前記Dは、Al,およびFeからなる群から選択される少なくも一種の元素であり、
前記xは、7.9~10である
蛍石型構造関連構造を有する固化体。
発明の詳細な説明
【技術分野】
【0001】
本発明は、燃料デブリの固化方法および固化体に関するものである。
続きを表示(約 1,100 文字)
【背景技術】
【0002】
原子力発電所において事故が発生し、核燃料の冷却機能が失われた場合、核燃料が溶けて、さらに炉心を構成する部材の一部も溶ける。これらの溶けた物質は、混ざり合って原子炉圧力容器の下に落下(メルトダウン)し、状況によっては圧力容器底部を貫通して原子炉格納容器内に落下(メルトスルー)する。これら溶けた物質が最終的に冷えて固まったものを燃料デブリと呼ぶ。福島第一原子力発電所事故でも燃料デブリが発生しているため、この燃料デブリの処理方法の開発が求められている。
【0003】
燃料デブリは、核燃料物質や核分裂生成物などの放射性物質を含む。そのため、燃料デブリは、数万年~数十万年という長期に渡って安定性が保たれるような廃棄体とした後に、同じく長期に渡って安全が確保されるよう処分することが必要である。例えば、安定な形態(固化体)に処理した後、最終的には地層処分することが考えられる。
【0004】
特許文献1では、燃料デブリをガラス固化体にして、処理する方法を開示している。特許文献1では、燃料デブリをあらかじめフッ化処理した後、フッ化残渣を酸化物に転換してからガラス固化させる。
【0005】
また、長期的観点から、ガラス固化体に替わる安定な代替固化法の研究も必要とされている。その有力な候補の一つにチタン酸塩鉱物が主体のシンロックと呼ばれる人工岩石に固化する方法がある。
【先行技術文献】
【特許文献】
【0006】
特開2023-110249号公報
【発明の概要】
【発明が解決しようとする課題】
【0007】
ガラス固化する方法では、廃棄物とガラス母材とを高温で溶解し冷却固化する必要がある。
【0008】
人工岩石に固化する方法は、これまで、高レベルの放射性廃液の固化技術として報告されている。しかしながら、燃料デブリの処理に利用する技術としては報告されていない。
【0009】
福島第一原子力発電所における燃料デブリには主に核燃料物質、被覆管材料および構造材が含まれる。そのため、被覆管材料および構造材由来のZrおよびFeを豊富に固溶可能なチタン酸塩鉱物結晶が形成されるように、最適な化学組成や固化条件を模索する必要がある。
【0010】
本発明は、このような事情に鑑みてなされたものであって、燃料デブリを安定な形態に処理するための固化方法および固化体を提供することを目的とする。
【課題を解決するための手段】
(【0011】以降は省略されています)
この特許をJ-PlatPat(特許庁公式サイト)で参照する
関連特許
国立大学法人東京科学大学
クリーム
2か月前
国立大学法人東京科学大学
通信装置
4日前
国立大学法人東京科学大学
伝送回路
5か月前
国立大学法人東京科学大学
バラン回路
4日前
国立大学法人東京科学大学
電波吸収体
1か月前
国立大学法人東京科学大学
非線形回路
4日前
国立大学法人東京科学大学
電波吸収体
1か月前
国立大学法人東京科学大学
半導体装置
23日前
国立大学法人東京科学大学
半導体装置
1か月前
国立大学法人東京科学大学
超音波照射器
5か月前
国立大学法人東京科学大学
制御システム
1か月前
国立大学法人東京科学大学
チューニング装置
4日前
国立大学法人東京科学大学
光化学センサ装置
22日前
国立大学法人東京科学大学
慢性腎臓病の検査方法
5か月前
国立大学法人東京科学大学
情報処理方法及びプログラム
4日前
国立大学法人東京科学大学
積層造形樹脂部品嵌合接合体
2か月前
NTT株式会社
光デバイス
22日前
国立大学法人東京科学大学
歯科医療用部材とその製造方法
3か月前
国立大学法人東京科学大学
複合酸化物パターンの形成方法
16日前
国立大学法人東京科学大学
半導体装置および半導体チップ
5か月前
国立大学法人東京科学大学
食品に曵糸性を付与する乳酸菌
3か月前
国立大学法人東京科学大学
ヌクレオシド三リン酸の製造方法
4か月前
国立大学法人東京科学大学
歩行改善装置および歩行改善方法
3か月前
国立大学法人東京科学大学
燃料デブリの固化方法および固化体
4日前
国立大学法人東京科学大学
メタン製造方法及びメタン製造装置
3か月前
国立大学法人東京科学大学
振動センサ及び振動数検出システム
4日前
国立大学法人東京科学大学
シミュレーション装置及びプログラム
2か月前
国立大学法人東京科学大学
電波反射特性推定装置及びプログラム
2か月前
国立大学法人東京科学大学
蛍光繊維体及び蛍光繊維体の製造方法
3か月前
スタンレー電気株式会社
有機半導体装置
4か月前
三浦工業株式会社
過酸化水素の除去方法
4か月前
国立大学法人東京科学大学
受信アンテナ装置、及び送信アンテナ装置
2か月前
株式会社ジャパンディスプレイ
検出装置
5か月前
三菱ケミカル株式会社
ポリエステル樹脂
5か月前
トヨタ自動車株式会社
フッ化物イオン電池
今日
国立大学法人東京科学大学
強磁性材料、薄膜及び強磁性材料の製造方法
1か月前
続きを見る
他の特許を見る