TOP
|
特許
|
意匠
|
商標
特許ウォッチ
Twitter
他の特許を見る
公開番号
2025151720
公報種別
公開特許公報(A)
公開日
2025-10-09
出願番号
2024053278
出願日
2024-03-28
発明の名称
パワー半導体モジュール
出願人
株式会社タムラ製作所
,
国立大学法人東北大学
代理人
弁理士法人樹之下知的財産事務所
主分類
H01L
25/07 20060101AFI20251002BHJP(基本的電気素子)
要約
【課題】絶縁破壊を防止できるパワー半導体モジュールを提供すること。
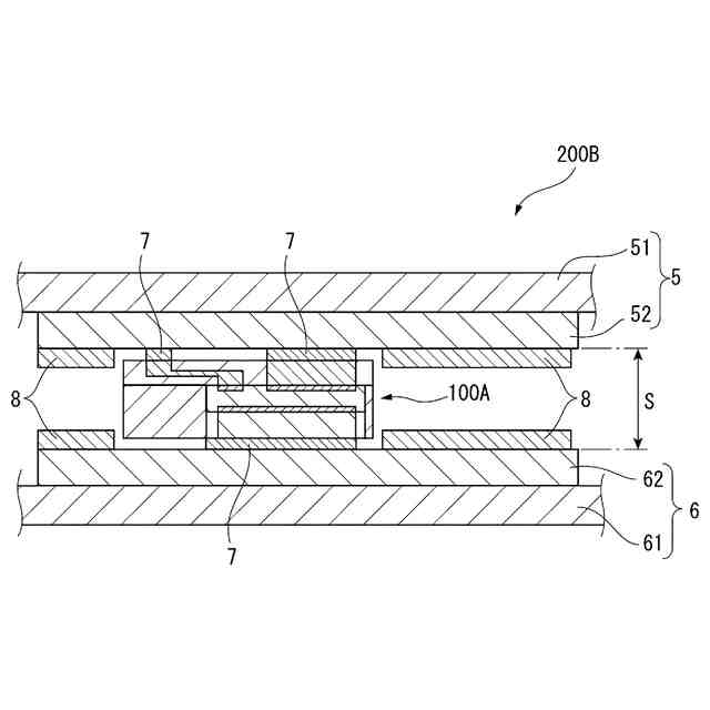
【解決手段】2枚の配線基板5,6と、2枚の配線基板5,6の間に、配線52,62同士を接続するように設けられているパワー半導体素子100Aと、を備え、パワー半導体素子100Aが、第一面1aに、第一電極11および第二電極12を備え、第二面1bに、第三電極14を備えるパワー半導体チップ1と、パワー半導体チップ1の第一面1aに、第一電極11と導通し得るように設けられている第一導通部21と、第二電極12と導通し得るように設けられ、平面視において、パワー半導体チップ1の外周縁から外側に張り出した部分を有する第二導通部22と、第一導通部21および第二導通部22を包み込む第一絶縁層23と、を備える第一接続部材2と、を備え、2枚の配線基板5,6の配線52,62のうちの少なくとも一方に、絶縁膜8が設けられている、パワー半導体モジュール200。
【選択図】図4
特許請求の範囲
【請求項1】
それぞれ基材および配線を備える、2枚の配線基板と、
2枚の前記配線基板の間に、前記配線同士を接続するように設けられているパワー半導体素子と、を備えるパワー半導体モジュールであって、
前記パワー半導体素子が、
第一面に、第一電極および第二電極を備え、前記第一面の反対側の第二面に、第三電極を備えるパワー半導体チップと、
前記パワー半導体チップの前記第一面に、前記第一電極と導通し得るように設けられている第一導通部と、前記第二電極と導通し得るように設けられ、平面視において、前記パワー半導体チップの外周縁から外側に張り出した部分を有する第二導通部と、前記第一導通部および前記第二導通部を包み込む第一絶縁層と、を備える第一接続部材と、を備え、
2枚の前記配線基板の前記配線のうちの少なくとも一方に、絶縁膜が設けられている、
パワー半導体モジュール。
続きを表示(約 830 文字)
【請求項2】
請求項1に記載のパワー半導体モジュールにおいて、
前記パワー半導体素子が、
前記パワー半導体チップの前記第二面に、前記第三電極と導通し得るように設けられている第三導通部と、前記第三導通部を包み込む第二絶縁層と、を備える第二接続部材と、
少なくとも前記パワー半導体チップを包み込む封止樹脂層と、をさらに備える、
パワー半導体モジュール。
【請求項3】
請求項1または請求項2に記載のパワー半導体モジュールにおいて、
2枚の前記配線基板の前記配線のうちの少なくとも一方は、前記配線の一部が凸状となっている凸部を有しており、
前記凸部に、前記パワー半導体素子が配置されている、
パワー半導体モジュール。
【請求項4】
請求項3に記載のパワー半導体モジュールにおいて、
平面視において、前記パワー半導体素子の周縁部と、前記絶縁膜とが重なっている、
パワー半導体モジュール。
【請求項5】
請求項1または請求項2に記載のパワー半導体モジュールにおいて、
前記パワー半導体モジュールが、2枚の前記配線基板の前記配線の一方に、受動部品をさらに備え、
2枚の前記配線基板の前記配線の他方に、前記絶縁膜が設けられている、
パワー半導体モジュール。
【請求項6】
請求項5に記載のパワー半導体モジュールにおいて、
2枚の前記配線基板の前記配線の一方は、前記配線の一部が凹状となっている凹部を有しており、
前記凹部に、前記受動部品が配置されている、
パワー半導体モジュール。
【請求項7】
請求項1または請求項2に記載のパワー半導体モジュールにおいて、
2枚の前記配線基板の前記配線の両方に、前記絶縁膜が設けられている、
パワー半導体モジュール。
発明の詳細な説明
【技術分野】
【0001】
本発明は、パワー半導体モジュールに関する。
続きを表示(約 3,700 文字)
【背景技術】
【0002】
パワー半導体素子は、取り扱う電圧、または電流が大きく、スイッチの機能を備えている半導体素子である。このようなパワー半導体素子をモジュール化したものとして、例えば、特許文献1には、上側と下側にそれぞれ放熱板を備えた両面放熱構造を有するパワー半導体モジュールが開示されている。
また、このようなパワー半導体モジュールに好適に用いることができるパワー半導体素子として、例えば、特許文献2には、第1の面側に第1の電極と第2の電極とを備え、前記第1の面と逆側である第2の面側に第3の電極を備え、前記第1の電極がメインセル領域に設けられたパワー半導体チップと、前記パワー半導体チップの前記第1の面側に前記第1の電極と導通し得るように設けられ、前記パワー半導体チップの外周縁から外側に張り出した張り出し部を有する第4の電極と、を備える、パワー半導体素子が開示されている。
【先行技術文献】
【特許文献】
【0003】
特開2019-85631号公報
特開2023-79124号公報
【発明の概要】
【発明が解決しようとする課題】
【0004】
しかしながら、特許文献2に記載のようなパワー半導体素子を用いて、両面放熱構造を有するパワー半導体モジュールを作製した場合には、次のような問題があることが分かった。すなわち、パワー半導体モジュールの小型化(低背化)が求められている。この場合には、パワー半導体素子を介して向かい合う配線同士の間隔が短くなる。さらに、バッテリー電圧の上昇などの要求もあり、向かい合う配線同士により高い電圧がかかるが、このような場合の絶縁破壊を確実に防止する必要がある。一方で、配線同士の空間を、充填材などで埋めようとしても、内部に泡などが発生しやすく、絶縁破壊を十分に防止できない可能性がある。
【0005】
本発明は、絶縁破壊を防止できるパワー半導体モジュールを提供することを目的とする。
【課題を解決するための手段】
【0006】
本発明によれば、以下に示すパワー半導体モジュールが提供される。
[1] それぞれ基材および配線を備える、2枚の配線基板と、
2枚の前記配線基板の間に、前記配線同士を接続するように設けられているパワー半導体素子と、を備えるパワー半導体モジュールであって、
前記パワー半導体素子が、
第一面に、第一電極および第二電極を備え、前記第一面の反対側の第二面に、第三電極を備えるパワー半導体チップと、
前記パワー半導体チップの前記第一面に、前記第一電極と導通し得るように設けられている第一導通部と、前記第二電極と導通し得るように設けられ、平面視において、前記パワー半導体チップの外周縁から外側に張り出した部分を有する第二導通部と、前記第一導通部および前記第二導通部を包み込む第一絶縁層と、を備える第一接続部材と、を備え、
2枚の前記配線基板の前記配線のうちの少なくとも一方に、絶縁膜が設けられている、
パワー半導体モジュール。
[2] [1]に記載のパワー半導体モジュールにおいて、
前記パワー半導体素子が、
前記パワー半導体チップの前記第二面に、前記第三電極と導通し得るように設けられている第三導通部と、前記第三導通部を包み込む第二絶縁層と、を備える第二接続部材と、
少なくとも前記パワー半導体チップを包み込む封止樹脂層と、をさらに備える、
パワー半導体モジュール。
[3] [1]または[2]に記載のパワー半導体モジュールにおいて、
2枚の前記配線基板の前記配線のうちの少なくとも一方は、前記配線の一部が凸状となっている凸部を有しており、
前記凸部に、前記パワー半導体素子が配置されている、
パワー半導体モジュール。
[4] [3]に記載のパワー半導体モジュールにおいて、
平面視において、前記パワー半導体素子の周縁部と、前記絶縁膜とが重なっている、
パワー半導体モジュール。
[5] [1]~[4]のいずれかに記載のパワー半導体モジュールにおいて、
前記パワー半導体モジュールが、2枚の前記配線基板の前記配線の一方に、受動部品をさらに備え、
2枚の前記配線基板の前記配線の他方に、前記絶縁膜が設けられている、
パワー半導体モジュール。
[6] [5]に記載のパワー半導体モジュールにおいて、
2枚の前記配線基板の前記配線の一方は、前記配線の一部が凹状となっている凹部を有しており、
前記凹部に、前記受動部品が配置されている、
パワー半導体モジュール。
[7] [1]~[6]のいずれかに記載のパワー半導体モジュールにおいて、
2枚の前記配線基板の前記配線の両方に、前記絶縁膜が設けられている、
パワー半導体モジュール。
【発明の効果】
【0007】
本発明の一態様によれば、絶縁破壊を防止できるパワー半導体モジュールを提供できる。
【図面の簡単な説明】
【0008】
本発明の実施形態に用いるパワー半導体素子の一態様を示す概略図である。
図1のII-II断面を示す断面図である。
本発明の実施形態に用いるパワー半導体素子の一態様を示す断面図である。
本発明の第一実施形態に係るパワー半導体モジュールを示す断面図である。
本発明の第二実施形態に係るパワー半導体モジュールを示す断面図である。
本発明の第三実施形態に係るパワー半導体モジュールを示す断面図である。
本発明の第四実施形態に係るパワー半導体モジュールを示す断面図である。
【発明を実施するための形態】
【0009】
[第一実施形態]
以下、本発明について実施形態を例に挙げて、図面に基づいて説明する。本発明は実施形態の内容に限定されない。なお、図面においては、説明を容易にするために拡大または縮小をして図示した部分がある。
【0010】
(パワー半導体素子)
先ず、本実施形態に用いるパワー半導体素子について説明する。
本実施形態に用いるパワー半導体素子100は、図1および図2に示すように、パワー半導体チップ1と、第一接続部材2と、を備えている。
パワー半導体素子100は、1つのパワー半導体チップ1を備えていてもよく、2以上のパワー半導体チップ1を備えていてもよい。
パワー半導体素子100が1つのパワー半導体チップ1を備えている場合、パワー半導体素子100の大きさ(平面面積)は、10mm
2
以上1000mm
2
以下であることが好ましく、20mm
2
以上500mm
2
以下であることがより好ましく、30mm
2
以上150mm
2
以下であることがさらに好ましく、40mm
2
以上80mm
2
以下であることが特に好ましい。また、パワー半導体素子100が2つのパワー半導体チップ1を備えている場合、パワー半導体素子100の大きさは、20mm
2
以上2000mm
2
以下であることが好ましく、40mm
2
以上1000mm
2
以下であることがより好ましく、60mm
2
以上300mm
2
以下であることがさらに好ましく、80mm
2
以上160mm
2
以下であることが特に好ましい。さらに、パワー半導体素子100が3以上のパワー半導体チップ1を備えている場合、パワー半導体素子100の大きさは、1つのパワー半導体チップ1を備えている場合の例を参考にして適宜設定できる。
パワー半導体素子100の厚みは、100μm以上300μm以下であることが好ましく、120μm以上250μm以下であることがより好ましく、150μm以上200μm以下であることが特に好ましい。
本実施形態に係るパワー半導体モジュール200は、前記のように、小型化が求められているため、パワー半導体素子100を介して向かい合う配線同士の間隔が短くなり、絶縁破壊が発生するおそれがある。しかしながら、後述するように、本実施形態に係るパワー半導体モジュール200のような構造であれば、絶縁破壊を防止できる。
(【0011】以降は省略されています)
この特許をJ-PlatPat(特許庁公式サイト)で参照する
関連特許
株式会社タムラ製作所
絶縁材
15日前
株式会社タムラ製作所
搬送加熱装置
14日前
株式会社タムラ製作所
反射材硬化物
14日前
株式会社タムラ製作所
反射材硬化物
14日前
株式会社タムラ製作所
反射材硬化物
14日前
株式会社タムラ製作所
パワー半導体モジュール
15日前
株式会社タムラ製作所
フラックス、ソルダペーストおよびプリント回路基板
14日前
株式会社タムラ製作所
樹脂フィルム、樹脂付き銅箔、多層配線基板、コイル構造体、および磁気デバイス
14日前
株式会社タムラ製作所
感光性樹脂組成物、感光性樹脂組成物の光硬化物及び当該光硬化物を有するプリント配線板
15日前
APB株式会社
蓄電セル
今日
東ソー株式会社
絶縁電線
2日前
日本発條株式会社
積層体
25日前
個人
フレキシブル電気化学素子
14日前
ローム株式会社
半導体装置
21日前
ローム株式会社
半導体装置
23日前
ローム株式会社
半導体装置
23日前
日新イオン機器株式会社
イオン源
10日前
ローム株式会社
半導体装置
23日前
ローム株式会社
半導体装置
16日前
ローム株式会社
半導体装置
1日前
株式会社ユーシン
操作装置
14日前
株式会社ホロン
冷陰極電子源
21日前
株式会社GSユアサ
蓄電設備
14日前
太陽誘電株式会社
全固体電池
21日前
株式会社GSユアサ
蓄電設備
14日前
太陽誘電株式会社
コイル部品
14日前
株式会社GSユアサ
蓄電装置
21日前
オムロン株式会社
電磁継電器
15日前
株式会社GSユアサ
蓄電装置
25日前
個人
半導体パッケージ用ガラス基板
24日前
株式会社ホロン
冷陰極電子源
8日前
サクサ株式会社
電池の固定構造
14日前
ローム株式会社
電子装置
25日前
トヨタ自動車株式会社
バッテリ
15日前
日本特殊陶業株式会社
保持装置
21日前
日本特殊陶業株式会社
保持装置
21日前
続きを見る
他の特許を見る