TOP
|
特許
|
意匠
|
商標
特許ウォッチ
Twitter
他の特許を見る
10個以上の画像は省略されています。
公開番号
2025147465
公報種別
公開特許公報(A)
公開日
2025-10-07
出願番号
2024047720
出願日
2024-03-25
発明の名称
空間光変調素子、ホログラフィ立体表示装置
出願人
国立大学法人東北大学
,
日本放送協会
代理人
弁理士法人よつ葉国際特許事務所
,
個人
,
個人
主分類
G02F
1/13 20060101AFI20250930BHJP(光学)
要約
【課題】微小な画素ピッチでの画素の独立駆動を可能にする。
【解決手段】空間光変調素子は、第1基板と、第1基板に対向して設けられる第2基板と、第1基板と第2基板との間に設けられる液晶層と、を有し、第1基板は該基板表面に、マトリクス状に配置される画素において第1方向に配置された画素の両側に配置された駆動電極と、第1方向に配列した駆動電極の列間に配置された接地電極と、を有する。
【選択図】図3
特許請求の範囲
【請求項1】
第1基板と、前記第1基板に対向して設けられる第2基板と、前記第1基板と前記第2基板との間に設けられる液晶層と、を有し、
前記第1基板は該基板表面に、マトリクス状に配置される画素において第1方向に配置された前記画素の両側に配置された駆動電極と、前記第1方向に配列した前記駆動電極の列間に配置された接地電極と、を有する、
空間光変調素子。
続きを表示(約 450 文字)
【請求項2】
請求項1に記載の空間光変調素子を備え、
前記液晶層を、前記第1方向に配置された前記画素の両側に配置された前記駆動電極間の水平電界で駆動する、
ホログラフィ立体表示装置。
【請求項3】
前記液晶層を、前記第1方向に配置された前記画素の両側に配置された前記駆動電極間の電位差により駆動する、
請求項2に記載のホログラフィ立体表示装置。
【請求項4】
前記液晶層の液晶分子が基板垂直方向に配向された初期配向状態において、前記水平電界によって、前記液晶分子の配向を変化させる、
請求項2または請求項3に記載のホログラフィ立体表示装置。
【請求項5】
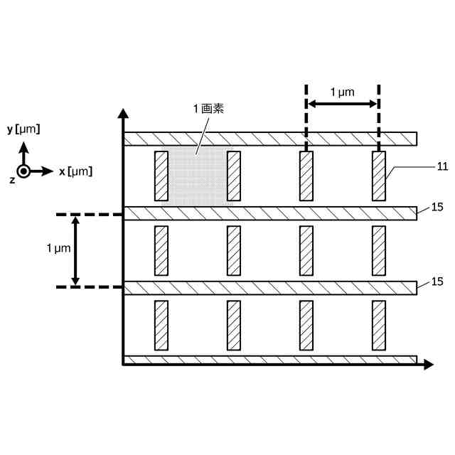
前記画素の前記第1方向の画素ピッチは1μm以下である、
請求項2に記載のホログラフィ立体表示装置。
【請求項6】
前記ホログラフィ立体表示装置の視域角は30°以上である、
請求項2に記載のホログラフィ立体表示装置。
発明の詳細な説明
【技術分野】
【0001】
本発明は、空間光変調素子等に関する。
続きを表示(約 2,100 文字)
【背景技術】
【0002】
3D(立体)ディスプレイは、奥行きを表現できるため、映像を見る人に高い臨場感を与えることができる。3D映画や立体テレビなどのサービス開発が検討されており、次世代のディスプレイとして期待されている。その中でも、電子ホログラフィックディスプレイは、物体光の波面を完全に再現することで、人間の感性に合った自然な立体視を実現することから、次世代の立体表示システムとして注目されている。
【0003】
電子ホログラフィでは、例えば図13に示すように、空間光変調素子(SLM:Spatial Light Modulator、空間光変調器と称してもよい。)と呼ばれる電子デバイスを用いて物体光の波面を再現し、SLMによる光の回折を利用して電子ホログラフィ画像を再現する。変調方式としては、二次元的な光の振幅分布を再現する振幅方式と、光の位相分布を再現する位相方式とが知られており、位相方式は振幅方式に比べて光の利用効率が高く、再生像の観察を妨害する高次回折光を抑制可能であるため、実用化に向けて有用な方式と考えられている。例えば特許文献1には、液晶を用いた空間光変調素子LCOS-SLM(Liquid crystal on silicon-Spatial Light Modulator)に関する技術が開示されている。
【0004】
しかし、電子ホログラフィでは、実用化のために画像を観察できる範囲(視域角)が狭いという課題があり、視域角を広げるため空間光変調素子の高解像度駆動が不可欠である。
図14に、画素ピッチ(μm)と視域角(deg)との関係を示すグラフの一例を示す。視域角はSLMの回折角で決まり、SLMを構成する画素の2次元平面上の大きさである画素ピッチで決まる。
実用化のためには30°以上の視域角が必要であり、このときに満たすべき画素ピッチは1μm以下である。しかし、画素ピッチを1μm以下とする場合、電界の印加に伴う隣接した画素間の電界漏れにより、画素(個別画素)の独立駆動が困難であるという問題がある。
【先行技術文献】
【特許文献】
【0005】
特許第7379262号
【発明の概要】
【発明が解決しようとする課題】
【0006】
本発明は上記課題に鑑みなされたものであり、微小な画素ピッチでの画素の独立駆動を可能にすることを目的の1つとする。
【課題を解決するための手段】
【0007】
本発明の第1の態様によると、空間光変調素子は、第1基板と、第1基板に対向して設けられる第2基板と、第1基板と第2基板との間に設けられる液晶層と、を有し、第1基板は該基板表面に、マトリクス状に配置される画素において第1方向に配置された画素の両側に配置された駆動電極と、第1方向に配列した駆動電極の列間に配置された接地電極と、を有する。
本発明の第2の態様によると、ホログラフィ立体表示装置は、上記の空間光変調素子を備え、液晶層を、第1方向に配置された画素の両側に配置された駆動電極間の水平電界で駆動する。
【発明の効果】
【0008】
本発明によれば、微小な画素ピッチでの画素の独立駆動が可能となる。また、第1方向に配置された画素の両側に配置された駆動電極と、第1方向に配列した駆動電極の列間に配置された接地電極とによって、電界漏れを効果的に抑制することができる。
【図面の簡単な説明】
【0009】
液晶配向方向のシミュレーション結果の一例を示す図。
連続電位差横電界駆動方式の説明図。
空間光変調素子の第1基板の平面概略図。
連続電位差横電界駆動方式のシミュレーション構成と結果の一例を示す図。
単純横電界駆動方式のシミュレーション構成と結果の一例を示す図。
連続電位差横電界駆動方式を適用した場合の実験結果の一例を示す図。
従来の縦電界駆動方式を適用した場合の実験結果の一例を示す図。
画素の独立駆動に関するシミュレーション結果の一例を示す図。
接地電極による電界漏れの抑制効果に関する第1のシミュレーション構成の一例を示す図。
位相変調分布のシミュレーション結果の一例を示す図。
接地電極による電界漏れの抑制効果に関する第2のシミュレーション構成の一例を示す図。
位相変調分布のシミュレーション結果の一例を示す図。
空間光変調素子の説明図。
画素ピッチと視域角との関係を示すグラフの一例。
【発明を実施するための形態】
【0010】
以下、本発明を実施するための形態の一例について図面を参照して説明する。
本実施形態に記載されている構成要素はあくまで例示であり、本発明の範囲をそれらに限定する趣旨のものではない。
(【0011】以降は省略されています)
この特許をJ-PlatPat(特許庁公式サイト)で参照する
関連特許
国立大学法人東北大学
液晶装置
2か月前
国立大学法人東北大学
異物吸引装置
2か月前
国立大学法人東北大学
重金属の不溶化方法
18日前
国立大学法人東北大学
駆動装置及び移動体
11日前
国立大学法人東北大学
発電素子、発電装置
1か月前
国立大学法人東北大学
通信回路及び変調方法
3か月前
国立大学法人東北大学
インフラマソーム阻害剤
1か月前
デンカ株式会社
模擬臓器
2か月前
国立大学法人東北大学
推定装置、及び、推定方法
11日前
国立大学法人東北大学
推定装置、及び、推定方法
11日前
国立大学法人東北大学
チタン合金とその製造方法
1か月前
大王製紙株式会社
吸収性物品
3か月前
国立大学法人東北大学
周波数選択透過性誘電体フィルタ
3か月前
リンナイ株式会社
浴室システム
3か月前
国立大学法人東北大学
熱電材料および熱電材料の製造方法
2か月前
国立大学法人東北大学
脊髄梗塞治療のための多能性幹細胞
1か月前
株式会社C&A
金属部材および製品
3か月前
住友化学株式会社
リチウム二次電池
3か月前
株式会社C&A
金属部材および製品
3か月前
富士産業株式会社
骨格筋分化促進剤
18日前
株式会社C&A
金属部材および製品
3か月前
株式会社タムラ製作所
遅延制御回路
3か月前
デンカ株式会社
医療用配管の保持器
2か月前
株式会社C&A
金属部材および製品
3か月前
株式会社C&A
金属部材および製品
3か月前
株式会社C&A
合金部材および製品
1か月前
株式会社C&A
柱状構造体の作製方法
17日前
株式会社オサチ
感覚障害評価システム
2か月前
住友金属鉱山株式会社
銅精鉱の製錬方法
13日前
リンナイ株式会社
生体情報検出システム
3か月前
住友金属鉱山株式会社
銅精鉱の製錬方法
13日前
トヨタ自動車株式会社
リチウム二次電池
3か月前
信越化学工業株式会社
磁気ドメイン構造体
2か月前
国立大学法人東北大学
空間光変調素子、ホログラフィ立体表示装置
13日前
京セラ株式会社
半導体装置及びその製造方法
1か月前
国立大学法人東北大学
二酸化炭素の固定利用方法及び固定利用システム
10日前
続きを見る
他の特許を見る