TOP
|
特許
|
意匠
|
商標
特許ウォッチ
Twitter
他の特許を見る
公開番号
2025151394
公報種別
公開特許公報(A)
公開日
2025-10-09
出願番号
2024052795
出願日
2024-03-28
発明の名称
床構成材
出願人
株式会社熊谷組
代理人
個人
主分類
E04B
5/02 20060101AFI20251002BHJP(建築物)
要約
【課題】木質板とコンクリートとの一体性を向上させ易い床構成材を提供する。
【解決手段】本発明に係る床構成材は、コンクリートが打設されるコンクリート打設面2aを有した木質板2と、木質板2のコンクリート打設面2aより突出するように設けられて木質板2とコンクリートとを一体化させるための突出部3とを備えた床構成材1であって、突出部3は、コンクリート打設面2aに所定の間隔を隔てて並ぶように設けられて木質板2に固定された複数の板材4と、複数の各板材4にコンクリート打設面2aに沿った方向に貫通するように形成された貫通孔5Bと、複数の各板材4に形成された貫通孔5Bに貫通するように設けられた鉄筋6とを備えたことを特徴とする。
【選択図】図1
特許請求の範囲
【請求項1】
コンクリートが打設されるコンクリート打設面を有した木質板と、
木質板のコンクリート打設面より突出するように設けられて木質板とコンクリートとを一体化させるための突出部とを備えた床構成材であって、
突出部は、コンクリート打設面に所定の間隔を隔てて並ぶように設けられて木質板に固定された複数の板材と、複数の各板材にコンクリート打設面に沿った方向に貫通するように形成された貫通孔と、複数の各板材に形成された貫通孔に貫通するように設けられた鉄筋とを備えたことを特徴とする床構成材。
続きを表示(約 830 文字)
【請求項2】
コンクリートが打設されるコンクリート打設面を有した木質板と、
木質板のコンクリート打設面より突出するように設けられて木質板とコンクリートとを一体化させるための突出部とを備えた床構成材であって、
突出部は、コンクリート打設面に所定の間隔を隔てて並ぶように設けられて木質板に固定された複数の板材と、複数の各板材にコンクリート打設面に沿った方向に貫通するように形成された貫通孔と、複数の各板材に形成された貫通孔に貫通するように設けられたボイド部材とを備えたことを特徴とする床構成材。
【請求項3】
コンクリートが打設されるコンクリート打設面を有した木質板と、
木質板のコンクリート打設面より突出するように設けられて木質板とコンクリートとを一体化させるための突出部とを備えた床構成材であって、
突出部は、コンクリート打設面に所定の間隔を隔てて並ぶように設けられて木質板に固定された複数の板材と、複数の各板材にコンクリート打設面に沿った方向に貫通するように形成された貫通孔とを備え、
貫通孔は、コンクリート打設面に打設されるコンクリートを入り込ませるための貫通孔であることを特徴とする床構成材。
【請求項4】
コンクリートが打設されるコンクリート打設面を有した木質板と、
木質板のコンクリート打設面より突出するように設けられて木質板とコンクリートとを一体化させるための突出部とを備えた床構成材であって、
突出部は、所定の間隔を隔てて並ぶようにコンクリート打設面に設けられて木質板に固定された複数の第1の長尺材と、これら複数の第1の長尺材と交差するようにこれら複数の第1の長尺材の上に設けられて複数の第1の長尺材に固定された複数の第2の長尺材とを備えて構成され、
複数の第2の長尺材は所定の間隔を隔てて並ぶように設けられていることを特徴とする床構成材。
発明の詳細な説明
【技術分野】
【0001】
本発明は、コンクリートが打設されるコンクリート打設面を有した床構成材に関する。
続きを表示(約 3,700 文字)
【背景技術】
【0002】
床スラブを施工する場合、ハーフPC床板を用いることが知られている(特許文献1参照)。
しかしながら、当該ハーフPC床板を用いた場合、コンクリートの使用量が多くなるため、床構造が重くなる。
そこで、コンクリートの使用量を削減できて、軽量化を図れるようにした床構造が知られている(特許文献2参照)。
特許文献2では、上面にボイド部材及びビスを固定した木質板を用いて、型枠の上に当該木質板を設置して、かつ、木質板の上方に鉄筋を配置した後、木質板の上面及び型枠の中にコンクリートを流し込むことにより、木質板とコンクリートとが一体化された複合床が構築される。
即ち、特許文献2には、コンクリートが打設されるコンクリート打設面を有した木質板と、木質板のコンクリート打設面より突出するように設けられて木質板とコンクリートとを一体化させるための突出部とを備え、当該突出部がビスにより構成された床構成材が開示されている。
【先行技術文献】
【特許文献】
【0003】
特開2000-303608号公報
特許第7448084号公報
【発明の概要】
【発明が解決しようとする課題】
【0004】
しかしながら、特許文献2に開示された床構成材によれば、木質板とコンクリートとを一体化させるための突出部がビスであり、当該ビスの表面とコンクリートと付着力によって木質板とコンクリートとが一体化されている構成であるため、木質板とコンクリートとの一体性を向上させるためには、ビスの本数、ビスの大きさ、ビスの形状、ビスの配置等を検討しなければならず、木質板とコンクリートとの一体性を向上させ難いという課題があった。
即ち、一般的には、コンクリートとの一体化は、特許文献1のハーフPC板に設けられたトラス筋(せん断補強部材)等を用いることが好ましく、このようなトラス筋を用いた一体化構造と比較して、特許文献2のようなビスを用いて木質板とコンクリートとの一体化を図る場合には、コンクリートに対するビスの接触部は、ビスの表面だけになり、当該ビスの表面積は少ないので、コンクリートに対する固定度は当然に小さくなる。
つまり、ビスがコンクリートで拘束され難く、拘束力の小さい一体化構造となってしまう可能性がある。
従って、特許文献2に開示された床構成材において、木質板とコンクリートとの一体性を向上させるためには、上述したように、ビスの本数、ビスの大きさ、ビスの形状、ビスの配置等に関して十分な検討が必要となり、木質板とコンクリートとを一体化させる複合床を構築する際の施工性の面での課題があった。
本発明は、木質板とコンクリートとを一体化させる複合床を構築する際において、木質板とコンクリートとの一体性を向上させ易く、かつ、施工性に優れた床構成材を提供することを目的とするものである。
【課題を解決するための手段】
【0005】
本発明に係る床構成材は、コンクリートが打設されるコンクリート打設面を有した木質板と、木質板のコンクリート打設面より突出するように設けられて木質板とコンクリートとを一体化させるための突出部とを備えた床構成材であって、突出部は、コンクリート打設面に所定の間隔を隔てて並ぶように設けられて木質板に固定された複数の板材と、複数の各板材にコンクリート打設面に沿った方向に貫通するように形成された貫通孔と、複数の各板材に形成された貫通孔に貫通するように設けられた鉄筋とを備えたことを特徴とする。
本発明に係る床構成材は、コンクリートが打設されるコンクリート打設面を有した木質板と、木質板のコンクリート打設面より突出するように設けられて木質板とコンクリートとを一体化させるための突出部とを備えた床構成材であって、突出部は、コンクリート打設面に所定の間隔を隔てて並ぶように設けられて木質板に固定された複数の板材と、複数の各板材にコンクリート打設面に沿った方向に貫通するように形成された貫通孔と、複数の各板材に形成された貫通孔に貫通するように設けられたボイド部材とを備えたことを特徴とする。
本発明に係る床構成材は、コンクリートが打設されるコンクリート打設面を有した木質板と、木質板のコンクリート打設面より突出するように設けられて木質板とコンクリートとを一体化させるための突出部とを備えた床構成材であって、突出部は、コンクリート打設面に所定の間隔を隔てて並ぶように設けられて木質板に固定された複数の板材と、複数の各板材にコンクリート打設面に沿った方向に貫通するように形成された貫通孔とを備え、貫通孔は、コンクリート打設面に打設されるコンクリートを入り込ませるための貫通孔であることを特徴とする。
本発明に係る床構成材は、コンクリートが打設されるコンクリート打設面を有した木質板と、木質板のコンクリート打設面より突出するように設けられて木質板とコンクリートとを一体化させるための突出部とを備えた床構成材であって、突出部は、所定の間隔を隔てて並ぶようにコンクリート打設面に設けられて木質板に固定された複数の第1の長尺材と、これら複数の第1の長尺材と交差するようにこれら複数の第1の長尺材の上に設けられて複数の第1の長尺材に固定された複数の第2の長尺材とを備えて構成され、複数の第2の長尺材は所定の間隔を隔てて並ぶように設けられていることを特徴とする。
本発明によれば、木質板とコンクリートとを一体化させる複合床を構築する際において、木質板とコンクリートとの一体性を向上させ易く、かつ、施工性に優れた床構成材を提供できるようになった。
【図面の簡単な説明】
【0006】
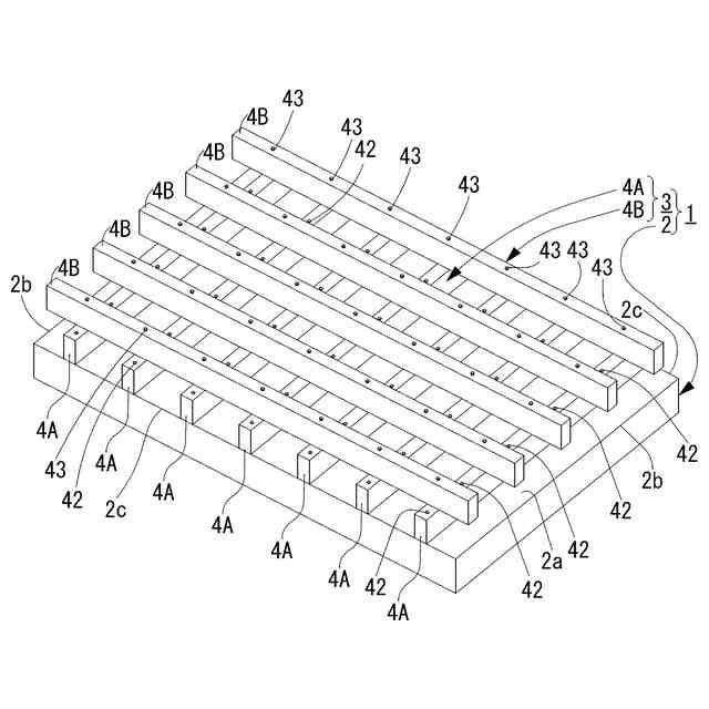
(a)は木質板のコンクリート打設面に複数の板材が固定された構成を示す斜視図、(b)は複数の板材の貫通孔に鉄筋やボイド部材が貫通するように設けられた構成の床構成材を示す斜視図(実施形態1)。
床構成材の木質板のコンクリート打設面にコンクリートが打設されて構成された複合床の断面図(実施形態1)。
木質板と板材との結合構造を示す図(実施形態1)。
床構成材を示す斜視図(実施形態5)。
【発明を実施するための形態】
【0007】
実施形態1
図1(b)に示すように、実施形態1に係る床構成材1は、コンクリートが打設されるコンクリート打設面2aを有した木質板2と、木質板2のコンクリート打設面2aより突出するように設けられて木質板2とコンクリートとを一体化させるための突出部3とを備える。
【0008】
木質板2は、例えば所定の板厚を有した四角形状の板により構成される。コンクリート打設面2aは、当該木質板2の一方の板面により構成される。当該コンクリート打設面2aは、図1に示すように、一方向に延長して互いに対向する一方の辺縁2b,2bと一方向と直交する他方向に延長して互いに対向する他方の辺縁2c,2cとで囲まれた四角形の面である。
当該木質板2は、CLT(Cross Laminated Timber(直交集成板))、又は、集成材、又は、LVL(Laminated Veneer Lumber(単層積層材))、又は、合板、又は、無垢材等により形成された木製の面板を用いればよい。
当該木質板2としては、例えば図2に示すように、所定の板厚(例えば30mm)のラミネ(ひき板)によるラミネ層20を3層以上積層して構成されたCLTを用いることが好ましい。
【0009】
図1(b)に示すように、突出部3は、木質板2のコンクリート打設面2aに所定の間隔を隔てて並ぶように設けられて木質板2に固定された複数の板材4,4…と、複数の各板材4,4…に形成されてコンクリート打設面2aに打設されるコンクリートを入り込ませるための貫通孔5A,5A…と、複数の各板材4,4…に形成された貫通孔5B,5B…を貫通するように設けられた鉄筋6,6…と、複数の各板材4,4…に形成された貫通孔5C,5C…を貫通するように設けられたボイド部材7,7…とを備えて構成される。
貫通孔5A,5B,5Cは、複数の各板材4,4…にコンクリート打設面2aに沿った方向に貫通するように形成された貫通孔である。
【0010】
ボイド部材7としては、例えば、金属製,合成樹脂製,紙製等の円管(ダクト)を用いればよい。貫通孔5Aは、コンクリートの砂利の径よりも大きい径に形成された貫通孔であればよい。貫通孔5Bは、鉄筋6の外径に対応した大きさで鉄筋6を貫通させることが可能な大きさの径に形成された貫通孔であればよい。
貫通孔5Cは、ボイド部材7の外径に対応した大きさでボイド部材7を貫通させることが可能な大きさの径に形成された貫通孔であればよい。
(【0011】以降は省略されています)
この特許をJ-PlatPat(特許庁公式サイト)で参照する
関連特許
株式会社熊谷組
床版
2日前
株式会社熊谷組
床版
2日前
株式会社熊谷組
長机
10日前
株式会社熊谷組
床構成材
2日前
株式会社熊谷組
木質材料
22日前
株式会社熊谷組
吊り治具
9日前
株式会社熊谷組
RI計測装置
10日前
株式会社熊谷組
密度計測方法
10日前
株式会社熊谷組
地盤改良方法
4日前
株式会社熊谷組
床版接合構造
12日前
株式会社熊谷組
山留壁用親杭
1日前
株式会社熊谷組
木材接合部材
9日前
株式会社熊谷組
障害物の検出方法
3日前
株式会社熊谷組
観測装置の防塵装置
2か月前
株式会社熊谷組
鉄筋コンクリート梁
1か月前
株式会社熊谷組
観測装置の防塵装置
2か月前
株式会社熊谷組
コンクリート打設装置
23日前
株式会社熊谷組
コンクリート打設装置
23日前
株式会社熊谷組
床版継手装置、及び、床版
12日前
株式会社熊谷組
アクアポニックスシステム
8日前
株式会社熊谷組
建物構造体の変位抑制装置
1日前
株式会社熊谷組
杭頭処理構造、杭頭処理方法
12日前
株式会社熊谷組
吊り下げ物の防振構造改良方法
12日前
株式会社熊谷組
壁体構築方法およびアンカー部材
12日前
株式会社熊谷組
壁体構築方法および鉄筋連結構造
12日前
株式会社熊谷組
耐火構造、及び、耐火構造の施工方法
2日前
国立大学法人東北大学
重金属の不溶化方法
9日前
岐阜工業株式会社
コンクリート用流量調整弁
8日前
ベルテクス株式会社
コンクリート部材の継手構造
8日前
株式会社熊谷組
傾斜地用コンクリート打設装置へのコンクリート積込方法
23日前
株式会社熊谷組
トンネル坑内での重量物横移動方法及び重量物横移動装置
1か月前
ベルテクス株式会社
コンクリート部材の取付構造とその成型に用いる抜き型
8日前
個人
接合構造
5日前
個人
屋台
22日前
個人
タッチミー
4日前
個人
野良猫ハウス
1か月前
続きを見る
他の特許を見る