TOP
|
特許
|
意匠
|
商標
特許ウォッチ
Twitter
他の特許を見る
10個以上の画像は省略されています。
公開番号
2025151698
公報種別
公開特許公報(A)
公開日
2025-10-09
出願番号
2024053250
出願日
2024-03-28
発明の名称
階調電圧生成回路、ソースドライバ及び表示装置
出願人
ローム株式会社
代理人
弁理士法人レクスト国際特許事務所
主分類
G09G
3/36 20060101AFI20251002BHJP(教育;暗号方法;表示;広告;シール)
要約
【課題】消費電流の増加を抑えつつソースドライバの出力の高速動作化を図ることが可能な階調電圧生成回路を提供する。
【解決手段】第1の基準電圧、第2の基準電圧、及び両基準電圧との間を分圧した電圧を含む複数のガンマ参照電圧の入力を受け、複数のガンマ参照電圧を個別に増幅する複数のガンマアンプと、ガンマアンプの出力の間の各々が互いに直列に接続された複数の抵抗を含み、複数の抵抗の抵抗同士の各々の接続ノードから第1の基準電圧と第2の基準電圧に応じたガンマ参照電圧を分圧して生成した複数の階調電圧を出力するラダー抵抗と、第1の及び第2のガンマアンプの各々の出力端の間の複数の前記接続ノードのうちの1の接続ノードの電圧と、参照電圧と、を比較するコンパレータと、コンパレータの比較結果に基づいて、接続ノード群のうちのいずれかの接続ノードと第1電圧の電圧供給ラインとを接続するスイッチと、を含む階調電圧生成回路。
【選択図】図3
特許請求の範囲
【請求項1】
互いに異なる電圧レベルを有する第1の基準電圧及び第2の基準電圧に基づいて、映像信号にて表現可能な輝度範囲の各輝度レベルに対応した複数の階調電圧を生成する階調電圧生成回路であって、
前記第1の基準電圧、前記第2の基準電圧、及び前記第1の基準電圧と前記第2の基準電圧との間の電圧を分圧した電圧を含む複数のガンマ参照電圧の入力を受け、前記複数のガンマ参照電圧を個別に増幅する複数のガンマアンプと、
前記複数のガンマアンプのうちの互いに隣接するガンマアンプの出力の間の各々に互いに直列に接続された複数の抵抗を含み、前記複数の抵抗の抵抗同士を接続する接続ノードの各々から前記複数のガンマ参照電圧のうち前記第1の基準電圧に応じたガンマ参照電圧と前記第2の基準電圧に応じたガンマ参照電圧との間の電圧を分圧して生成した前記複数の階調電圧を出力するラダー抵抗と、
前記複数のガンマアンプのうち隣接して配置された第1のガンマアンプ及び第2のガンマアンプの各々の出力端の間の複数の前記接続ノードからなる接続ノード群のうちの1の接続ノードの電圧と、参照電圧と、を比較するコンパレータと、
前記コンパレータの比較結果に基づいて、前記接続ノード群のうちのいずれかの接続ノードと第1電圧の電圧供給ラインとを接続するスイッチと、
を含むことを特徴とする階調電圧生成回路。
続きを表示(約 2,200 文字)
【請求項2】
前記スイッチは、前記コンパレータの比較結果に基づいて、前記1の接続ノードと前記第1電圧の電圧供給ラインとを接続することを特徴とする請求項1に記載の階調電圧生成回路。
【請求項3】
前記スイッチは、前記コンパレータの比較結果に基づいて、前記接続ノード群を構成する複数の接続ノードのうち前記1の接続ノードに隣接する位置に配置された他の接続ノードと、前記第1電圧の電圧供給ラインと、を接続することを特徴とする請求項1に記載の階調電圧生成回路。
【請求項4】
前記スイッチは、前記参照電圧と前記1の接続ノードの電圧との間の電圧差が所定以上の電圧差である場合に、前記接続ノード群のうちのいずれかの接続ノードと前記第1電圧の電圧供給ラインとを接続することを特徴とする請求項1に記載の階調電圧生成回路。
【請求項5】
前記参照電圧は、前記第2のガンマアンプの入力電圧であることを特徴とする請求項1に記載の階調電圧生成回路。
【請求項6】
前記参照電圧は、前記第2のガンマアンプの出力電圧であることを特徴とする請求項1に記載の階調電圧生成回路。
【請求項7】
前記第1電圧は、前記第1のガンマアンプの出力電圧であることを特徴とする請求項1に記載の階調電圧生成回路。
【請求項8】
前記第1電圧は、電源電圧であることを特徴とする請求項1に記載の階調電圧生成回路。
【請求項9】
複数本のデータ線と複数本のゲート線との交差部の各々にマトリクス状に設けられた複数個の画素部を有する表示パネルに接続され、画像データに基づいて前記複数個の画素部を供給対象とする階調電圧信号を生成するソースドライバであって、
互いに異なる電圧レベルを有する第1の基準電圧及び第2の基準電圧に基づいて、映像信号にて表現可能な輝度範囲の各輝度レベルに対応した複数の階調電圧を生成する階調電圧生成回路を有し、
前記階調電圧生成回路は、
前記第1の基準電圧、前記第2の基準電圧、及び前記第1の基準電圧と前記第2の基準電圧との間の電圧を分圧した電圧を含む複数のガンマ参照電圧の入力を受け、前記複数のガンマ参照電圧を個別に増幅する複数のガンマアンプと、
前記複数のガンマアンプのうちの互いに隣接するガンマアンプの出力の間の各々に互いに直列に接続された複数の抵抗を含み、前記複数の抵抗の抵抗同士を接続する接続ノードの各々から前記複数のガンマ参照電圧のうち前記第1の基準電圧に応じたガンマ参照電圧と前記第2の基準電圧に応じたガンマ参照電圧との間の電圧を分圧して生成した前記複数の階調電圧を出力するラダー抵抗と、
前記複数のガンマアンプのうち隣接して配置された第1のガンマアンプ及び第2のガンマアンプの各々の出力端の間の複数の前記接続ノードからなる接続ノード群のうちの1の接続ノードの電圧と、参照電圧と、を比較するコンパレータと、
前記コンパレータの比較結果に基づいて、前記接続ノード群のうちのいずれかの接続ノードと第1電圧の電圧供給ラインとを接続するスイッチと、
を含むことを特徴とするソースドライバ。
【請求項10】
複数本のデータ線及び複数本のゲート線と、前記複数本のデータ線と前記複数本のゲート線との交差部の各々にマトリクス状に設けられた複数個の画素部と、を有する表示パネルと、
前記表示パネルに表示する画像を示す画像データ信号を出力する表示コントローラと、
前記表示コントローラから前記画像データ信号を受信し、前記画像データ信号に基づいて、前記複数個の画素部を供給対象とする階調電圧信号を生成するソースドライバと、
を有する表示装置であって、
前記ソースドライバは、互いに異なる電圧レベルを有する第1の基準電圧及び第2の基準電圧に基づいて、映像信号にて表現可能な輝度範囲の各輝度レベルに対応した複数の階調電圧を生成する階調電圧生成回路を有し、
前記階調電圧生成回路は、
前記第1の基準電圧、前記第2の基準電圧、及び前記第1の基準電圧と前記第2の基準電圧との間の電圧を分圧した電圧を含む複数のガンマ参照電圧の入力を受け、前記複数のガンマ参照電圧を個別に増幅する複数のガンマアンプと、
前記複数のガンマアンプのうちの互いに隣接するガンマアンプの出力の間の各々に互いに直列に接続された複数の抵抗を含み、前記複数の抵抗の抵抗同士を接続する接続ノードの各々から前記複数のガンマ参照電圧のうち前記第1の基準電圧に応じたガンマ参照電圧と前記第2の基準電圧に応じたガンマ参照電圧との間の電圧を分圧して生成した前記複数の階調電圧を出力するラダー抵抗と、
前記複数のガンマアンプのうち隣接して配置された第1のガンマアンプ及び第2のガンマアンプの各々の出力端の間の複数の前記接続ノードからなる接続ノード群のうちの1の接続ノードの電圧と、参照電圧と、を比較するコンパレータと、
前記コンパレータの比較結果に基づいて、前記接続ノード群のうちのいずれかの接続ノードと第1電圧の電圧供給ラインとを接続するスイッチと、
を含むことを特徴とする表示装置。
発明の詳細な説明
【技術分野】
【0001】
本発明は、階調電圧生成回路、ソースドライバ及び表示装置に関する。
続きを表示(約 2,700 文字)
【背景技術】
【0002】
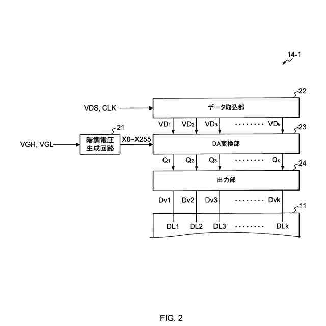
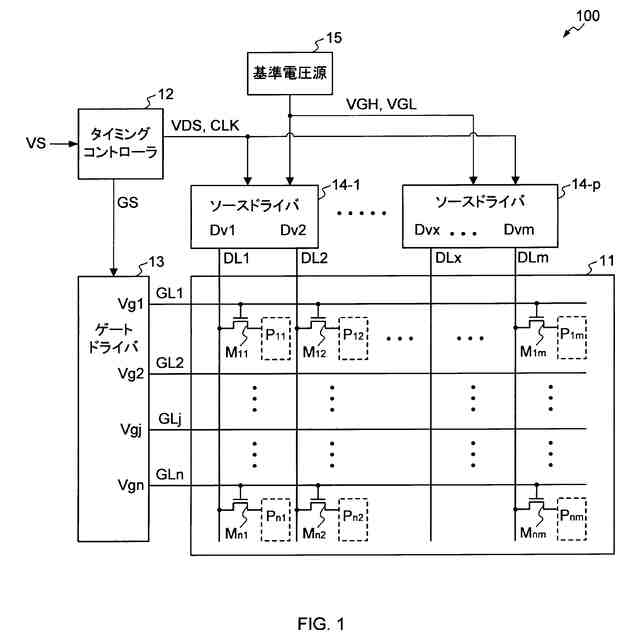
液晶表示装置や有機EL(Electro Luminescence)等の表示デバイスの駆動方式として、アクティブマトリクス駆動方式が採用されている。アクティブマトリクス駆動方式の表示装置では、表示パネルは画素部及び画素スイッチをマトリクス状に配置した半導体基板から構成されている。ゲートパルスにより画素スイッチのオンオフを制御し、画素スイッチがオンになるときに映像データ信号に対応した階調電圧信号を画素部に供給して、各画素部の輝度を制御することにより、表示が行われる。表示装置の駆動回路は、例えばゲート線にゲートパルスを出力するゲートドライバ、データ線に階調電圧信号を出力するソースドライバ、及びソースドライバに映像信号及びタイミング信号の供給を行うタイミングコントローラを含む。
【0003】
ソースドライバは、デジタルの映像信号をアナログの電圧値を有する駆動電圧に変換するDA変換回路と、映像信号によって表現可能な全輝度範囲に対応した、各々が異なる電圧値を有する複数の階調電圧を発生する階調電圧生成回路とを含む。階調電圧生成回路は、表示パネルに配置された基準電圧源によって生成される基準電圧をラダー抵抗回路によって分圧して複数の階調電圧を生成する構成を有する。DA変換回路は、階調電圧生成回路が生成した複数の階調電圧の中から、映像信号に示される輝度レベルに対応した階調電圧を選択し、これを駆動電圧として出力する。
【0004】
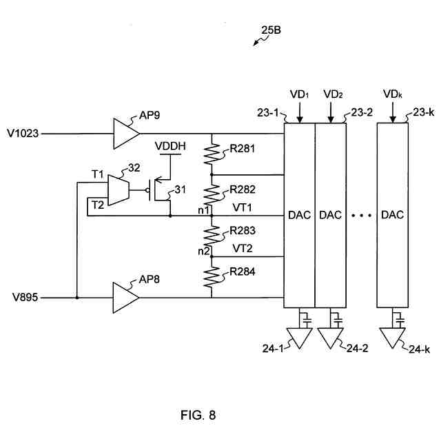
このような階調電圧生成回路において、消費電力を抑制しつつ安定した階調電圧を供給するため、基準電圧源とラダー抵抗回路との間に、オペアンプとその入力側に形成されたガンマ補正抵抗とからなるガンマ補正回路を設けた構成が提案されている(例えば、特許文献1)。
【先行技術文献】
【特許文献】
【0005】
特開2005-10276号公報
【発明の概要】
【発明が解決しようとする課題】
【0006】
近年、スマートフォンやモニタ等のパネル表示の高速動作化が進んでいる。パネル表示の高速動作化に伴い、ソースドライバの出力の電圧遷移時間を短縮する必要がある。しかしながら、従来のソースドライバの構成では、ガンマ補正回路の出力(ガンマタップ)の律速により、出力を高速化することが難しい。タップ電圧(ガンマタップの出力電圧)の電圧遷移の遷移時間を短縮するためにガンマアンプの電流能力を上げると、ガンマアンプの回路規模や消費電流が増加してしまうという問題があった。
【0007】
また、DA変換回路の選択状態遷移の際に、DA変換回路の後段に設けられた出力アンプの充放電により、階調電圧に電圧ドロップやオーバーシュート等の電圧変化が発生する。この電圧変化により、階調電圧がもとの電圧値に復帰するのに時間を要するため、出力電圧の遷移時間が遅くなるという問題があった。
【0008】
本発明は上記問題点に鑑みてなされたものであり、消費電流の増加を抑えつつソースドライバの出力の高速動作化を図ることが可能な階調電圧生成回路を提供することを目的とする。
【課題を解決するための手段】
【0009】
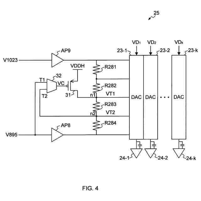
本発明に係る階調電圧生成回路は、互いに異なる電圧レベルを有する第1の基準電圧及び第2の基準電圧に基づいて、映像信号にて表現可能な輝度範囲の各輝度レベルに対応した複数の階調電圧を生成する階調電圧生成回路であって、前記第1の基準電圧、前記第2の基準電圧、及び前記第1の基準電圧と前記第2の基準電圧との間の電圧を分圧した電圧を含む複数のガンマ参照電圧の入力を受け、前記複数のガンマ参照電圧を個別に増幅する複数のガンマアンプと、前記複数のガンマアンプのうちの互いに隣接するガンマアンプの出力の間の各々に互いに直列に接続された複数の抵抗を含み、前記複数の抵抗の抵抗同士を接続する接続ノードの各々から前記複数のガンマ参照電圧のうち前記第1の基準電圧に応じたガンマ参照電圧と前記第2の基準電圧に応じたガンマ参照電圧との間の電圧を分圧して生成した前記複数の階調電圧を出力するラダー抵抗と、前記複数のガンマアンプのうち隣接して配置された第1のガンマアンプ及び第2のガンマアンプの各々の出力端の間の複数の前記接続ノードからなる接続ノード群のうちの1の接続ノードの電圧と、参照電圧と、を比較するコンパレータと、前記コンパレータの比較結果に基づいて、前記接続ノード群のうちのいずれかの接続ノードと第1電圧の電圧供給ラインとを接続するスイッチと、を含むことを特徴とする。
【0010】
また、本発明に係るソースドライバは、複数本のデータ線と複数本のゲート線との交差部の各々にマトリクス状に設けられた複数個の画素部を有する表示パネルに接続され、画像データに基づいて前記複数個の画素部を供給対象とする階調電圧信号を生成するソースドライバであって、互いに異なる電圧レベルを有する第1の基準電圧及び第2の基準電圧に基づいて、映像信号にて表現可能な輝度範囲の各輝度レベルに対応した複数の階調電圧を生成する階調電圧生成回路を有し、前記階調電圧生成回路は、前記第1の基準電圧、前記第2の基準電圧、及び前記第1の基準電圧と前記第2の基準電圧との間の電圧を分圧した電圧を含む複数のガンマ参照電圧の入力を受け、前記複数のガンマ参照電圧を個別に増幅する複数のガンマアンプと、前記複数のガンマアンプのうちの互いに隣接するガンマアンプの出力の間の各々に互いに直列に接続された複数の抵抗を含み、前記複数の抵抗の抵抗同士を接続する接続ノードの各々から前記複数のガンマ参照電圧のうち前記第1の基準電圧に応じたガンマ参照電圧と前記第2の基準電圧に応じたガンマ参照電圧との間の電圧を分圧して生成した前記複数の階調電圧を出力するラダー抵抗と、前記複数のガンマアンプのうち隣接して配置された第1のガンマアンプ及び第2のガンマアンプの各々の出力端の間の複数の前記接続ノードからなる接続ノード群のうちの1の接続ノードの電圧と、参照電圧と、を比較するコンパレータと、前記コンパレータの比較結果に基づいて、前記接続ノード群のうちのいずれかの接続ノードと第1電圧の電圧供給ラインとを接続するスイッチと、を含むことを特徴とする。
(【0011】以降は省略されています)
この特許をJ-PlatPat(特許庁公式サイト)で参照する
関連特許
ローム株式会社
RAM
1日前
ローム株式会社
RAM
1日前
ローム株式会社
発振回路
1日前
ローム株式会社
駆動回路
3日前
ローム株式会社
電源装置
1日前
ローム株式会社
半導体装置
2日前
ローム株式会社
テスト回路
2日前
ローム株式会社
半導体装置
2日前
ローム株式会社
半導体装置
2日前
ローム株式会社
半導体装置
2日前
ローム株式会社
半導体装置
3日前
ローム株式会社
半導体装置
10日前
ローム株式会社
半導体装置
3日前
ローム株式会社
暗号化装置
2日前
ローム株式会社
半導体装置
8日前
ローム株式会社
半導体装置
8日前
ローム株式会社
半導体装置
8日前
ローム株式会社
メモリ装置
8日前
ローム株式会社
半導体装置
8日前
ローム株式会社
半導体装置
8日前
ローム株式会社
半導体装置
4日前
ローム株式会社
半導体装置
3日前
ローム株式会社
半導体装置
1日前
ローム株式会社
半導体装置
1日前
ローム株式会社
半導体装置
1日前
ローム株式会社
半導体装置
1日前
ローム株式会社
半導体装置
1日前
ローム株式会社
信号出力回路
8日前
ローム株式会社
時間測定回路
3日前
ローム株式会社
無線通信回路
3日前
ローム株式会社
無線通信装置
2日前
ローム株式会社
静電気保護素子
1日前
ローム株式会社
異常検知システム
1日前
ローム株式会社
フォトダイオード
3日前
ローム株式会社
不揮発性メモリ装置
8日前
ローム株式会社
不揮発性メモリ装置
8日前
続きを見る
他の特許を見る