TOP
|
特許
|
意匠
|
商標
特許ウォッチ
Twitter
他の特許を見る
10個以上の画像は省略されています。
公開番号
2025152760
公報種別
公開特許公報(A)
公開日
2025-10-10
出願番号
2024054824
出願日
2024-03-28
発明の名称
半導体装置
出願人
ローム株式会社
代理人
弁理士法人太陽国際特許事務所
主分類
H10D
89/60 20250101AFI20251002BHJP()
要約
【課題】BTIによるトランジスタの特性変化を回復可能な半導体装置を提供する。
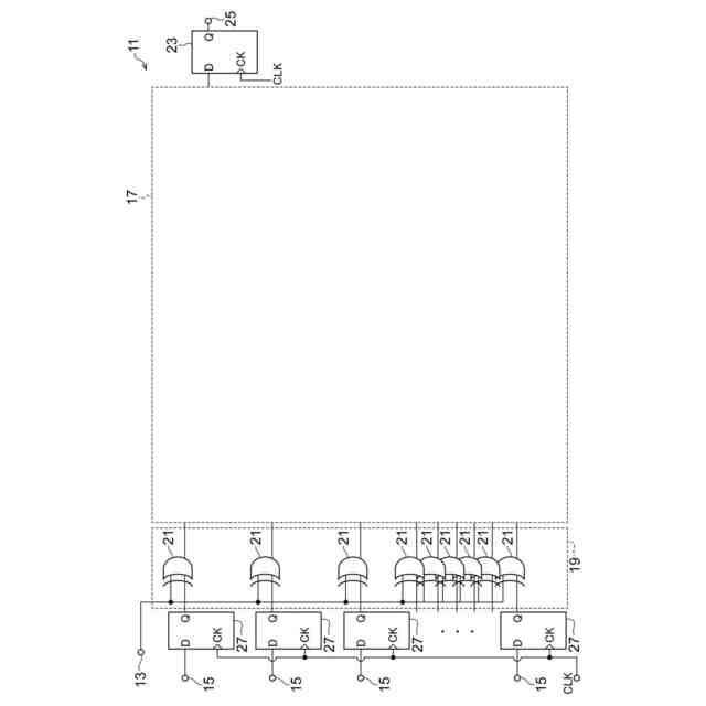
【解決手段】半導体装置11は、制御信号SCNTを受ける制御入力13と、1又は複数の信号入力15と、信号入力13及び制御入力15からの信号を受けるように構成される複数の入力及び1又は複数の出力を有するBTI回避回路19と、信号入力15にBTI回避回路19を介して接続される入力、及び少なくとも1つの出力を有する組み合わせ論理回路17と、を備え、BTI回避回路19は、少なくとも1つの排他的論理和ゲート21を含み、排他的論理和ゲート21は、制御入力13からの信号を受け、排他的論理和ゲート21は、信号入力15からの信号を受けると共に、受けた信号に応答してBTI回避回路19の出力の1つに出力信号を提供する。
【選択図】図1
特許請求の範囲
【請求項1】
制御信号を受ける制御入力と、
1又は複数の信号入力と、
前記信号入力及び前記制御入力からの信号を受けるように構成される複数の入力及び1又は複数の出力を有するBTI回避回路と、
を備え、
前記BTI回避回路は、少なくとも1つの排他的論理和ゲートを含み、
前記排他的論理和ゲートは、前記制御入力からの信号を受け、
前記排他的論理和ゲートは、前記信号入力からの信号を受けると共に、受けた前記信号に応答して前記BTI回避回路の前記出力の1つに出力信号を提供する、
半導体装置。
続きを表示(約 1,200 文字)
【請求項2】
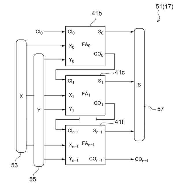
前記信号入力に前記BTI回避回路を介して接続される入力、及び少なくとも1つの出力を有する組み合わせ論理回路を更に備える、
請求項1に記載された半導体装置。
【請求項3】
前記組み合わせ論理回路の前記出力に接続される第1順序回路と、
前記第1順序回路の出力に接続された1又は複数の信号出力と、
を更に備える、
請求項2に記載された半導体装置。
【請求項4】
前記第1順序回路は、D型フリップフロップを含む、
請求項3に記載された半導体装置。
【請求項5】
前記信号入力に接続された1又は複数の第2順序回路を更に備え、
前記BTI回避回路の前記入力は、前記第2順序回路の出力に接続される、
請求項1に記載された半導体装置。
【請求項6】
前記第2順序回路は、D型フリップフロップを含む、
請求項5に記載された半導体装置。
【請求項7】
前記BTI回避回路の前記排他的論理和ゲートは、前記BTI回避回路の前記入力の内の1つと前記BTI回避回路の前記出力の内の1つとの間に接続される、
請求項1に記載された半導体装置。
【請求項8】
前記BTI回避回路は、前記制御入力に接続される1又は複数の信号生成回路を含み、
前記信号生成回路の各々は、前記信号入力の何れか1つに接続され、
前記信号生成回路の各々には、前記排他的論理和ゲートが設けられる、
請求項1に記載された半導体装置。
【請求項9】
前記信号生成回路の内の第1信号生成回路は、前記信号入力の内の第1信号入力に接続され、
前記信号生成回路の少なくとも1つは、セレクタ回路及び複数のゲート回路を含み、
前記ゲート回路の内の第1ゲート回路には、前記排他的論理和ゲートが設けられ、
前記ゲート回路の内の第2ゲート回路は、前記制御信号のアクティブ値の受信に応答して論理値「1」及び論理値「0」の何れか一方を生成し、
前記セレクタ回路は、少なくとも第1信号入力及び第2信号入力を有し、前記セレクタ回路の前記第1信号入力及び前記第2信号入力は、それぞれ、前記第1ゲート回路の出力及び前記第2ゲート回路の出力に接続される、
請求項8に記載された半導体装置。
【請求項10】
前記ゲート回路の内の第3ゲート回路は、前記制御信号の前記アクティブ値の受信に応答して前記論理値「1」及び前記論理値「0」の何れか他方を生成し、
前記セレクタ回路は、前記第1信号入力及び前記第2信号入力に加えて、少なくとも第3信号入力を有し、
前記セレクタ回路の前記第3信号入力は、前記第3ゲート回路の出力に接続される、
請求項9に記載された半導体装置。
(【請求項11】以降は省略されています)
発明の詳細な説明
【技術分野】
【0001】
本開示は、半導体装置に関する。
続きを表示(約 1,200 文字)
【背景技術】
【0002】
特許文献1は、簡単な構成によりNBTI(Negative Bias Temperature Instability)対策機能を備え、高信頼性を実現した半導体集積回路装置と半導体システムを提供することを開示する。
【先行技術文献】
【特許文献】
【0003】
特開2006-54499号公報
【発明の概要】
【発明が解決しようとする課題】
【0004】
半導体装置は、多数のトランジスタを集積する。具体的には、半導体装置は、MOS型電界効果トランジスタといった絶縁ゲート型電界効果トランジスタを含む集積回路を含み、この集積回路は、広く用いられる。BTI(Bias Temperature Instability)によるトランジスタの特性変化は、トランジスタの閾値VTの増加及びドレイン電流IDの減少として現れる。このようなトランジスタ特性の劣化は、例えばトランジスタの動作スピードを低下させる。
【0005】
また、特性変化のトランジスタに特定のバイアスを加えると、BTIによるトランジスタの特性変化が回復する。
【0006】
市場に提供された半導体装置は、その動作環境の下において使用される。従って、半導体装置においてBTIによるトランジスタの特性変化を低減させる動作モード、具体的には、変化した特性を回復させるバイアスを加える新たなモードは、実装したとしても、高い頻度で又は定期的に使用されにくい可能性がある。
【0007】
求められていることは、BTIによるトランジスタの特性変化を回復させることであり、これは、市場に提供された半導体装置に適用可能であることがよい。
【0008】
本開示は、BTIによるトランジスタの特性変化を回復可能な半導体装置を提供することを目的とする。
【課題を解決するための手段】
【0009】
本開示の第1態様に係る半導体装置は、制御信号を受ける制御入力と、1又は複数の信号入力と、前記信号入力及び前記制御入力からの信号を受けるように構成される複数の入力及び1又は複数の出力を有するBTI回避回路と、を備え、前記BTI回避回路は、少なくとも1つの排他的論理和ゲートを含み、前記排他的論理和ゲートは、前記制御入力からの信号を受け、前記排他的論理和ゲートは、前記信号入力からの信号を受けると共に、受けた前記信号に応答して前記BTI回避回路の前記出力の1つに出力信号を提供する。
【発明の効果】
【0010】
上記態様によれば、BTIによるトランジスタの特性変化を回復可能な半導体装置を提供することができる。
【図面の簡単な説明】
(【0011】以降は省略されています)
この特許をJ-PlatPat(特許庁公式サイト)で参照する
関連特許
ローム株式会社
RAM
1日前
ローム株式会社
RAM
1日前
ローム株式会社
発振回路
1日前
ローム株式会社
駆動回路
3日前
ローム株式会社
電源装置
1日前
ローム株式会社
半導体装置
2日前
ローム株式会社
テスト回路
2日前
ローム株式会社
半導体装置
2日前
ローム株式会社
半導体装置
2日前
ローム株式会社
半導体装置
2日前
ローム株式会社
半導体装置
3日前
ローム株式会社
半導体装置
10日前
ローム株式会社
半導体装置
3日前
ローム株式会社
暗号化装置
2日前
ローム株式会社
半導体装置
8日前
ローム株式会社
半導体装置
8日前
ローム株式会社
半導体装置
8日前
ローム株式会社
メモリ装置
8日前
ローム株式会社
半導体装置
8日前
ローム株式会社
半導体装置
8日前
ローム株式会社
半導体装置
4日前
ローム株式会社
半導体装置
3日前
ローム株式会社
半導体装置
1日前
ローム株式会社
半導体装置
1日前
ローム株式会社
半導体装置
1日前
ローム株式会社
半導体装置
1日前
ローム株式会社
半導体装置
1日前
ローム株式会社
信号出力回路
8日前
ローム株式会社
時間測定回路
3日前
ローム株式会社
無線通信回路
3日前
ローム株式会社
無線通信装置
2日前
ローム株式会社
静電気保護素子
1日前
ローム株式会社
異常検知システム
1日前
ローム株式会社
フォトダイオード
3日前
ローム株式会社
不揮発性メモリ装置
8日前
ローム株式会社
不揮発性メモリ装置
8日前
続きを見る
他の特許を見る