TOP
|
特許
|
意匠
|
商標
特許ウォッチ
Twitter
他の特許を見る
公開番号
2025153481
公報種別
公開特許公報(A)
公開日
2025-10-10
出願番号
2024055984
出願日
2024-03-29
発明の名称
RAM
出願人
ローム株式会社
代理人
弁理士法人 佐野特許事務所
主分類
G11C
11/412 20060101AFI20251002BHJP(情報記憶)
要約
【課題】ポート間干渉を抑制することができるRAMを提供する。
【解決手段】RAM(100)は、第1ビット線(bita)と第2ビット線(bitb)とは、異なるレイヤ(Ly)に配置されているとともに、一方が他方と同じレイヤ(Ly)に形成されてメモリセル(50)と接続される第1接続部(Cb1を有する。第1反転ビット線(bitab)と第2反転ビット線(bitbb)とは、異なるレイヤ(Ly)に配置されているとともに、一方が他方と同じレイヤ(Ly)に形成されてメモリセル(50)と接続される第2接続部(Cb2)を有する。
【選択図】図7
特許請求の範囲
【請求項1】
複数のメモリセルと、
前記複数のメモリセル各々に接続されて第1クロック信号に基づいて前記メモリセルに情報を書き込むライト動作又は情報を読み出すリード動作に用いられる構成の第1ビット線及び第1反転ビット線と、
前記複数のメモリセル各々に接続されて前記第1クロック信号とは異なる第2クロック信号に基づいて前記ライト動作又は前記リード動作に用いられる構成の第2ビット線及び第2反転ビット線と、を有し、
前記第1ビット線と前記第2ビット線とは、異なるレイヤに配置されているとともに、一方が他方と同じレイヤに形成されて前記メモリセルと接続される第1接続部を有する構成を有し、
前記第1反転ビット線と前記第2反転ビット線とは、異なるレイヤに配置されているとともに、一方が他方と同じレイヤに形成されて前記メモリセルと接続される第2接続部を有する構成を有する、RAM。
続きを表示(約 420 文字)
【請求項2】
前記第1接続部は、前記第1ビット線又は第2ビット線のうち同じレイヤに配置される線よりも短く構成される、請求項1に記載のRAM。
【請求項3】
前記第2接続部は、前記第1反転ビット線又は第2反転ビット線のうち同じレイヤに配置される線よりも短く構成される、請求項1に記載のRAM。
【請求項4】
前記第1ビット線及び前記第1反転ビット線により前記ライト動作及び前記リード動作の一方が実行されるとき、前記第2ビット線及び前記第2反転ビット線により前記ライト動作及び前記リード動作の他方が実行されるように構成される請求項1に記載のRAM。
【請求項5】
1サイクルにおいて、前記第1クロック信号及び前記第2クロック信号が出力され、前記1サイクルにおいて、1のメモリセルに対するライト動作と、他のメモリセルに対するリード動作とを実行可能な構成を有する、請求項4に記載のRAM。
発明の詳細な説明
【技術分野】
【0001】
本明細書中に開示されている発明は、RAM(Random Access Memory)に関し、より詳細にはデュアルポートRAM及び2ポートRAMを含むマルチポートRAMに関する。
続きを表示(約 1,500 文字)
【背景技術】
【0002】
特許文献1で開示されているRAMは、第1メモリセルからのデータ読み出しと、第2メモリセルへのデータ書き込みを、同時又はほぼ同時に行うことができる。このようなRAMは、データの処理を高速に行うことができる。このようなRAMでは、ポート間干渉が発生することが知られている(例えば、特許文献1参照)。
【先行技術文献】
【特許文献】
【0003】
国際公開第2007/018043号[概要]
【0004】
特許文献1で開示されているRAMでは、ポート間干渉を抑制する要求が高まっている。
【0005】
本明細書中に開示されているRAMは、複数のメモリセルと、前記複数のメモリセル各々に接続されて第1クロック信号に基づいて前記メモリセルに情報を書き込むライト動作又は情報を読み出すリード動作に用いられる構成の第1ビット線及び第1反転ビット線と、前記複数のメモリセル各々に接続されて前記第1クロック信号とは異なる第2クロック信号に基づいて前記ライト動作又は前記リード動作に用いられる構成の第2ビット線及び第2反転ビット線と、を有する。前記第1ビット線と前記第2ビット線とは、異なるレイヤに配置されているとともに、一方が他方と同じレイヤに形成されて前記メモリセルと接続される第1接続部を有する構成を有する。前記第1反転ビット線と前記第2反転ビット線とは、異なるレイヤに配置されているとともに、一方が他方と同じレイヤに形成されて前記メモリセルと接続される第2接続部を有するように構成される。
【図面の簡単な説明】
【0006】
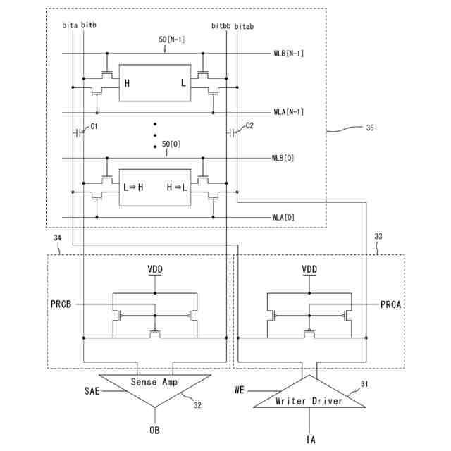
図1は、本実施形態に係るデュアルポートRAMの概略ブロック図である。
図2は、メモリセルの基本構成を示す回路図である。
図3は、本実施形態に係るデュアルポートRAMの各部電圧波形を示すタイミングチャートである。
図4は、本実施形態に係るデュアルポートRAMの一部を示す図である。
図5は、本実施形態に係るデュアルポートRAMの一部を示す図である。
図6は、デュアルポートRAMの配線レイアウトを示す概略図である。
図7は、ビット配線、電源線及びグラウンド線が構成されるレイヤにおける各配線の概略配置図である。
【0007】
[詳細な説明]
本明細書において、MOS(Metal Oxide Semiconductor)電界効果トランジスタとは、ゲートの構造が、「導電体または抵抗値が小さいポリシリコン等の半導体からなる層」、「絶縁層」、及び「P型、N型、又は真性の半導体層」の少なくとも3層からなる電界効果トランジスタをいう。つまり、MOS電界効果トランジスタのゲートの構造は、金属、酸化物、及び半導体の3層構造に限定されない。また、Nチャネル型MOS電界効果トランジスタをNMOSトランジスタと称し、Pチャネル型MOS電界効果トランジスタをPMOSトランジスタと称する。
【0008】
<デュアルポートRAM>
図1は、デュアルポートRAM100の概略ブロック図である。
【0009】
デュアルポートRAM100は、互いに独立した第1入出力ポートであるAポート及び第2入出力ポートであるBポートを備える。
【0010】
デュアルポートRAM100は、Aポート専用の行デコーダ11と、Aポート専用の列デコーダ12と、Aポート専用の行セレクタ13と、を備える。
(【0011】以降は省略されています)
この特許をJ-PlatPat(特許庁公式サイト)で参照する
関連特許
ローム株式会社
RAM
2日前
ローム株式会社
RAM
2日前
ローム株式会社
電子装置
13日前
ローム株式会社
電源装置
2日前
ローム株式会社
発振回路
13日前
ローム株式会社
駆動回路
4日前
ローム株式会社
発振回路
2日前
ローム株式会社
半導体装置
5日前
ローム株式会社
半導体装置
2日前
ローム株式会社
半導体装置
9日前
ローム株式会社
半導体装置
9日前
ローム株式会社
半導体装置
9日前
ローム株式会社
半導体装置
3日前
ローム株式会社
暗号化装置
3日前
ローム株式会社
半導体装置
4日前
ローム株式会社
テスト回路
3日前
ローム株式会社
半導体装置
4日前
ローム株式会社
半導体装置
4日前
ローム株式会社
半導体装置
3日前
ローム株式会社
メモリ装置
9日前
ローム株式会社
半導体装置
2日前
ローム株式会社
半導体装置
3日前
ローム株式会社
半導体装置
9日前
ローム株式会社
半導体装置
2日前
ローム株式会社
半導体装置
2日前
ローム株式会社
半導体装置
11日前
ローム株式会社
半導体装置
11日前
ローム株式会社
半導体装置
11日前
ローム株式会社
半導体装置
3日前
ローム株式会社
半導体装置
11日前
ローム株式会社
半導体装置
9日前
ローム株式会社
半導体装置
2日前
ローム株式会社
時間測定回路
4日前
ローム株式会社
信号出力回路
9日前
ローム株式会社
無線通信回路
4日前
ローム株式会社
無線通信装置
3日前
続きを見る
他の特許を見る