TOP
|
特許
|
意匠
|
商標
特許ウォッチ
Twitter
他の特許を見る
10個以上の画像は省略されています。
公開番号
2025151798
公報種別
公開特許公報(A)
公開日
2025-10-09
出願番号
2024053388
出願日
2024-03-28
発明の名称
液体吐出ヘッドおよび液体吐出装置
出願人
セイコーエプソン株式会社
代理人
個人
,
個人
,
個人
主分類
B41J
2/14 20060101AFI20251002BHJP(印刷;線画機;タイプライター;スタンプ)
要約
【課題】吐出特性に優れる液体吐出ヘッド、および液体吐出装置を提供すること。
【解決手段】液体吐出ヘッドは、複数の圧力室が設けられた圧力室基板と、振動板と、前記複数の圧力室に対して共通に設けられ、時間によって変化しない基準電圧が印加される第1共通電極と、第1薄膜圧電体と、前記複数の圧力室に対して個別に設けられ、時間によって変化する駆動電圧が印加される個別電極と、第2薄膜圧電体と、前記複数の圧力室に対して共通に設けられ、前記基準電圧が印加される第2共通電極と、が下側から上側にこの順に積層された液体吐出ヘッドであって、液体の吐出のために圧力室を収縮させるときの前記基準電圧と前記駆動電圧とが印加される期間である収縮期間において、前記第1薄膜圧電体の変位量は、前記第2薄膜圧電体の変位量よりも大きい。
【選択図】図4
特許請求の範囲
【請求項1】
複数の圧力室が設けられた圧力室基板と、
振動板と、
前記複数の圧力室に対して共通に設けられ、時間によって変化しない基準電圧が印加される第1共通電極と、
第1薄膜圧電体と、
前記複数の圧力室に対して個別に設けられ、時間によって変化する駆動電圧が印加される個別電極と、
第2薄膜圧電体と、
前記複数の圧力室に対して共通に設けられ、前記基準電圧が印加される第2共通電極と、が下側から上側にこの順に積層された液体吐出ヘッドであって、
液体の吐出のために圧力室を収縮させるときの前記基準電圧と前記駆動電圧とが印加される期間である収縮期間において、前記第1薄膜圧電体の変位量は、前記第2薄膜圧電体の変位量よりも大きいことを特徴とする液体吐出ヘッド。
続きを表示(約 1,400 文字)
【請求項2】
前記収縮期間において、前記第1薄膜圧電体の電圧は、正から負に向かってシフトしていき、
前記収縮期間において、前記第2薄膜圧電体の電圧は、負から正に向かってシフトしていくことを特徴とする請求項1に記載の液体吐出ヘッド。
【請求項3】
前記第1薄膜圧電体の第1飽和負電圧から第1飽和正電圧まで電圧を変化させるときの変位は、前記第1飽和負電圧から正の値である第1抗電界までは変位が小さくなる第1経路を、前記第1抗電界から前記第1飽和正電圧までは変位が大きくなる第2経路を、それぞれ辿るように変化し、
前記第1薄膜圧電体の前記第1飽和正電圧から前記第1飽和負電圧まで電圧を変化させるときの変位は、前記第1飽和正電圧から負の値である第2抗電界までは変位が小さくなる第3経路を、前記第2抗電界から前記第1飽和負電圧までは変位が大きくなる第4経路を、それぞれ辿るように変化し、
前記第1薄膜圧電体の前記収縮期間における変位は、前記第4経路を辿るように変化することを特徴とする請求項1に記載の液体吐出ヘッド。
【請求項4】
前記第1薄膜圧電体の前記収縮期間における変位は、前記第1経路、前記第2経路、前記第3経路は辿らないように変化することを特徴とする請求項3に記載の液体吐出ヘッド。
【請求項5】
前記第1薄膜圧電体の前記第1飽和負電圧における変位量は、前記第1薄膜圧電体の前記第1飽和正電圧における変位量よりも大きいことを特徴とする請求項3に記載の液体吐出ヘッド。
【請求項6】
前記第2薄膜圧電体の第2飽和負電圧から第2飽和正電圧まで電圧を変化させるときの変位は、前記第2飽和負電圧から正の値である第3抗電界までは変位が小さくなる第5経路を、前記第3抗電界から前記第2飽和正電圧までは変位が大きくなる第6経路を、それぞれ辿るように変化し、
前記第2薄膜圧電体の前記第2飽和正電圧から前記第2飽和負電圧まで電圧を変化させるときの変位は、前記第2飽和正電圧から負の値である第4抗電界までは変位が小さくなる第7経路を、前記第4抗電界から前記第2飽和負電圧までは変位が大きくなる第8経路を、それぞれ辿るように変化し、
前記第2薄膜圧電体の前記収縮期間における変位は、前記第6経路を辿るように変化することを特徴とする請求項3に記載の液体吐出ヘッド。
【請求項7】
前記第2薄膜圧電体の前記収縮期間における変位は、前記第5経路、前記第7経路、前記第8経路を辿らないように変化することを特徴とする請求項6に記載の液体吐出ヘッド。
【請求項8】
前記第2薄膜圧電体の前記第2飽和負電圧における変位量は、前記第2薄膜圧電体の前記第2飽和正電圧における変位量よりも大きいことを特徴とする請求項6に記載の液体吐出ヘッド。
【請求項9】
前記第1薄膜圧電体の前記第1飽和負電圧における変位量は、前記第2薄膜圧電体の前記第2飽和正電圧における変位量よりも大きいことを特徴とする請求項8に記載の液体吐出ヘッド。
【請求項10】
前記収縮期間における前記第1薄膜圧電体の変位量は、前記第2薄膜圧電体の変位量の105%以上120%以下であることを特徴とする請求項1または2に記載の液体吐出ヘッド。
(【請求項11】以降は省略されています)
発明の詳細な説明
【技術分野】
【0001】
本発明は、液体吐出ヘッドおよび液体吐出装置に関する。
続きを表示(約 2,300 文字)
【背景技術】
【0002】
印刷用紙等の媒体に対してインク等の液体を吐出する液体吐出ヘッドを備える液体吐出装置が従来から提案される。当該液体吐出装置として、ピエゾ方式のインクジェットプリンターが知られている。ピエゾ方式では、圧力室の壁面の一部を構成する振動板を振動させる圧電素子が用いられる。圧電素子によって振動板を振動させることで、圧力室に充填された液体がノズルから吐出される。
【0003】
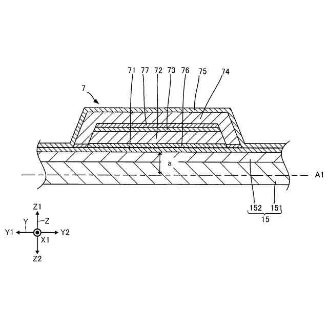
特許文献1に記載の液体吐出ヘッドが有する圧電素子では、第1共通電極、薄膜の下圧電体層、個別電極、薄膜の上圧電体層、および第2共通電極が順に積層される。つまり、当該圧電素子は、2つの薄膜圧電体が積層された構成である。
【先行技術文献】
【特許文献】
【0004】
特開2013-256137号公報
【発明の概要】
【発明が解決しようとする課題】
【0005】
特許文献1のように薄膜圧電体を積層した場合、薄膜圧電体を単一層にする場合に比べて、単位電圧当たりの変位量を2倍近くにすることができる。このため、単一層と同じ電圧で吐出特性を向上させることができたり、定格電圧を低い部品に替えてコストを削減したりすることができる。しかしながら、発明者らの更なる検討の結果、下圧電体層と上圧電体層との各物性を適切な値に設定することにより、より好ましい効果を得られることを見出した。
【課題を解決するための手段】
【0006】
本発明の好適な態様に係る液体吐出ヘッドは、複数の圧力室が設けられた圧力室基板と、振動板と、前記複数の圧力室に対して共通に設けられ、時間によって変化しない基準電圧が印加される第1共通電極と、第1薄膜圧電体と、前記複数の圧力室に対して個別に設けられ、時間によって変化する駆動電圧が印加される個別電極と、第2薄膜圧電体と、前記複数の圧力室に対して共通に設けられ、前記基準電圧が印加される第2共通電極と、が下側から上側にこの順に積層された液体吐出ヘッドであって、液体の吐出のために圧力室を収縮させるときの前記基準電圧と前記駆動電圧とが印加される期間である収縮期間において、前記第1薄膜圧電体の変位量は、前記第2薄膜圧電体の変位量よりも大きい。
【0007】
本発明の好適な態様に係る液体吐出装置は、液体吐出ヘッドと、前記基準電圧と前記駆動電圧を印加するための電圧印加回路と、を有する。
【図面の簡単な説明】
【0008】
第1実施形態に係る液体吐出装置の構成を例示する概略図である。
図1に示す液体吐出ヘッドの分解斜視図である。
図2に示す液体吐出ヘッドの一部の断面図である。
図3に示す液体吐出ヘッドの一部を拡大した断面図である。
図3に示す液体吐出ヘッドの一部を拡大した断面図である。
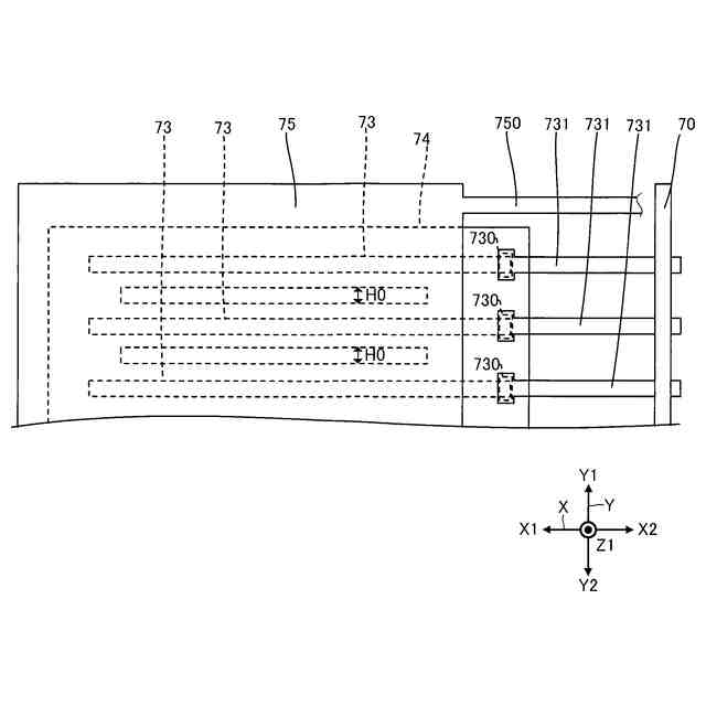
図4の個別電極および第2共通電極の平面的な配置を示す図である。
駆動電圧および基準電圧を説明するための図である。
第1薄膜圧電体および第2薄膜圧電体にかかる印加電圧の例示である。
振動板の中立軸のシフトを説明するための図である。
振動板の中立軸のシフトを説明するための図である。
圧電素子の変位量とインクの吐出量との関係を示す図である。
第1薄膜圧電体のバタフライカーブを示す図である。
第2薄膜圧電体のバタフライカーブを示す図である。
図8に示す印加電圧を第1薄膜圧電体に印加したときのバタフライカーブにおける経路を説明するための図である。
図8に示す印加電圧を第2薄膜圧電体に印加したときのバタフライカーブにおける経路を説明するための図である。
液体吐出ヘッドの製造方法の一部の圧電素子の製造方法を示すフローである。
図16に示す圧電素子の製造方法を説明するための図である。
図16に示す圧電素子の製造方法を説明するための図である。
【発明を実施するための形態】
【0009】
以下、添付図面を参照しながら本発明に係る好適な実施形態を説明する。なお、図面において各部の寸法または縮尺は実際と適宜に異なり、理解を容易にするために模式的に示している部分もある。また、本発明の範囲は、以下の説明において特に本発明を限定する旨の記載がない限り、これらの形態に限られない。なお、「等しい」とは、厳密に等しい場合のほか、測定誤差程度の差異を有する場合を含む。また、「要素αと要素βとが積層されている」とは、要素αおよび要素βが上下方向に並んでいればよく、要素αおよび要素βが直接的に接触していることは問わない。
【0010】
以下の説明は、互いに交差するX軸、Y軸およびZ軸を適宜に用いて行う。X軸に沿う一方向をX1方向といい、X1方向と反対の方向をX2方向という。Y軸に沿って互いに反対の方向をY1方向およびY2方向という。Z軸に沿って互いに反対の方向をZ1方向およびZ2方向という。Z軸に沿う方向でみることを「平面視」という。Z軸は、典型的には鉛直な軸である。Z1方向は上側であり、Z2方向は下側である。ただし、Z軸は、鉛直な軸でなくともよい。また、X軸、Y軸およびZ軸は、典型的には互いに直交するが、これに限定されず、例えば、80°以上100°以下の範囲内の角度で交差すればよい。
(【0011】以降は省略されています)
この特許をJ-PlatPat(特許庁公式サイト)で参照する
関連特許
個人
箔熱転写装置
1か月前
シヤチハタ株式会社
印判
4か月前
東レ株式会社
凸版印刷版原版
10か月前
シヤチハタ株式会社
反転式印判
9か月前
三菱製紙株式会社
感熱記録材料
10か月前
キヤノン株式会社
記録装置
26日前
三光株式会社
感熱記録材料
6か月前
独立行政法人 国立印刷局
印刷物
7か月前
日本製紙株式会社
感熱記録体
7か月前
株式会社リコー
液体吐出装置
4か月前
株式会社リコー
液体吐出装置
7か月前
株式会社リコー
画像形成装置
10日前
独立行政法人 国立印刷局
貼付装置
1か月前
株式会社リコー
印刷システム
14日前
株式会社リコー
液体吐出装置
8か月前
株式会社リコー
画像形成装置
14日前
株式会社リコー
液体吐出装置
7か月前
株式会社リコー
液体吐出装置
5か月前
株式会社リコー
液体吐出装置
6か月前
独立行政法人 国立印刷局
記録媒体
8か月前
株式会社リコー
画像形成装置
1か月前
株式会社リコー
液体吐出装置
2か月前
株式会社リコー
液体吐出装置
4か月前
独立行政法人 国立印刷局
貼付機構
2か月前
フジコピアン株式会社
中間転写シート
10か月前
ブラザー工業株式会社
プリンタ
2か月前
キヤノン株式会社
画像形成装置
7か月前
キヤノン株式会社
画像形成装置
5か月前
キヤノン株式会社
画像形成装置
8か月前
キヤノン株式会社
画像形成装置
3か月前
ブラザー工業株式会社
プリンタ
8か月前
キヤノン株式会社
画像形成装置
10か月前
独立行政法人 国立印刷局
潜像形成体
10日前
キヤノン株式会社
印刷制御装置
10か月前
ブラザー工業株式会社
プリンタ
4か月前
ブラザー工業株式会社
プリンタ
2か月前
続きを見る
他の特許を見る