TOP
|
特許
|
意匠
|
商標
特許ウォッチ
Twitter
他の特許を見る
公開番号
2025151806
公報種別
公開特許公報(A)
公開日
2025-10-09
出願番号
2024053396
出願日
2024-03-28
発明の名称
印刷装置、及び印刷装置の制御方法
出願人
セイコーエプソン株式会社
代理人
個人
,
個人
,
個人
主分類
B41J
29/38 20060101AFI20251002BHJP(印刷;線画機;タイプライター;スタンプ)
要約
【課題】搬送速度を適正に制御する。
【解決手段】プリンター1は、駆動モーター152と、駆動モーター152によって駆動され、記録媒体Pを搬送する搬送ローラー153と、記録媒体Pに印刷する記録ヘッド151と、記録ヘッド151が消費する電流量である第1電流量QAを算出する第1算出部111と、駆動モーター152が消費する電流量である第2電流量QBを算出する第2算出部112と、第1電流量QA、及び第2電流量QBを加算して、加算電流量QTを算出する加算部113と、加算電流量QTに基づいて、記録媒体Pの搬送速度Vを制御する速度制御部115と、を備える。
【選択図】図1
特許請求の範囲
【請求項1】
駆動モーターと、
前記駆動モーターによって駆動され、記録媒体を搬送する搬送ローラーと、
前記記録媒体に印刷する記録ヘッドと、
前記記録ヘッドが消費する電流量である第1電流量を算出する第1算出部と、
前記駆動モーターが消費する電流量である第2電流量を算出する第2算出部と、
前記第1電流量、及び第2電流量を加算して、加算電流量を算出する加算部と、
前記加算電流量に基づいて、前記記録媒体の搬送速度を制御する搬送速度制御部と、
を備える、印刷装置。
続きを表示(約 1,200 文字)
【請求項2】
前記記録ヘッドは、サーマルヘッドであり、
前記第1算出部は、印刷データに基づき、前記第1電流量を算出する、
請求項1に記載の印刷装置。
【請求項3】
複数の周辺機器に対して電力を供給可能な接続端子と、
前記接続端子に接続された前記周辺機器が消費する電流値である周辺電流値を検出する電流検出部と、
を備え、
前記搬送速度制御部は、前記加算電流量、及び前記周辺電流値に基づいて、前記搬送速度を制御する、
請求項1に記載の印刷装置。
【請求項4】
前記電流検出部は、電流センサーである、
請求項3に記載の印刷装置。
【請求項5】
前記加算電流量と前記搬送速度とを対応付けて記憶する複数のテーブルを記憶するテーブル記憶部と、
前記周辺電流値に基づいて、前記複数のテーブルの中から1つのテーブルを選択し、前記1つのテーブルを参照して、前記加算電流量に対応する搬送速度に、前記搬送速度の目標値である目標速度を決定する速度決定部を備え、
前記搬送速度制御部は、前記速度決定部が決定した目標速度に、前記搬送速度を制御する、
請求項3に記載の印刷装置。
【請求項6】
前記駆動モーターは、直流モーターであり、
前記搬送速度制御部は、前記駆動モーターをPWM制御することによって、前記搬送速度を制御し、
前記第2算出部は、前記駆動モーターへの印加電圧値と、前記PWM制御のオン時間と、前記駆動モーターの回転速度と、印刷データの1ラインに対応する前記記録媒体の搬送量を前記搬送ローラーが搬送する時間である搬送時間と、に基づき、前記第2電流量を算出する、
請求項1から請求項5のいずれか1項に記載の印刷装置。
【請求項7】
前記第2算出部は、前記印刷データの所定数のラインについて、前記第2電流量の平均値を算出し、
前記加算部は、前記第1電流量と、前記第2電流量の平均値とを加算して前記加算電流量を算出する、
請求項6に記載の印刷装置。
【請求項8】
前記第2算出部は、前記所定数を、前記搬送速度に応じて決定する、
請求項7に記載の印刷装置。
【請求項9】
駆動モーターと、
前記駆動モーターによって駆動され、記録媒体を搬送する搬送ローラーと、
前記記録媒体に印刷する記録ヘッドと、
を備える、印刷装置の制御方法であって、
前記記録ヘッドが消費する電流量である第1電流量を算出する第1算出ステップと、
前記駆動モーターが消費する電流量である第2電流量を算出する第2算出ステップと、
前記第1電流量、及び第2電流量を加算して、加算電流量を算出する加算ステップと、
前記加算電流量に基づいて、前記記録媒体の搬送速度を制御する搬送制御ステップと、
を含む、印刷装置の制御方法。
発明の詳細な説明
【技術分野】
【0001】
本開示は、印刷装置、及び印刷装置の制御方法に関する。
続きを表示(約 1,500 文字)
【背景技術】
【0002】
特許文献1には、印刷データの次の1ラインの印字ドット数を算出し、印字ドット数からヘッドの消費電流量を計算し、消費電流量に相応する消費電流量閾値に対応付けられた印字速度を選択し、使用する印字速度として決定することが記載されている。
【先行技術文献】
【特許文献】
【0003】
特開2018-51888号公報
【発明の概要】
【発明が解決しようとする課題】
【0004】
しかしながら、印字する際に印刷装置ではヘッドと同時に搬送モーターも駆動しており、消費電流量には搬送モーターの消費電流量も加味する必要がある。そこで、特許文献1に記載の技術では、過剰に電源を保護して印字速度が下がってしまう可能性があった。
【課題を解決するための手段】
【0005】
上記課題を解決する一態様に係る印刷装置は、駆動モーターと、前記駆動モーターによって駆動され、記録媒体を搬送する搬送ローラーと、前記記録媒体に印刷する記録ヘッドと、前記記録ヘッドが消費する電流量である第1電流量を算出する第1算出部と、前記駆動モーターが消費する電流量である第2電流量を算出する第2算出部と、前記第1電流量、及び第2電流量を加算して、加算電流量を算出する加算部と、前記加算電流量に基づいて、前記記録媒体の搬送速度を制御する搬送速度制御部と、を備える、印刷装置である。
【図面の簡単な説明】
【0006】
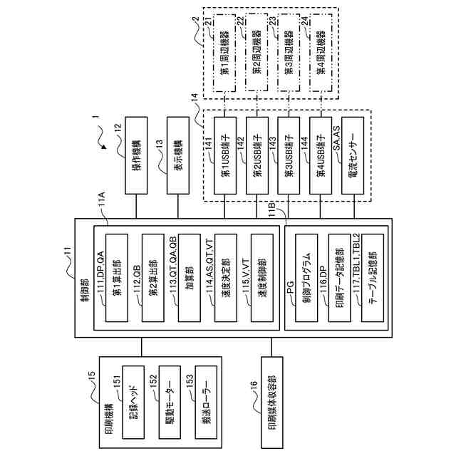
本実施形態に係るプリンターの構成の一例を示す図。
第1テーブルの一例を示す図表。
第2テーブルの一例を示す図表。
制御部の処理の一例を示すフローチャート。
【発明を実施するための形態】
【0007】
以下、図面を参照して本実施形態について説明する。
【0008】
まず、図1を参照して、本実施形態係るプリンター1の構成について説明する。図1は、第1実施形態に係るプリンター1の構成の一例を示す図である。
図1に示すように、プリンター1は、制御部11と、操作機構12と、表示機構13と、電力供給機構14と、印刷機構15と、印刷媒体収容部16と、を備える。
制御部11は、プリンター1の各部の動作を制御する。操作機構12、表示機構13、電力供給機構14、印刷機構15の各々は、制御部11と通信可能に構成される。
プリンター1は、「印刷装置」の一例に対応する。
【0009】
制御部11は、CPU(Central Processing Unit)等のプロセッサー11A、ROM(Read Only Memory)等のメモリー11Bを備える。メモリー11Bは、制御プログラムPGを記憶する。
【0010】
プロセッサー11Aは、複数のプロセッサーにより構成されてもよいし、単一のプロセッサーで構成されてもよい。
プロセッサー11Aが、後述する各部の機能を実現するようにプログラムされたハードウェアであってもよい。すなわち、プロセッサー11Aは、制御プログラムPGをハードウェア回路として搭載した構成であってもよい。この場合には、例えば、プロセッサー11Aは、ASIC(Application Specific Integrated Circuit)、FPGA(Field―Programmable Gate Array)等で構成される。
以下の説明では、プロセッサー11Aが制御プログラムPGを実行することによって、制御部11の各種の機能を実現する場合について説明する。
(【0011】以降は省略されています)
この特許をJ-PlatPat(特許庁公式サイト)で参照する
関連特許
個人
箔熱転写装置
1か月前
シヤチハタ株式会社
印判
4か月前
東レ株式会社
凸版印刷版原版
10か月前
シヤチハタ株式会社
反転式印判
9か月前
キヤノン株式会社
記録装置
24日前
三光株式会社
感熱記録材料
6か月前
独立行政法人 国立印刷局
印刷物
7か月前
独立行政法人 国立印刷局
貼付機構
1か月前
株式会社リコー
液体吐出装置
5か月前
株式会社リコー
液体吐出装置
2か月前
株式会社リコー
液体吐出装置
4か月前
独立行政法人 国立印刷局
貼付装置
1か月前
株式会社リコー
液体吐出装置
7か月前
日本製紙株式会社
感熱記録体
7か月前
株式会社リコー
液体吐出装置
6か月前
株式会社リコー
画像形成装置
1か月前
株式会社リコー
液体吐出装置
7か月前
株式会社リコー
画像形成装置
12日前
株式会社リコー
液体吐出装置
8か月前
株式会社リコー
画像形成装置
8日前
株式会社リコー
液体吐出装置
4か月前
株式会社リコー
印刷システム
12日前
独立行政法人 国立印刷局
記録媒体
8か月前
ブラザー工業株式会社
プリンタ
1か月前
キヤノン株式会社
画像形成装置
7か月前
キヤノン株式会社
画像処理装置
4か月前
独立行政法人 国立印刷局
潜像印刷物
1か月前
ブラザー工業株式会社
プリンタ
1か月前
キヤノン株式会社
画像形成装置
8か月前
キヤノン株式会社
画像形成装置
5か月前
キヤノン株式会社
画像形成装置
10か月前
フジコピアン株式会社
中間転写シート
9か月前
キヤノン株式会社
印刷制御装置
10か月前
キヤノン株式会社
画像形成装置
3か月前
ブラザー工業株式会社
プリンタ
6か月前
ブラザー工業株式会社
プリンタ
6か月前
続きを見る
他の特許を見る