TOP
|
特許
|
意匠
|
商標
特許ウォッチ
Twitter
他の特許を見る
公開番号
2025152554
公報種別
公開特許公報(A)
公開日
2025-10-10
出願番号
2024054492
出願日
2024-03-28
発明の名称
映像処理装置および映像処理システム
出願人
ローム株式会社
代理人
弁理士法人レクスト国際特許事務所
主分類
H04N
23/60 20230101AFI20251002BHJP(電気通信技術)
要約
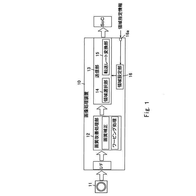
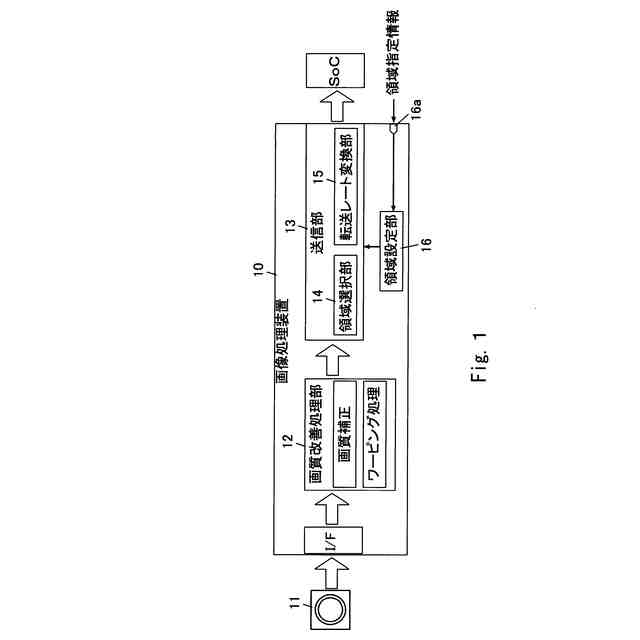
【課題】カメラからの動画像をSoC等の後段の装置にデータ転送する際のデータ量削減かつ原画質で最小限のデータ転送ができる映像処理装置を提供する。
【解決手段】映像処理装置は、動画像を取得する動画像取得部と、動画像の少なくとも1つの部分領域を指定する領域指定情報によって指定されている部分領域を動画像から抽出し、部分領域のみから部分動画像を生成する部分動画像生成部と、部分動画像のデータ量に応じて切り替えた転送レートで部分動画像のデータを送信する送信部と、部分動画像生成部に領域指定情報を供給し且つ送信部に転送レートを示す情報を供給する領域設定部と、を有する。
【選択図】図1
特許請求の範囲
【請求項1】
動画像を取得する動画像取得部と、
前記動画像の少なくとも1つの部分領域を指定する領域指定情報によって指定されている前記部分領域を前記動画像から抽出し、前記部分領域のみから部分動画像を生成する部分動画像生成部と、
前記部分動画像のデータ量に応じて切り替えた転送レートで前記部分動画像のデータを送信する送信部と
前記部分動画像生成部に前記領域指定情報を供給し且つ前記送信部に転送レートを示す情報を供給する領域設定部と、を有することを特徴とする映像処理装置。
続きを表示(約 1,400 文字)
【請求項2】
前記部分動画像生成部は、前記動画像における前記部分領域の位置および大きさに基づき前記部分動画像のデータおよびフレーム同期信号を生成する
ことを特徴とする請求項1に記載の映像処理装置。
【請求項3】
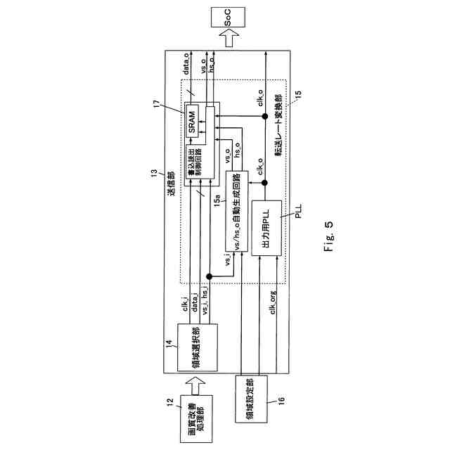
前記送信部は、
前記領域設定部に設定された前記部分動画像のデータの転送レートの出力クロックを設定する位相同期回路と、
前記領域設定部の設定により前記位相同期回路からの前記出力クロックに基づき前記部分動画像生成部からの前記フレーム同期信号から前記部分動画像のデータのフレーム同期信号およびライン同期信号を生成する部分画像同期信号生成回路と、
前記位相同期回路からの前記出力クロックに基づき、前記部分画像同期信号生成回路からの前記部分動画像のデータのフレーム同期信号およびライン同期信号並びに前記部分動画像のデータを送出するFIFOバッファと、を含む
ことを特徴とする請求項2に記載の映像処理装置。
【請求項4】
前記送信部は、
前記領域設定部に設定された前記部分動画像のデータの転送レートの出力クロックを設定する位相同期回路と、
前記領域設定部の設定により前記位相同期回路からの前記出力クロックに基づき前記部分動画像生成部からの前記フレーム同期信号から前記部分動画像のデータのフレーム同期信号およびライン同期信号を生成する部分画像同期信号生成回路と、
前記位相同期回路からの前記出力クロックに基づき、前記部分画像同期信号生成回路からの前記部分動画像のデータのフレーム同期信号およびライン同期信号並びに前記部分動画像のデータを送出するSRAMバッファと、を含む
ことを特徴とする請求項2に記載の映像処理装置。
【請求項5】
前記部分動画像生成部は、前記部分領域が複数指定されている場合、抽出された複数の前記部分領域に対して所定の結合処理を施し、前記部分動画像として1の結合画像のデータを生成する
ことを特徴とする請求項1に記載の映像処理装置。
【請求項6】
前記送信部は、前記部分動画像のデータを前記動画像取得部で取得した前記動画像と同一の解像度画素データ密度でデータ転送する
ことを特徴とする請求項1に記載の映像処理装置。
【請求項7】
前記動画像取得部で取得した前記動画像における各フレームの画質改善を行うために前記部分動画像生成部の前段に画質改善処理部を有する
ことを特徴とする請求項1に記載の映像処理装置。
【請求項8】
前記画質改善処理部は、前記動画像取得部で取得した前記動画像における各フレームの歪曲収差を補正するワーピング処理を行う
ことを特徴とする請求項7に記載の映像処理装置。
【請求項9】
前記領域設定部は前記領域設定部に前記領域指定情報を入力する入力端子を含む
ことを特徴とする請求項1~8のいずれか一項に記載の映像処理装置。
【請求項10】
請求項9に記載の映像処理装置と、前記動画像取得部に接続され、前記動画像として被写体を撮像して前記動画像のデータを取得するイメージセンサを含むカメラとを有する
ことを特徴とする映像処理システム。
(【請求項11】以降は省略されています)
発明の詳細な説明
【技術分野】
【0001】
本発明は、映像処理装置および映像処理システムに関する。
続きを表示(約 1,600 文字)
【背景技術】
【0002】
映像処理システムオンチップは、高解像度写真、ビデオ録画、コンピュータビジョン、拡張現実(AR)、自律車両走行等の高度な機能を実現する、最新の映像処理デバイスやシステムの中核であり、映像処理システムオンチップの需要が急増している。安全運転を支援する監視システムであるDMS(ドライバーモニタリングシステム)では、高画質な映像(以下、動画像ともいう)を求められている。例えば、車内に設置された専用カメラによってドライバーの顔を撮像し、撮像範囲から目、口等の特徴を検出する特徴量抽出と識別処理を行う車載機器向けの画像認識装置である画像認識システムオンチップ(以下、単に、SoCともいう)の必要性が高まっている。
【0003】
近年のDMSにおいて、カメラの高解像度化が更に進み、それに伴いデータ転送時の画像のデータ量が増加するため、画像のデータ圧縮をしてデータ量を削減してSoCへ転送している。
【0004】
特許文献1には、CCDにより取得された画像データに基づいて撮像環境の監視を行う映像監視システムであって、CCDにより取得された第1解像度の全体画像データを第1解像度よりも解像度の低い第2解像度の全体画像データに変換する解像度変換手段と、全体画像データをトリミングして第1解像度のトリミング画像データを切り出すトリミング手段と、全体画像データおよびトリミング画像データを記録又は転送させる画像データ処理手段とを備えた映像監視システムが開示されている。
【先行技術文献】
【特許文献】
【0005】
特開2004-120341号公報
【発明の概要】
【発明が解決しようとする課題】
【0006】
しかしながら、上記の特許文献1に開示された映像監視システムではトリミングした画像を圧縮しているが、画像圧縮は画質劣化につながる課題がある。
【0007】
本発明は、以上の従来技術の問題点に鑑みなされたものであり、SoCでカメラからの動画像から人物の認識と特徴検知を精度高く行うため、カメラからの動画像をSoC等の後段の装置にデータ転送する際のデータ量削減かつ原画質で最小限のデータ転送ができる映像処理装置および映像処理システムを提供することを目的の一例とする。
【課題を解決するための手段】
【0008】
本発明の映像処理装置は、動画像を取得する動画像取得部と、
前記動画像の少なくとも1つの部分領域を指定する領域指定情報によって指定されている前記部分領域を前記動画像から抽出し、前記部分領域のみから部分動画像を生成する部分動画像生成部と、
前記部分動画像のデータ量に応じて切り替えた転送レートで前記部分動画像のデータを送信する送信部と
前記部分動画像生成部に前記領域指定情報を供給し且つ前記送信部に転送レートを示す情報を供給する領域設定部と、を有することを特徴とする。
【0009】
本発明の映像処理システムは、前記映像処理装置と、前記動画像取得部に接続され、前記動画像として被写体を撮像して前記動画像のデータを取得するイメージセンサを含むカメラとを有することを特徴とする。
【0010】
本発明の映像処理システムは、前記映像処理装置と、前記送信部に接続され且つデータ転送された前記部分動画像のデータから特徴検知を行う画像認識装置とを含み、
前記画像認識装置は、前記部分動画像を取得して前記部分動画像に基づいて前記部分領域を決定し、当該決定された部分領域を指定する前記領域指定情報を前記領域設定部に入力することを特徴とする。
【発明の効果】
(【0011】以降は省略されています)
この特許をJ-PlatPat(特許庁公式サイト)で参照する
関連特許
ローム株式会社
RAM
1日前
ローム株式会社
RAM
1日前
ローム株式会社
発振回路
1日前
ローム株式会社
駆動回路
3日前
ローム株式会社
電源装置
1日前
ローム株式会社
半導体装置
2日前
ローム株式会社
テスト回路
2日前
ローム株式会社
半導体装置
2日前
ローム株式会社
半導体装置
2日前
ローム株式会社
半導体装置
2日前
ローム株式会社
半導体装置
3日前
ローム株式会社
半導体装置
10日前
ローム株式会社
半導体装置
3日前
ローム株式会社
暗号化装置
2日前
ローム株式会社
半導体装置
8日前
ローム株式会社
半導体装置
8日前
ローム株式会社
半導体装置
8日前
ローム株式会社
メモリ装置
8日前
ローム株式会社
半導体装置
8日前
ローム株式会社
半導体装置
8日前
ローム株式会社
半導体装置
4日前
ローム株式会社
半導体装置
3日前
ローム株式会社
半導体装置
1日前
ローム株式会社
半導体装置
1日前
ローム株式会社
半導体装置
1日前
ローム株式会社
半導体装置
1日前
ローム株式会社
半導体装置
1日前
ローム株式会社
信号出力回路
8日前
ローム株式会社
時間測定回路
3日前
ローム株式会社
無線通信回路
3日前
ローム株式会社
無線通信装置
2日前
ローム株式会社
静電気保護素子
1日前
ローム株式会社
異常検知システム
1日前
ローム株式会社
フォトダイオード
3日前
ローム株式会社
不揮発性メモリ装置
8日前
ローム株式会社
不揮発性メモリ装置
8日前
続きを見る
他の特許を見る