TOP
|
特許
|
意匠
|
商標
特許ウォッチ
Twitter
他の特許を見る
10個以上の画像は省略されています。
公開番号
2025152841
公報種別
公開特許公報(A)
公開日
2025-10-10
出願番号
2024054969
出願日
2024-03-28
発明の名称
板状支持体、電気化学素子、電気化学装置およびエネルギーシステム
出願人
大阪瓦斯株式会社
代理人
弁理士法人R&C
主分類
H01M
8/1226 20160101AFI20251002BHJP(基本的電気素子)
要約
【課題】板状支持体の内部流路の高さのバラツキを抑制し、高性能な電気化学素子や電気化学モジュール、電気化学装置等を実現可能な技術を提供する。
【解決手段】電気化学反応部を支持する金属製の板状支持体10であって、接合された2つの板状体1,2と、板状体1,2の対向面間に形成され気体が通流可能な内部流路A1と、内部流路A1から電気化学反応部への気体の通流を許容する気体通流許容部と、を備える。板状体1,2の少なくとも一方に、内部流路A1の側へ凹むエンボス部位15が形成されており、エンボス部位15の底部が板状体1,2の他方に接合されている。
【選択図】図7
特許請求の範囲
【請求項1】
電気化学反応部を支持する金属製の板状支持体であって、
接合された2つの板状体と、前記板状体の対向面間に形成され気体が通流可能な内部流路と、前記内部流路から前記電気化学反応部への気体の通流を許容する気体通流許容部と、を備え、
前記板状体の少なくとも一方に、前記内部流路の側へ凹むエンボス部位が形成されており、
前記エンボス部位の底部が前記板状体の他方に接合されている板状支持体。
続きを表示(約 890 文字)
【請求項2】
前記エンボス部位の底部が前記板状体の他方に溶接されている請求項1に記載の板状支持体。
【請求項3】
前記エンボス部位の前記底部に対応する位置に、2つの前記板状体を貫通する貫通孔が形成されている請求項1に記載の板状支持体。
【請求項4】
前記貫通孔の全周に亘って、前記内部流路からの気体の漏出を抑制する溶接部位が設けられている請求項3に記載の板状支持体。
【請求項5】
前記板状体の少なくとも一方における長手方向の中間部に前記気体通流許容部が設けられており、
前記エンボス部位が、前記板状体の少なくとも一方における長手方向の端部に設けられている請求項1に記載の板状支持体。
【請求項6】
前記内部流路は、複数の副流路と、前記副流路へ気体を分配する分配部と、前記副流路からの気体が合流する合流部と、を有し、
前記エンボス部位が、前記板状体における前記分配部に対応する位置、及び前記板状体における前記合流部に対応する位置、の少なくとも一方に設けられている請求項1に記載の板状支持体。
【請求項7】
請求項1から6のいずれか1項に記載の板状支持体と、前記板状支持体に支持された前記電気化学反応部と、を有する電気化学素子。
【請求項8】
請求項7に記載の電気化学素子と燃料変換器とを少なくとも有し、前記電気化学素子に対して燃料変換器からの還元性成分ガスを供給する、あるいは前記電気化学素子から燃料変換器に還元性成分ガスを供給する燃料供給部を有する電気化学装置。
【請求項9】
請求項7に記載の電気化学素子と、前記電気化学素子から電力を取り出すあるいは前記電気化学素子に電力を流通する電力変換器とを少なくとも有する電気化学装置。
【請求項10】
請求項8に記載の電気化学装置と、前記電気化学装置もしくは燃料変換器から排出される熱を再利用する排熱利用部とを有するエネルギーシステム。
(【請求項11】以降は省略されています)
発明の詳細な説明
【技術分野】
【0001】
本発明は、板状支持体、電気化学素子、電気化学装置およびエネルギーシステムに関する。
続きを表示(約 1,800 文字)
【背景技術】
【0002】
特許文献1及び2には、電気化学反応部と、電気化学反応部を支持する板状支持体と、を備えた電気化学素子、複数の電気化学素子が積層されて成る電気化学素子積層体、及び電気化学素子積層体を内蔵し燃料電池として機能する電気化学モジュールが開示されている。板状支持体は、互いに接合された第1板状体及び第2板状体と、第1板状体と第2板状体の対抗面間に形成され第1ガス(還元性成分ガスまたは酸化性成分ガス)が通流可能な内部流路と、内部流路から電気化学反応部への第1ガスの通流を許容する気体通流許容部と、を備える。第1ガスが、内部流路から電気化学反応部へ供給される。
【先行技術文献】
【特許文献】
【0003】
特許第7241588号公報
特許第7345267号公報
【発明の概要】
【発明が解決しようとする課題】
【0004】
電気化学モジュールでの発電効率を高めるために、電気化学素子への第1ガスの供給量を複数の電気化学素子の間で均一化する必要がある。また、第1ガスが内部流路から電気化学反応部に供給されずに排出されると、発電効率が低下してしまう。この問題を解決するため、特許文献1の電気化学素子では、圧力損失を生じさせるための供給構造体が内部流路に設けられている。これにより、複数の電気化学素子への第1ガスの分配の均一化、及び内部流路から電気化学反応部への第1ガスの供給の均一化が図られている。また、特許文献2の電気化学素子では、内部流路に乱流形成体を設置することにより、電気化学反応部に供給されずに排出される第1ガスを減少させ、発電効率が高められている。
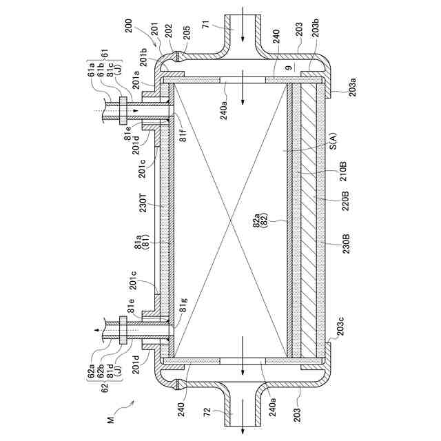
【0005】
発明者らは、以下述べる新たな課題を見い出し、本発明の構成に想到した。上述した従来の板状支持体では、第1板状体と第2板状体とが外周縁部の溶接により接合されている。そのため、外周縁部から離れた位置では第1板状体と第2板状体との距離にバラツキが生じる可能性がある。その場合、内部流路の高さにバラツキが生じるので、高さが大きい領域がショートパス経路となり、電気化学反応部に供給されずに排出される第1ガスが増加してしまう可能性がある。また、複数の電気化学素子の間で内部流路の高さにバラツキが生じ得る。その場合、複数の電気化学素子の間で内部流路の圧力損失にバラツキが生じ、複数の電気化学素子の間で第1ガスの供給量が不均一になってしまう可能性がある。
【0006】
本発明の目的は、板状支持体の内部流路の高さのバラツキを抑制し、高性能な電気化学素子や電気化学モジュール、電気化学装置等を実現可能な技術を提供することにある。
【課題を解決するための手段】
【0007】
本発明に係る板状支持体の特徴構成は、電気化学反応部を支持する金属製の板状支持体であって、接合された2つの板状体と、前記板状体の対向面間に形成され気体が通流可能な内部流路と、前記内部流路から前記電気化学反応部への気体の通流を許容する気体通流許容部と、を備え、前記板状体の少なくとも一方に、前記内部流路の側へ凹むエンボス部位が形成されており、前記エンボス部位の底部が前記板状体の他方に接合されている点にある。
【0008】
上記特徴構成によれば、エンボス部位の底部が板状支持体の他方に接合されることにより、2つの板状体の距離のバラツキが小さくなる。その結果、内部流路の高さのバラツキを抑制することができる。これにより、ショートパス経路の発生が抑制され、電気化学反応部に供給されずに排出される気体の発生が抑制される。また、複数の電気化学素子の間での内部流路の圧力損失のバラツキを抑制することができる。その結果、複数の電気化学素子の間で気体の供給量が均一化される。すなわち、本発明によれば高性能な電気化学素子及び電気化学モジュールを実現することが可能となる。
【0009】
本発明に係る板状支持体の更なる特徴構成は、前記エンボス部位の底部が前記板状体の他方に溶接されている点にある。
【0010】
上記特徴構成によれば、エンボス部位の底部が板状支持体の他方に溶接されることにより、2つの板状体の距離のバラツキを更に小さくすることができる。
(【0011】以降は省略されています)
この特許をJ-PlatPat(特許庁公式サイト)で参照する
関連特許
大阪瓦斯株式会社
燃焼装置
7日前
大阪瓦斯株式会社
蓄電装置
1か月前
大阪瓦斯株式会社
探査装置
6日前
大阪瓦斯株式会社
給湯装置
16日前
大阪瓦斯株式会社
撥水性塗料
5日前
大阪瓦斯株式会社
ガスコンロ
16日前
大阪瓦斯株式会社
衣類乾燥機
1か月前
大阪瓦斯株式会社
加熱調理器
1か月前
大阪瓦斯株式会社
衣類乾燥機
1か月前
大阪瓦斯株式会社
フライヤー
13日前
大阪瓦斯株式会社
衣類乾燥機
1か月前
大阪瓦斯株式会社
ガラス複合体
8日前
大阪瓦斯株式会社
ガラス複合体
8日前
大阪瓦斯株式会社
音声出力装置
7日前
大阪瓦斯株式会社
警報システム
7日前
大阪瓦斯株式会社
警報システム
7日前
大阪瓦斯株式会社
管理システム
7日前
大阪瓦斯株式会社
蓄電制御装置
20日前
大阪瓦斯株式会社
蓄電制御装置
6日前
大阪瓦斯株式会社
高耐熱組成物
6日前
大阪瓦斯株式会社
酸化物複合体
6日前
大阪瓦斯株式会社
地中給電設備
26日前
大阪瓦斯株式会社
鮮度維持装置
26日前
大阪瓦斯株式会社
燃料電池装置
26日前
大阪瓦斯株式会社
異常診断装置
27日前
大阪瓦斯株式会社
異常診断装置
27日前
大阪瓦斯株式会社
異常診断装置
27日前
大阪瓦斯株式会社
異常診断装置
27日前
大阪瓦斯株式会社
異常診断装置
27日前
大阪瓦斯株式会社
異常診断装置
27日前
大阪瓦斯株式会社
異常診断装置
27日前
大阪瓦斯株式会社
異常診断装置
27日前
大阪瓦斯株式会社
異常診断装置
27日前
大阪瓦斯株式会社
動作制御装置
6日前
大阪瓦斯株式会社
熱供給システム
16日前
大阪瓦斯株式会社
蓄電池管理装置
20日前
続きを見る
他の特許を見る