TOP特許意匠商標
特許ウォッチ Twitter
10個以上の画像は省略されています。
公開番号2025153284
公報種別公開特許公報(A)
公開日2025-10-10
出願番号2024055676
出願日2024-03-29
発明の名称三次元造形物の製造方法、及び、固定具
出願人セイコーエプソン株式会社
代理人個人,個人,個人
主分類B29C 64/188 20170101AFI20251002BHJP(プラスチックの加工;可塑状態の物質の加工一般)
要約【課題】三次元造形物に対して切削加工を行う際に、造形物を安定して固定可能な技術を提供する。
【解決手段】三次元造形物の製造方法は、吐出部から造形材料を吐出して層を積層方向に積層することによって造形体を造形する第1工程と、積層方向に交差する方向から造形体に向けて突き出す複数の第1ピンを造形体に接触させて造形体を固定する第2工程と、固定された造形体を切削する第3工程と、を有する。
【選択図】図6
特許請求の範囲【請求項1】
三次元造形物の製造方法であって、
吐出部から造形材料を吐出して層を積層方向に積層することによって造形体を造形する第1工程と、
前記積層方向に交差する方向から前記造形体に向けて突き出す複数の第1ピンを前記造形体に接触させて前記造形体を固定する第2工程と、
固定された前記造形体を切削する第3工程と、
を有する三次元造形物の製造方法。
続きを表示(約 790 文字)【請求項2】
請求項1に記載の三次元造形物の製造方法であって、
前記第2工程において、前記複数の第1ピンを、前記造形体の側面のうち、前記吐出部の主走査方向に沿った側面に接触させる、三次元造形物の製造方法。
【請求項3】
請求項1に記載の三次元造形物の製造方法であって、
前記第2工程において、前記造形体に突き刺すように前記複数の第1ピンを前記造形体に接触させる、三次元造形物の製造方法。
【請求項4】
請求項3に記載の三次元造形物の製造方法であって、
前記第2工程において、前記複数の第1ピンを斜め下方に向けて前記造形体に突き刺す、三次元造形物の製造方法。
【請求項5】
請求項1に記載の三次元造形物の製造方法であって、
前記第2工程において、前記複数の第1ピンを前記造形体に接触させると共に、前記積層方向に沿って前記造形体に向けて突き出す複数の第2ピンを前記造形体に接触させて前記造形体を固定する、三次元造形物の製造方法。
【請求項6】
請求項1に記載の三次元造形物の製造方法であって、
前記第2工程において、前記複数の第1ピンは、前記造形体の高さの3分の1の高さよりも高く、且つ、前記造形体の高さの2分の1の高さよりも低い位置で前記造形体に接触させる、三次元造形物の製造方法。
【請求項7】
請求項1に記載の三次元造形物の製造方法に用いられる固定具であって、
前記造形体が載置される基台と、
前記積層方向に垂直な方向において、前記造形体を挟んで前記基台に設置された固定部と、
を備え、
前記固定部は、前記複数の第1ピンを有し、前記複数の第1ピンを前記造形体に接触させることで前記造形体を固定する、
固定具。

発明の詳細な説明【技術分野】
【0001】
本開示は、三次元造形物の製造方法、及び、固定具に関する。
続きを表示(約 1,700 文字)【背景技術】
【0002】
特許文献1には、形材をバイスによってクランプし、切削加工を行う技術が開示されている。
【先行技術文献】
【特許文献】
【0003】
特開2015-20218号公報
【発明の概要】
【発明が解決しようとする課題】
【0004】
三次元造形装置によって造形した造形物は、その側面に凹凸を有することが多い。そのため、造形物に対して切削加工を行う際に、造形物をバイスによって安定して固定することが難しい。
【課題を解決するための手段】
【0005】
本開示の第1の形態によれば、三次元造形物の製造方法が提供される。この製造方法は、吐出部から造形材料を吐出して層を積層方向に積層することによって造形体を造形する第1工程と、前記積層方向に交差する方向から前記造形体に向けて突き出す複数の第1ピンを前記造形体に接触させて前記造形体を固定する第2工程と、固定された前記造形体を切削する第3工程と、を有する。
【0006】
本開示の第2の形態によれば、第1の形態に記載の三次元造形物の製造方法に用いられる固定具が提供される。この固定具は、前記造形体が載置される基台と、前記造形体を挟んで前記基台に設置された固定部と、を備え、前記固定部は、前記複数の第1ピンを有し、前記複数の第1ピンを前記造形体に接触させることで前記造形体を固定する。
【図面の簡単な説明】
【0007】
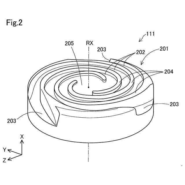
射出成形装置の概略構成を示す断面図である。
第1フラットスクリューの概略構成を示す斜視図である。
第1バレルの概略平面図である。
三次元造形装置の概略構成を示す説明図である。
造形ユニットの概略構成を示す説明図である。
三次元造形物の製造方法を示す工程図である。
造形体の一例を示す斜視図である。
造形体が固定具に固定された状態を示す斜視図である。
固定ブロックの内部構造を示す説明図である。
ベースプレートに造形体を固定する様子を示す説明図である。
可動型が組み立てられた状態を示す斜視図である。
第2実施形態における固定具の斜視図である。
第1ピンを斜め下方に向けて造形体に接触させた図である。
【発明を実施するための形態】
【0008】
A.第1実施形態:
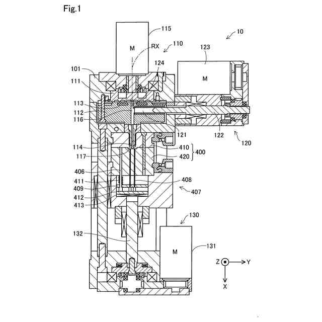
図1は、射出成形装置10の概略構成を示す断面図である。射出成形装置10が備える成形型400の一部は、本実施形態における三次元造形物の製造方法によって製造される。図1には、互いに直交するX,Y,Z方向を示す矢印が示されている。X方向及びY方向は、水平面に平行な方向であり、Z方向は、重力方向とは反対の方向である。図2以降に示すX,Y,Z方向は、図1に示すX,Y,Z方向に対応している。以下の説明において、向きを特定する場合には、矢印の指し示す方向である正の方向を「+」、矢印の指し示す方向とは反対の方向である負の方向を「-」として、方向表記に正負の符合を併用する。
【0009】
射出成形装置10は、可塑化装置110と、射出制御機構120と、型締装置130と、成形型400とを備えている。
【0010】
可塑化装置110は、第1フラットスクリュー111と第1バレル112と第1ヒーター113と第1ノズル114とを有している。第1フラットスクリュー111は、収容部101に収容されている。第1フラットスクリュー111は、スクロールあるいはローターとも呼ばれる。第1フラットスクリュー111は、駆動モーターや減速機によって構成されるスクリュー駆動部115によって、回転軸RXを中心に収容部101内で回転駆動される。本実施形態において、X方向は、回転軸RXに沿った方向である。第1バレル112の中心には、流出孔116が形成されている。流出孔116には、後述する射出シリンダー121が接続されている。流出孔116には、射出シリンダー121よりも上流部に、逆止弁124が備えられている。
(【0011】以降は省略されています)

この特許をJ-PlatPat(特許庁公式サイト)で参照する

関連特許

個人
気泡緩衝材減容装置
18日前
東レ株式会社
吹出しノズル
10か月前
豊田鉄工株式会社
金型
2か月前
シーメット株式会社
光造形装置
9か月前
CKD株式会社
型用台車
9か月前
東レ株式会社
フィルムの製造方法
3か月前
グンゼ株式会社
ピン
10か月前
東レ株式会社
フィルムの製造方法
6か月前
東レ株式会社
フィルムの製造方法
3か月前
株式会社FTS
ロッド
8か月前
株式会社カワタ
計量混合装置
4か月前
日機装株式会社
加圧システム
5か月前
個人
樹脂可塑化方法及び装置
8か月前
東レ株式会社
フィルムの製造方法。
2か月前
東レ株式会社
樹脂フィルムの製造方法
4か月前
株式会社FTS
成形装置
9か月前
トヨタ自動車株式会社
射出装置
7か月前
NOK株式会社
樹脂ゴム複合体
1か月前
株式会社シロハチ
真空チャンバ
11か月前
株式会社漆原
シートの成形方法
4か月前
株式会社不二越
射出成形機
6か月前
株式会社不二越
射出成形機
6か月前
株式会社不二越
射出成形機
1か月前
株式会社不二越
射出成形機
4か月前
株式会社不二越
射出成形機
6か月前
株式会社リコー
画像形成システム
10か月前
東レ株式会社
炭素繊維シートの製造方法
5か月前
株式会社コスメック
射出成形装置
4か月前
株式会社神戸製鋼所
混練機
8か月前
株式会社FTS
セパレータ
8か月前
株式会社バルカー
シートガスケット
13日前
日産自動車株式会社
成形装置
3か月前
トヨタ自動車株式会社
3Dプリンタ
10か月前
日東工業株式会社
インサート成形機
10か月前
コイト電工株式会社
フレーム成形品
1か月前
個人
ノズルおよび熱風溶接機
9か月前
続きを見る