TOP
|
特許
|
意匠
|
商標
特許ウォッチ
Twitter
他の特許を見る
10個以上の画像は省略されています。
公開番号
2025147712
公報種別
公開特許公報(A)
公開日
2025-10-07
出願番号
2024048097
出願日
2024-03-25
発明の名称
積層セラミックコンデンサ
出願人
株式会社村田製作所
代理人
個人
,
個人
主分類
H01G
4/30 20060101AFI20250930BHJP(基本的電気素子)
要約
【課題】高耐圧仕様の積層セラミックコンデンサにおいて、積層体に層間剥離が発生することを抑制することが可能な積層セラミックコンデンサを提供する。
【解決手段】第1の主面側外部電極411Aは、積層体10側に窪む第1の凹部510Aを有し、第2の主面側外部電極412Aは、積層体10側に窪む第2の凹部520Aを有し、第3の主面側外部電極411Bは、積層体10側に窪む第3の凹部530Bを有し、第4の主面側外部電極412Bは、積層体10側に窪む第4の凹部540Bを有する。長さ方向Lおよび積層方向Tに沿った断面視において、第1の凹部510Aと第4の凹部540Bとを結ぶ第1の仮想線100と、第2の凹部520Aと第3の凹部530Bとを結ぶ第2の仮想線200と、の交差点300は、長さ方向Lにおいて、第1コンデンサ部CAP1と第2コンデンサ部CAP2との間に位置し、外部電極40は、残留応力として引張応力を有する。
【選択図】図2
特許請求の範囲
【請求項1】
高さ方向に交互に積層された複数の誘電体層および複数の内部電極層を含むとともに、前記高さ方向に相対する第1の主面および第2の主面と、前記高さ方向に直交する幅方向に相対する第1の側面および第2の側面と、前記高さ方向および前記幅方向に直交する長さ方向に相対する第1の端面および第2の端面と、を含む積層体と、
前記積層体の前記長さ方向の両端部のそれぞれに、互いに離間して配置された一対の外部電極と、を備え、
前記内部電極層は、前記第1の端面に引き出された第1の内部電極層と、前記第2の端面に引き出された第2の内部電極層と、前記第1の端面および前記第2の端面のいずれにも引き出されない中間電極層と、を含み、
前記積層体は、
前記第1の内部電極層と前記中間電極層とが対向することによって形成される第1コンデンサ部と、
前記第2の内部電極層と前記中間電極層とが対向することによって形成される第2コンデンサ部と、を含み、
前記外部電極は、
前記第1の端面側に配置される第1の外部電極と、
前記第2の端面側に配置される第2の外部電極と、を含み、
前記第1の外部電極は、前記第1の主面側に配置された第1の主面側外部電極と、前記第2の主面側に配置された第2の主面側外部電極と、を有し、
前記第2の外部電極は、前記第1の主面側に配置された第3の主面側外部電極と、前記第2の主面側に配置された第4の主面側外部電極と、を有し、
前記第1の主面側外部電極は、前記積層体側に窪む第1の凹部を有し、
前記第2の主面側外部電極は、前記積層体側に窪む第2の凹部を有し、
前記第3の主面側外部電極は、前記積層体側に窪む第3の凹部を有し、
前記第4の主面側外部電極は、前記積層体側に窪む第4の凹部を有し、
前記長さ方向および前記高さ方向に沿った断面視において、前記第1の凹部と前記第4の凹部とを結ぶ第1の仮想線と、前記第2の凹部と前記第3の凹部とを結ぶ第2の仮想線と、の交差点は、前記長さ方向において、前記第1コンデンサ部と前記第2コンデンサ部との間に位置し、
前記外部電極は、残留応力として引張応力を有する、積層セラミックコンデンサ。
続きを表示(約 880 文字)
【請求項2】
前記第1の仮想線は、前記第1コンデンサ部における前記第2の端面側の部分と交差し、かつ、前記第2コンデンサ部における前記第1の端面側の部分と交差し、
前記第2の仮想線は、前記第1コンデンサ部における前記第2の端面側の部分と交差し、かつ、前記第2コンデンサ部における前記第1の端面側の部分と交差する、請求項1に記載の積層セラミックコンデンサ。
【請求項3】
前記中間電極層は、第1の中間電極層と、第2の中間電極層と、を含み、
前記第1の中間電極層は、前記高さ方向に隣り合って配置された前記第1の内部電極層と対向する第1電極層側対向部と、前記高さ方向に隣り合って配置された前記第2の中間電極層と対向する第1の中間電極層対向部と、を有し、
前記第2の中間電極層は、前記高さ方向に隣り合って配置された前記第2の内部電極層と対向する第2電極層側対向部と、前記高さ方向に隣り合って配置された前記第1の中間電極層と対向する第2の中間電極層対向部と、を有する、請求項1に記載の積層セラミックコンデンサ。
【請求項4】
前記中間電極層は、第1の中間電極層と、第2の中間電極層と、第3の中間電極層と、を含み、
前記第1の中間電極層は、前記高さ方向に隣り合って配置された前記第1の内部電極層と対向する第1電極層側対向部と、前記高さ方向に隣り合って配置された前記第3の中間電極層と対向する第1の中間電極層対向部とを有し、
前記第2の中間電極層は、前記高さ方向に隣り合って配置された前記第2の内部電極層と対向する第2電極層側対向部と、前記高さ方向に隣り合って配置された前記第3の中間電極層と対向する第2の中間電極層対向部とを有し、
前記第3の中間電極層は、前記高さ方向に隣り合って配置された前記第1の中間電極層と対向する第3の中間電極層対向部と、前記高さ方向に隣り合って配置された前記第2の中間電極層と対向する第4の中間電極層対向部と、を有する、請求項1に記載の積層セラミックコンデンサ。
発明の詳細な説明
【技術分野】
【0001】
本発明は、積層セラミックコンデンサに関する。
続きを表示(約 2,600 文字)
【背景技術】
【0002】
従来、高耐圧化を実現する積層セラミックコンデンサとして、直列接続の複数のコンデンサ部が形成された構造、いわゆるシリーズ構造の積層セラミックコンデンサが知られている(特許文献1参照)。
【先行技術文献】
【特許文献】
【0003】
特開平10-261546号公報
【発明の概要】
【発明が解決しようとする課題】
【0004】
シリーズ構造の積層セラミックコンデンサにおいては、直列接続されたコンデンサ部の間においても大きな電歪が発生し、積層体内において、積層体の中央から主面に向かう積層方向の力(引張応力)が発生する。さらに、外部電極が残留応力として引張応力を有する場合、積層体内において、積層体の中央から外部電極の端部に向かう力(引張応力)が残留している。これらの力のうち、積層体の中央から主面側に向かう積層方向の力が合成され、この合成された力が大きくなると、積層体の層間剥離が発生する可能性がある。
【0005】
本発明は、高耐圧仕様の積層セラミックコンデンサにおいて、積層体に層間剥離が発生することを抑制することが可能な積層セラミックコンデンサを提供することを目的とする。
【課題を解決するための手段】
【0006】
本発明の積層セラミックコンデンサは、高さ方向に交互に積層された複数の誘電体層および複数の内部電極層を含むとともに、前記高さ方向に相対する第1の主面および第2の主面と、前記高さ方向に直交する幅方向に相対する第1の側面および第2の側面と、前記高さ方向および前記幅方向に直交する長さ方向に相対する第1の端面および第2の端面と、を含む積層体と、前記積層体の前記長さ方向の両端部のそれぞれに、互いに離間して配置された一対の外部電極と、を備え、前記内部電極層は、前記第1の端面に引き出された第1の内部電極層と、前記第2の端面に引き出された第2の内部電極層と、前記第1の端面および前記第2の端面のいずれにも引き出されない中間電極層と、を含み、前記積層体は、前記第1の内部電極層と前記中間電極層とが対向することによって形成される第1コンデンサ部と、前記第2の内部電極層と前記中間電極層とが対向することによって形成される第2コンデンサ部と、を含み、前記外部電極は、前記第1の端面側に配置される第1の外部電極と、前記第2の端面側に配置される第2の外部電極と、を含み、前記第1の外部電極は、前記第1の主面側に配置された第1の主面側外部電極と、前記第2の主面側に配置された第2の主面側外部電極と、を有し、前記第2の外部電極は、前記第1の主面側に配置された第3の主面側外部電極と、前記第2の主面側に配置された第4の主面側外部電極と、を有し、前記第1の主面側外部電極は、前記積層体側に窪む第1の凹部を有し、前記第2の主面側外部電極は、前記積層体側に窪む第2の凹部を有し、前記第3の主面側外部電極は、前記積層体側に窪む第3の凹部を有し、前記第4の主面側外部電極は、前記積層体側に窪む第4の凹部を有し、前記長さ方向および前記高さ方向に沿った断面視において、前記第1の凹部と前記第4の凹部とを結ぶ第1の仮想線と、前記第2の凹部と前記第3の凹部とを結ぶ第2の仮想線と、の交差点は、前記長さ方向において、前記第1コンデンサ部と前記第2コンデンサ部との間に位置し、前記外部電極は、残留応力として引張応力を有する。
【発明の効果】
【0007】
本発明によれば、高耐圧仕様の積層セラミックコンデンサにおいて、積層体に層間剥離が発生することを抑制することが可能な積層セラミックコンデンサを提供できる。
【図面の簡単な説明】
【0008】
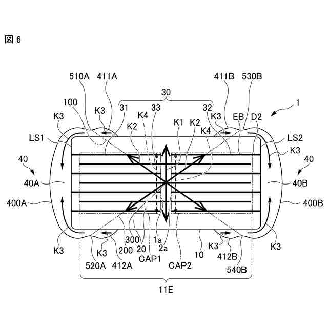
実施形態に係る2連構造の積層セラミックコンデンサの外観斜視図である。
図1のII-II断面図であって、実施形態に係る2連構造の積層体の概略構成を説明するための図である。
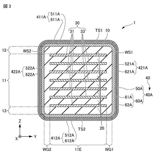
図2のIII-III断面図である。
図2のIVA-IVA断面図であって、第1の内部電極層および第2の内部電極層に沿った断面図である。
図2のIVB-IVB断面図であって、中間電極層に沿った断面図である。
実施形態の積層セラミックコンデンサの製造方法の一部を示す図であって、積層体に外部電極を形成する第1の工程を示す図である。
実施形態の積層セラミックコンデンサの製造方法の一部を示す図であって、積層体に外部電極を形成する第2の工程を示す図である。
実施形態の積層セラミックコンデンサの製造方法の一部を示す図であって、積層体に外部電極を形成する第3の工程を示す図である。
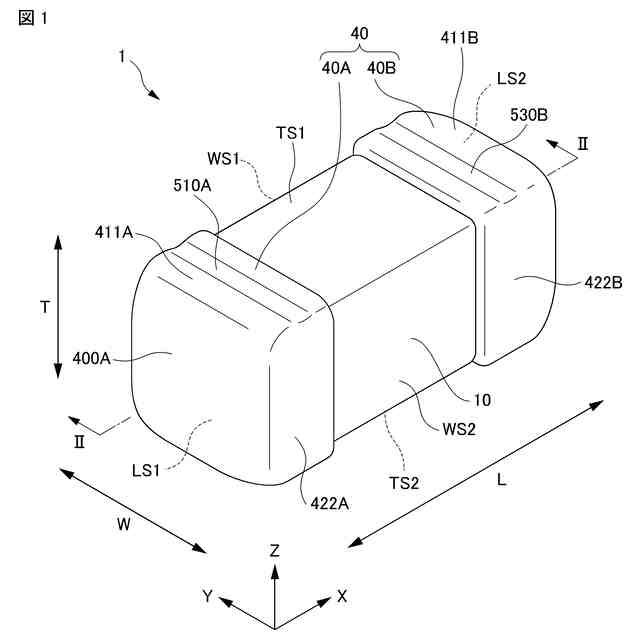
実施形態に係る2連構造の積層セラミックコンデンサを模式的に示すLT断面図であって、内部に作用する力を説明するための図である。
第1変形例に係る3連構造の積層セラミックコンデンサを模式的に示すLT断面図である。
第2変形例に係る4連構造の積層セラミックコンデンサを模式的に示すLT断面図である。
【発明を実施するための形態】
【0009】
以下、本発明の積層セラミックコンデンサの実施形態について説明するが、本発明がこれに限定されることはない。
【0010】
図面を参照しながら実施形態に係る2連構造の積層セラミックコンデンサ1について説明する。本実施形態の積層セラミックコンデンサ1は、温度変化による静電容量の変化率が小さく、フィルタや高周波回路のマッチング等に使われる温度補償用のコンデンサである。しかし、本開示の積層セラミックコンデンサ1は、これに限定されない。図1は、実施形態に係る2連構造の積層セラミックコンデンサ1の外観斜視図である。図2は、図1のII-II断面図であって、実施形態に係る2連構造の積層体の概略構成を説明するための図である。図3は、図2のIII-III断面図である。図4Aは、図2のIVA-IVA断面図であって、第1の内部電極層および第2の内部電極層に沿った断面図である。図4Bは、図2のIVB-IVB断面図であって、中間電極層に沿った断面図である。
(【0011】以降は省略されています)
この特許をJ-PlatPat(特許庁公式サイト)で参照する
関連特許
株式会社村田製作所
測定装置
1日前
株式会社村田製作所
電池パック
1日前
株式会社村田製作所
圧力センサ装置
1日前
株式会社村田製作所
電子部品包装装置
1日前
株式会社村田製作所
光学的パターン表示物品
6日前
株式会社村田製作所
積層セラミック電子部品
6日前
株式会社村田製作所
積層セラミックコンデンサ
2日前
株式会社村田製作所
二次電池および電池パック
2日前
株式会社村田製作所
高周波回路および通信装置
1日前
株式会社村田製作所
電池および電池の製造方法
6日前
株式会社村田製作所
積層インダクタの製造方法
6日前
株式会社村田製作所
二次電池および電池パック
2日前
株式会社村田製作所
光学的パターン表示システム
6日前
株式会社村田製作所
高周波モジュール及び通信装置
6日前
株式会社村田製作所
高周波モジュール及び通信装置
6日前
株式会社 東京ウエルズ
テープ送り装置及びテーピング機
2日前
日置電機株式会社
校正方法、測定装置、及びインダクタの検査方法
1日前
株式会社村田製作所
積層セラミックコンデンサ
3日前
個人
安全なNAS電池
1か月前
日本発條株式会社
積層体
10日前
東レ株式会社
多孔質炭素シート
29日前
ローム株式会社
半導体装置
8日前
エイブリック株式会社
半導体装置
1か月前
エイブリック株式会社
半導体装置
1か月前
キヤノン株式会社
電子機器
29日前
ローム株式会社
半導体装置
1日前
個人
防雪防塵カバー
10日前
ローム株式会社
半導体装置
29日前
ローム株式会社
半導体装置
8日前
ローム株式会社
半導体装置
8日前
ローム株式会社
半導体装置
6日前
株式会社GSユアサ
蓄電装置
10日前
株式会社ティラド
面接触型熱交換器
21日前
ニチコン株式会社
コンデンサ
22日前
ニチコン株式会社
コンデンサ
22日前
株式会社GSユアサ
蓄電装置
6日前
続きを見る
他の特許を見る