TOP
|
特許
|
意匠
|
商標
特許ウォッチ
Twitter
他の特許を見る
10個以上の画像は省略されています。
公開番号
2025150229
公報種別
公開特許公報(A)
公開日
2025-10-09
出願番号
2024051009
出願日
2024-03-27
発明の名称
積層セラミック電子部品
出願人
株式会社村田製作所
代理人
個人
,
個人
主分類
H01G
4/30 20060101AFI20251002BHJP(基本的電気素子)
要約
【課題】たわみ耐性の向上が可能な積層セラミック電子部品を提供する。
【解決手段】積層体10と、積層体10の両端部に配置された一対の外部電極40とを備え、外部電極40は、主面側外部電極411Aを含み、主面側外部電極411Aは、主面側下地電極層511Aと、主面側下地電極層511Aよりも上層に形成された主面側めっき層611Aと、を有し、主面側外部電極411Aは、積層体10の積層方向および長さ方向に沿った断面視において、積層体10側に窪む凹部510Aを有し、主面側下地電極層511Aは、凹部510Aに対応する凹部対応領域550と、凹部対応領域550に長さ方向で隣接する周辺領域560、570と、を有し、凹部対応領域550の金属密度は周辺領域560、570の金属密度よりも低い。
【選択図】図2
特許請求の範囲
【請求項1】
積層方向に交互に積層された複数のセラミック層および複数の内部導体層を含むとともに、前記積層方向に相対する第1の主面および第2の主面と、前記積層方向に直交する長さ方向に相対する第1の端面および第2の端面と、前記積層方向および前記長さ方向に直交する幅方向に相対する第1の側面および第2の側面と、を含む積層体と、
前記積層体の前記長さ方向の両端部のそれぞれに、互いに離間して配置された一対の外部電極と、を備え、
前記内部導体層は、
前記第1の端面に引き出される第1の内部導体層と、
前記第2の端面に引き出される第2の内部導体層と、を含み、
前記外部電極は、
前記第1の主面上および前記第2の主面上の少なくとも一方に配置された主面側外部電極を含み、
前記主面側外部電極は、
主面側下地電極層と、
前記主面側下地電極層よりも上層に形成された主面側めっき層と、を有し、
前記主面側外部電極は、
前記積層方向および前記長さ方向に沿った断面視において、前記積層体側に窪む凹部を有し、
前記主面側下地電極層は、
前記凹部に対応する凹部対応領域と、
前記凹部対応領域に前記長さ方向で隣接する周辺領域と、を有し、
前記凹部対応領域の金属密度は、前記周辺領域の金属密度よりも低い、積層セラミック電子部品。
続きを表示(約 260 文字)
【請求項2】
前記凹部対応領域の金属密度は、85%以下である、請求項1に記載の積層セラミック電子部品。
【請求項3】
前記凹部対応領域の金属密度は、60%以上85%以下である、請求項1に記載の積層セラミック電子部品。
【請求項4】
前記内部導体層は、前記第1の端面および前記第2の端面のいずれにも引き出されず、かつ、前記セラミック層を挟んで前記第1の内部導体層および前記第2の内部導体層の少なくとも一方に対向する浮き内部導体層、を有する、請求項1または2に記載の積層セラミック電子部品。
発明の詳細な説明
【技術分野】
【0001】
本発明は、積層セラミック電子部品に関する。
続きを表示(約 1,900 文字)
【背景技術】
【0002】
従来、積層セラミック電子部品として積層セラミックコンデンサが知られている。一般に、積層セラミックコンデンサは、誘電体層と内部電極層とが交互に複数積層された積層体と、積層体の両端面に設けられた外部電極と、を備えている。例えば特許文献1には、上述の構造を有し、かつ、外部電極が、焼き付けにより形成された下地電極層を含む積層セラミックコンデンサが開示されている。
【先行技術文献】
【特許文献】
【0003】
特開2003-243249号公報
【発明の概要】
【発明が解決しようとする課題】
【0004】
ところで、この種の積層セラミックコンデンサにおいては、基板へ実装する際などに、外部電極に発生するたわみ応力が積層体に伝わることによって積層体にクラック等が発生すること懸念されている。したがって、たわみ耐性が向上した積層セラミックコンデンサが求められる。
【0005】
本発明は、たわみ耐性の向上が可能な積層セラミック電子部品を提供することを目的としている。
【課題を解決するための手段】
【0006】
本発明に係る積層セラミック電子部品は、積層方向に交互に積層された複数のセラミック層および複数の内部導体層を含むとともに、前記積層方向に相対する第1の主面および第2の主面と、前記積層方向に直交する長さ方向に相対する第1の端面および第2の端面と、前記積層方向および前記長さ方向に直交する幅方向に相対する第1の側面および第2の側面と、を含む積層体と、前記積層体の前記長さ方向の両端部のそれぞれに、互いに離間して配置された一対の外部電極と、を備え、前記内部導体層は、前記第1の端面に引き出される第1の内部導体層と、前記第2の端面に引き出される第2の内部導体層と、を含み、前記外部電極は、前記第1の主面上および前記第2の主面上の少なくとも一方に配置された主面側外部電極を含み、前記主面側外部電極は、主面側下地電極層と、前記主面側下地電極層よりも上層に形成された主面側めっき層と、を有し、前記主面側外部電極は、前記積層方向および前記長さ方向に沿った断面視において、前記積層体側に窪む凹部を有し、前記主面側下地電極層は、前記凹部に対応する凹部対応領域と、前記凹部対応領域に前記長さ方向で隣接する周辺領域と、を有し、前記凹部対応領域の金属密度は、前記周辺領域の金属密度よりも低い。
【発明の効果】
【0007】
本発明によれば、たわみ耐性の向上が可能な積層セラミック電子部品を提供できる。
【図面の簡単な説明】
【0008】
実施形態に係る積層セラミックコンデンサの外観斜視図である。
図1のII-II断面図である。
図2のIII-III断面図である。
図2のIVA-IVA断面図である。
図2のIVB-IVB断面図である。
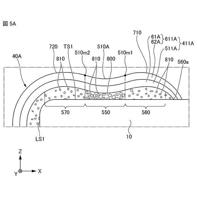
図2のVAで示す部分の拡大図であって、第1の主面側外部電極の断面を示す図である。
図5Aに対応する図であって、第1の主面側外部電極の断面を示す図である。
実施形態の積層セラミックコンデンサの製造方法を示す図であって、積層体に外部電極を形成する工程を示す図である。
実施形態の積層セラミックコンデンサの製造方法を示す図であって、積層体に外部電極を形成する工程を示す図である。
2連構造の積層セラミックコンデンサを示す図である。
3連構造の積層セラミックコンデンサを示す図である。
4連構造の積層セラミックコンデンサを示す図である。
【発明を実施するための形態】
【0009】
以下、図面を参照しながら本開示の実施形態に係る積層セラミック電子部品としての積層セラミックコンデンサ1について説明する。図1は、実施形態に係る積層セラミックコンデンサ1の外観斜視図である。図2は、図1のII-II断面図である。図3は、図2のIII-III断面図である。図4Aは、図2のIVA-IVA断面図である。図4Bは、図2のIVB-IVB断面図である。
【0010】
図1に示すように、実施形態に係る積層セラミックコンデンサ1は、略直方体形状を有している。積層セラミックコンデンサ1は、略直方体形状を有する積層体10と、積層体10の両端部のそれぞれに互いに離間して配置された一対の外部電極40と、を備えている。
(【0011】以降は省略されています)
この特許をJ-PlatPat(特許庁公式サイト)で参照する
関連特許
株式会社村田製作所
移相回路
14日前
株式会社村田製作所
二次電池
8日前
株式会社村田製作所
コイル部品
2日前
株式会社村田製作所
ネブライザ
14日前
株式会社村田製作所
電子聴診器
14日前
株式会社村田製作所
電力システム
3日前
株式会社村田製作所
電池モジュール
14日前
株式会社村田製作所
伸縮性コイル部品
1日前
株式会社村田製作所
コンデンサモジュール
14日前
株式会社村田製作所
積層セラミック電子部品
今日
株式会社村田製作所
二次電池用負極および二次電池
1日前
株式会社村田製作所
聴診デバイスおよび聴診システムに関する。
14日前
株式会社村田製作所
二次電池
10日前
株式会社村田製作所
端末装置、判定方法、コンピュータプログラム及びシステム
14日前
株式会社村田製作所
押圧位置推定システム、押圧位置推定方法、及び押圧位置推定プログラム
14日前
APB株式会社
蓄電セル
今日
東ソー株式会社
絶縁電線
2日前
個人
フレキシブル電気化学素子
14日前
日本発條株式会社
積層体
25日前
個人
防雪防塵カバー
25日前
ローム株式会社
半導体装置
23日前
ローム株式会社
半導体装置
21日前
日新イオン機器株式会社
イオン源
10日前
株式会社ユーシン
操作装置
14日前
ローム株式会社
半導体装置
23日前
ローム株式会社
半導体装置
1日前
ローム株式会社
半導体装置
23日前
ローム株式会社
半導体装置
16日前
株式会社ホロン
冷陰極電子源
8日前
太陽誘電株式会社
コイル部品
14日前
株式会社GSユアサ
蓄電装置
25日前
株式会社ホロン
冷陰極電子源
21日前
株式会社GSユアサ
蓄電装置
21日前
太陽誘電株式会社
全固体電池
21日前
個人
半導体パッケージ用ガラス基板
24日前
株式会社GSユアサ
蓄電設備
14日前
続きを見る
他の特許を見る